2022卡塔尔世界杯吸引了全球几十亿人的目光,面对如此庞大的流量和热度,有人开始坐不住了,围绕卡塔尔世界杯的周边“生意”,一波又一波地涌现。

近日,有消息称,国内有人盯上了卡塔尔世界杯的吉祥物“拉伊卜”,还将其抢先注册为商标。

经查询,11月3日,自然人王某某申请注册了一件“拉伊卜”商标,国际分类为第19类建筑材料,目前商标状态显示为“正等待受理”。
也就是说,这件商标目前还在申请过程中,根本没有成功注册。

那这件“拉伊卜”商标能注册成功吗?悬,失败的概率非常大!
卡塔尔世界杯迎来第二个比赛日,有人在场上踢球赚钱努力让家人过好的生活,有人在台下砸钱申请商标努力给自己惹麻烦,这波零分操作属实给人整笑了。
现在总有一些自以为聪明的商人,变着法儿的想“碰瓷”。
2021年东京冬奥会,中国健儿收获丰硕。国内个别企业“掐点式”把射击冠军杨倩、举重名将吕小军、跳水新秀全红婵等奥运健儿的姓名进行恶意抢注。

国家知识产权局及时出手,依法将“全红婵”等109件商标注册申请予以快速驳回。
此外,多地的市场监管部门也积极行动,对涉嫌代理恶意申请注册“全红婵”等奥运健儿商标的代理公司予以警告、处罚。
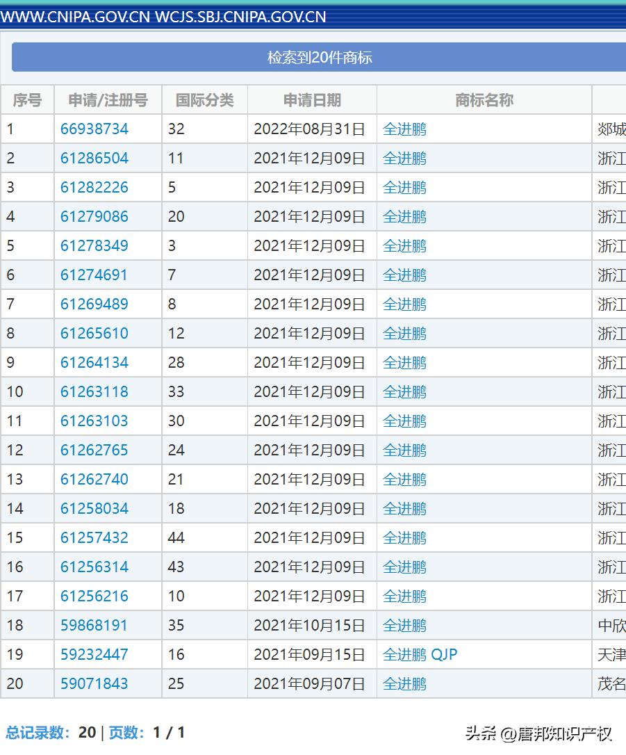
“此路不通”,就换条路。你不让我申请“全红禅”商标,那我就申请“全进鹏”试试。
检索发现,从2021年9月7日起,多家公司共申请注册“全进鹏”商标20件,指定使用在多个类别上,目前,这批商标注册申请已全部被驳回,多件商标正在进行驳回复审程序。

而驳回理由是,国家知识产权局认为:该标志中“全进鹏”为我国奥运冠军“全红婵”的弟弟,未经授权申请注册他人姓名易使消费者产生误认,不得作为商标使用。

据了解,全红婵弟弟全进鹏、妹妹全红桃都是跳水运动员,全红婵的启蒙教练曾评价全进鹏:“非常有天赋,只要继续努力,是有机会拿到世界冠军的。”
所以抢注“全进鹏”商标是在蹲一个未来的世界冠军?不得不说,这些人是懂抢注的。
看到这里,有人可能会问,万一“全进鹏”商标驳回复审成功,商标公告了怎么办?

假设“全进鹏”商标能顺利进入初审公告,相关权利人就可以在3个月的异议期内,依据《商标法》的相关规定,以损害在先权利为由提出异议。
随着《商标法》的不断完善,那些“碰瓷”的热点名称想要被核准注册,成为受法律保护的注册商标难度无异于登天。
许多申请人都是怀着美好的发财梦,砸大钱抢注热点商标,最后要么收到一纸商标驳回通知书,要么收到恶意注册商标的罚单灰溜溜地撤销商标申请。

现正值世界杯期间,我们也再提醒一下,凡与世界杯相关的标识,如世界杯的名称、会徽、吉祥物、大力神杯等等,其文字和形象均受法律保护,以其为申请对象将不被授权。(图源中国商标网截图及网络 版权归原作者所有)