如果问一个游戏玩家他最恨的是什么,答案很可能会是游戏加载的画面。

如果你不知道加载画面是什么,它是游戏在加载过程中显示的全屏画面,类似网络视频之前的广告,区别是加载画面是就算花钱也不能跳过的。
我们曾经在加载画面前抓耳挠腮,多少次在加载中又老了一岁。

假设1小时的游戏中只有1分钟的加载画面,平均每天玩两小时游戏,那么我们的一生大概会有1000多个小时就浪费在加载上了。这个时间,都够在《逆水寒》里建个角色了。
不过最近传来了不少好消息,比如《赛博朋克2077》的开发商CDPR表示游戏中将没有加载画面。看来,还有不到60年我们就可以和那可恶的加载画面说再见了。
但兴奋之余,我还有些许失落。因为在我们和加载画面斗争的那些年里,它已经逐渐成为游戏的一种个性标签了。
加载画面从哪来?
游戏的加载是与生俱来的,游戏在运行时需要加载地图、人物、脚本等资源加载到内存里,这都需要时间。
加载画面的作用一是怕加载时黑屏把玩家逼疯。另一方面也是告诉玩家,“我没死机!”
虽然加载画面并不是什么让人愉快的东西,但也算是电子游戏的一种专属印记了。

我们甚至可以广义的说,有加载画面的游戏就是电子游戏。听上去有点怪,就像是说会自寻烦恼的哺乳动物就是人类一样。
说白了,加载画面是我们获得快乐过程中必须承受之痛。
现在加载一个游戏花一分钟已经丧心病狂了。回到80年代,不知道这个速度要把多少人笑死。当时流行的游戏设备是搭载8bit微处理器和64K内存的最新一代家用电脑ZX Spectrum和C64。

那时的游戏装在磁带里。见过磁带的老年人都应该知道,磁带不是点读机,想读哪里读哪里,数据都是随磁带的转动按顺序读取的。加载时间长,还容易出错。

因此,虽然新硬件的读取速度是上一代的5倍,达到惊人的1.5kb每秒。但那时游戏的加载是非常缓慢,具体时间难以考证,也许是因为考证的人都没能活到游戏加载完毕吧。
在这么长的时间里,屏幕上必须显示点什么,多数游戏会把一些8bit原画放在加载画面供欣赏。这也是玩家唯一能在游戏中看到如此“高清”图像的时候,所以加载画面虽长,但起码也算是有些收获。

后来随着软硬件的发展,游戏设备愈发进步,尤其出现了专门玩游戏的主机之后,游戏的加载进入了一个全新的阶段。
雅达利和任天堂等厂商开始采用卡带装载游戏,卡带中装着的是可即时读取的游戏ROM,让读取速度大幅增长,再加上那时的游戏体积本就不大,所以游戏几乎不需要加载时间,自然也看不到什么载入画面。特别讲究。

但卡带存在几个问题,造价高,容量小。而游戏内容越来越多,吨位越来越大,逐渐超出了卡带的承受范围。
厂商们不得不把游戏介质从卡带变成了光盘(任天堂你走开)。需要传输的内容越来越多,读取速度却变慢了,于是加载就变得越来越长,长到已经影响正常游戏的程度了。

玩家的审美也进步了,不能像以前那样用一张图片就打发了。于是游戏开发者们开始用一些更聪明的方法,来掩饰这尴尬的等待。
百家争鸣
不少游戏的加载画面是简单粗暴的黑屏加Loading的组合,有时还加上一个旋转的logo,正着转完反着转,转了X轴转Y轴。制作上自然方便省事,但如果时间稍微长一点,玩家会很不耐烦。
加载画面需要做出改变,这就不能不提《生化危机》系列。在最初几代中,进入新房间会出现开门的动画。这些动画其实就是为了掩藏加载画面,但却和游戏的恐怖主题相得益彰,门后未知的恐惧为游戏增色不少,是加载画面史上不能不提的经典。

后来的作品不用每次进入新地图都载入一次了,开门动画也被取消了。虽然玩的时候流畅了许多,但当初那种等待与未知的恐惧却无处填补了。
有的游戏返璞归真,就给你一张原画和一段BGM,最典型的就是《GTA》系列了。每次它都给我们非常充足的时间来欣赏那精美的原画。

可时间长了,再精美的图也看腻了。于是有些游戏开始在此基础上加入一些文字供阅读,比如游戏小贴士。
这种方式省时省力,而且还有一定的功能性,因此被游戏制作者们广泛采纳。如今依然有很多游戏在使用这种加载画面,比如《塞尔达传说:荒野之息》、《怪物猎人:世界》等。

小贴士听起来不错,但几乎所有的小贴士告诉你的都是些基本操作,什么A键跳跃B键闪避。如果人生有加载画面,上面的小贴士大概就是多喝热水、少吃冷饮这种吧。

既然贴士的意义不大,那就放一些更有意义的文字,比如剧情和背景介绍。
这在一些注重背景设定的游戏中常见,在打发了加载时间的同时也补完了世界观。不过有些游戏好像把重点搞错了,比如《龙腾世纪:审判》恨不得把游戏的资料库搬到了加载画面,看了就让人头晕眼花打哈欠。

相比之下《上古卷轴5》就友好得多,让玩家在加载画面查看游戏内的模型,同时介绍一些相关的背景,图文并茂。不过对于喜欢Mod的玩家来说,这个加载画面更重要的意义在于,它教会了我们享受闪退之前的那片刻宁静。

还有的制作人直接把加载画面变成了游戏的有机体,这个方面我觉得《地铁》系列就设计得很好。主角会通过语音补充关卡之间的剧情,有时候即使加载完毕我也会看完剧情再继续。制作者没能把游戏做成无缝的开放世界,在关卡之间补充剧情其实是无奈之举,但恰到好处的处理让人忘记了设计上的不足,反倒有一种追剧的感觉,剧情是随着每个加载画面一点点的推进。

不过《地铁》里文字加朗读的形式确实显得有些寒酸,更大成本的游戏会再加上影像保持玩家大脑的兴奋。
《使命召唤》往往会在加载中*放播**一段任务简报,这种炫酷的设计效果很好,我记得当年还在中二期的自己每次都看得津津有味。

《巫师3》在每次载入时会有一段剧情简介,让玩家回忆起主线,这点很贴心,因为多数人会沉迷昆特牌,而完全忘了自己在哪,自己是谁以及自己要干什么。

玩个小游戏
加载画面有太多的变化,但上面的这些例子中玩家始终是被动的接受信息,脱离了互动的主题。有人专门制作了Mod来跳过《巫师3》加载时的剧情介绍,已经被*载下**超过13万次。只要是加载画面,玩家就不会完全满意。除非他们能参与其中。

于是有人想到在游戏的加载画面里再加入了一个游戏。1993年南梦宫(Nnmco)在《山脊赛车》的加载画面中放置了经典游戏《小蜜蜂》,打通《小蜜蜂》还能解锁12辆赛车。这让30秒的加载时间过得异常快速,最终反响非常好。

南梦宫不是第一个把小游戏作为加载画面的厂商,但却是第一个为此申请专利的厂商,1995年南梦宫成功为小游戏加载画面申请了专利,也就是“臭名昭著”的US 5718632号专利。
所以直到2015年专利过期,小游戏加载画面都是南梦宫游戏的祖传秘方。有人说是南梦宫阻碍了加载画面的进步,但实际上可能恰恰相反。

一个专利没法锁死游戏设计师们的创意。
南梦宫的专利中小游戏和主游戏的代码是分开的两个游戏,于是很多人就钻了这个空子。先把主游戏的部分代码载入,变成一个小游戏。
比如《猎天使魔女》在加载过程中会进入自由模式,让玩家练习骚操作。《刺客信条》在加载中也会进入类似的自由模式,让玩家在Animus的云端跑到天荒地老。《FIFA》的加载中则可以练习各种足球技术。

另一种小游戏则是偷换了的概念,并不是严格意义上的游戏,只是让玩家的手可以不闲着。比如《鬼泣》可以在加载中按攻击键疯狂虐待Loading标志,发泄心中的不快。《大神》中可以在加载画面上按脚印,有效减压。

一千个制作人有一千种加载画面,因为和游戏主体无关,加载画面成了制作人们发挥创意的地方。
在南梦宫持有专利的20年中,人们的创意反而被激发了出来,脑洞大开的创意层出不穷,设计师们把加载画面变成了表达自我的画布,在上面肆意挥洒着自己的私货。
加载画面变成了游戏密不可分的组成部分,是被游戏人驯化的性格延伸。
消除加载画面之路
过去几十年中,人们找出了无数种应对加载的方法,但终归没能解决真正的问题。不论是静态画面还是动态影像甚至小游戏,人们始终还是对加载画面耿耿于怀。它就像是一只你多看了一眼的蚊子,只要一天没被消灭,就一直会让你惦记着。

玩家厌倦了等待,而且随着开放世界游戏的盛行,加载画面已经没有容身之地,因为它会中断沉浸式的体验,极大的影响游戏的流畅性。于是游戏设计者开始想出了各种方法消灭加载画面。
世上最好骗的就是我们的眼睛,消灭加载画面其实不难,只要把它藏起来就好了。
2005年的《托尼霍克滑板:美国荒野》就直接将无加载画面做为游戏的卖点,称玩家可以体验无缝探索LA的快感。但它其实并非是一个大型的开放世界,而是把地图的各个区域通过一个长长的通道相连接。

其实这个通道就是把玩家置于一个封闭空间里,然后趁机加载地图,本质上和《刺客信条》的自由漫步模式是一个道理。但至少玩家不必进入一个专门的加载画面了,过程更合理、真实。

除了这种连接的通道外,类似用来隐藏加载画面的障眼法很多,比如电梯、缆车、狭小过道等等,在这些地方玩家前进的速度会被限制,给游戏充足的加载时间,虽说这样的设计看似无缝,可是设计得不好容易弄巧成拙。
《质量效应》初代就因为有太多的电梯被玩家频频吐槽,其实电梯外面是怎么回事大家心里都明明白白的。

进入PS4\Xbox One时代,游戏主机的机能再次提升,设计者们有了更多的方式去消除加载画面。
拿最近的《战神》举例,除了最初进入游戏和快速移动之外,已经没有了加载画面。其实我们仔细找,还是能发现被巧妙隐藏的加载画面,比如切换世界时缓慢转动的转盘,联通传送门之间的神秘空间,进入剧情前故意放慢的脚步,只不过制作组利用镜头和剧情演出让这个过程更加的自然。

为消除加载画面,游戏会在你移动的同时加载远处的地图。《战神》这样的游戏相对线性,很多时候加载的时机可以通过脚本控制,但在更开放的游戏中,这就比较困难了。因为在开放世界中,很难预测玩家的行为,并准确加载需要的数据。
而《巫师3》几乎做到了这一点,初次进入游戏后几乎就没有加载画面了,无论进入房屋、发生剧情或是战斗,都是无缝衔接的。为此CDPR专门设计了一种特别的环境随机生成曲线,可以根据周围的环境快速生成地图,大幅降低了加载时间和所需内存。

可以看出消除加载画面不是那么容易的,随着玩家的移动,提前渲染周围的世界,这在今天也是很难实现的高级技能,但神奇的是顽皮狗早在PS2时代就做到了。
2001年的古惑狼精神续作《杰克和达克斯特:祖先遗产》就是一个没有加载画面的开放世界游戏。

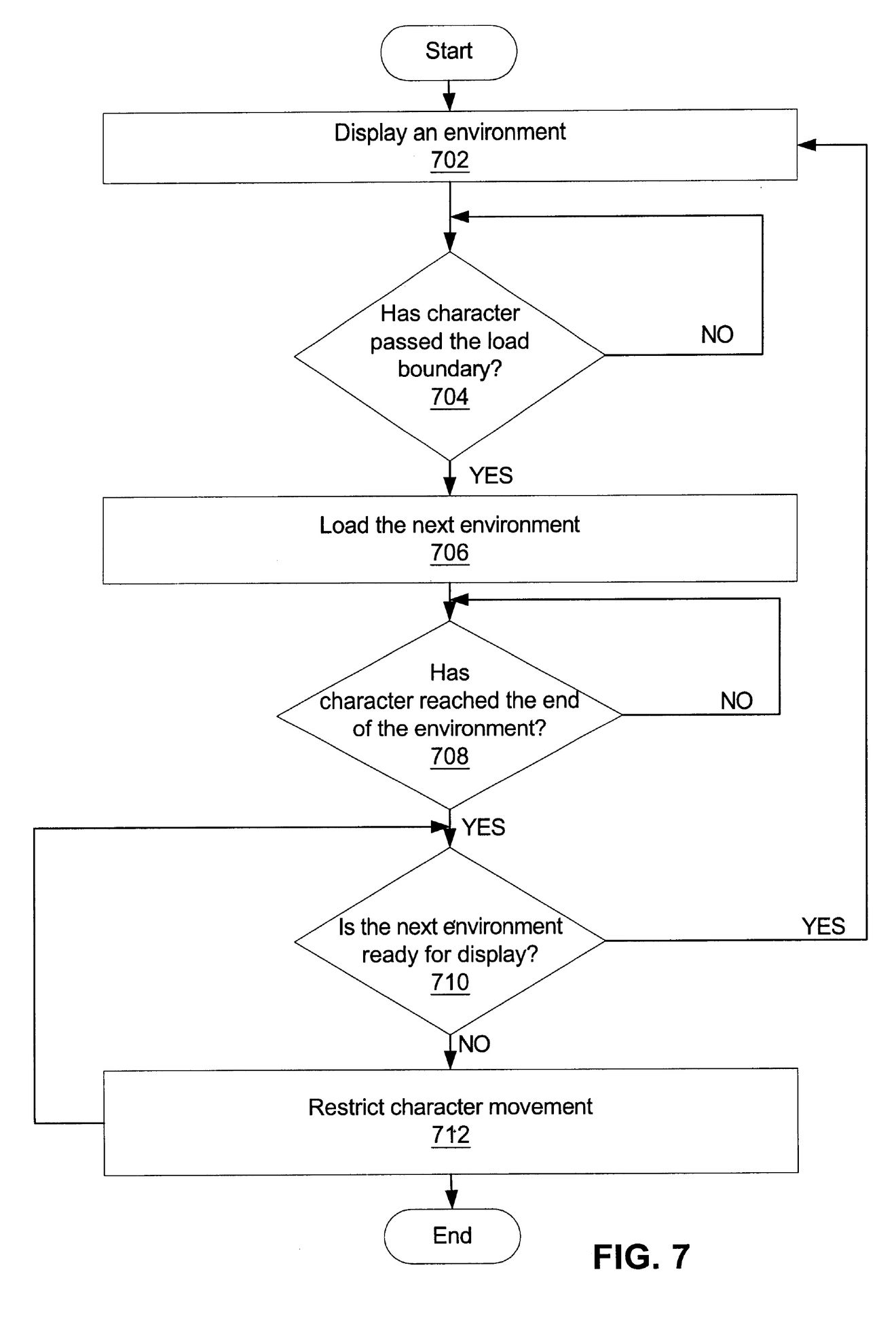
实现的方法是在游戏中设置一系列载入边界,当玩家越过这些边界时,游戏将提前预载接下来的地图。如果玩家走得太快,游戏还会故意让角色被绊倒,拖延时间。
听上去很直接,但为了这套系统,顽皮狗付出的心血是难以想象的。

也许你听说过为了一款游戏而制作引擎的,但顽皮狗更加疯狂,为了这款游戏,他们干脆写了一套编程语言。
这个名为“Game Oriented Assembly Lisp”(简称GOAL)的编程语言专门为《杰克和达克斯特:祖先遗产》这款游戏打造。通过某种我完全无法理解的原理,GOAL语言编写的程序可以任意替换代码,而不会造成主程序的混乱,也不会出现新的bug。

所以游戏可以根据玩家的位置随时调用数据,实现之前说的无缝体验,顽皮狗将其称为“动态载入”的技术,这项技术的专利权至今还在索尼的掌握中,给之后的游戏提供了宝贵的参考。
《杰克和达克斯特:祖先遗产》开发了3年,单是制作引擎就用了20个月。最终呈现出的效果就是完全没有间断的游戏体验,顽皮狗在17年前完成了一个看似不可能的壮举,只是因为加载画面。
终于要说再见“《赛博朋克2077》将没有载入画面;Bethesda新作《狂怒2》将没有载入画面”,这样的新闻最近多了不少。

仿佛没有载入画面已经是成功3A游戏的标配,甚至一些小成本独立游戏也开始追求无载入的游戏体验。
在这种情况下,未来的游戏能实现完全没有载入画面吗?也许吧,我们会得到更流畅、更快节奏的游戏体验。从技术角度,那会是效率更高,更完善的游戏。但也许也会少了一些顿挫和期待,少了一些性格和脾气。
不知是不是错觉,最近的游戏的加载画面越来越不走心了,形式上很少有新的变化。

相比于庞大、复杂的游戏内容,加载画面已不那么重要,不值得投入太多精力去琢磨。
所以从过去的百花齐放到现在的高效简约,未来的游戏可能只有两种:有加载画面的和没有加载画面的。
在技术成熟之后,消除加载画面的成本将越来越低,最终会低于隐藏它们的成本。再也不会有人费心思去在意加载画面是否吸引人,与其把它们弄得花哨,不如直接消灭。
我们深恶痛绝的加载画面也许终于要消失了。

科技提高了效率,秩序取代了混乱,这就是进步。
我们不会挽留落后的东西,就像我们不会挽留被清扫的灰尘一样。但当我们用科技、理性冲刷掉旧事上的灰尘时,一些闪光的东西也一并随着时代流进了下水道。
未来的某一天,当我们回到像实验室一样干净的家里,呼吸着毫无杂质的空气,也许会觉得当初向往更好生活的那种热情,多亏了空气中混杂着的那些灰尘。