1 体育场灯具宜采用下列布置方式:
1 两侧布置:灯具与灯杆或建筑马道结合,以连续光带形式或簇状集中形式布置在比赛场地两侧;
2 四角布置:灯具以集中形式与灯杆结合布置在比赛场地四角;
3 混合布置:两侧布置和四角布置相结合。
2 足球场灯具布置应符合下列规定:
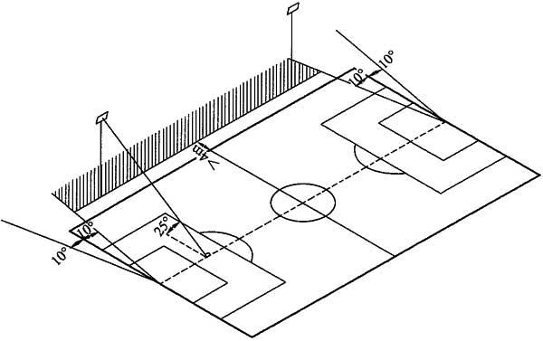
1 无电视转播时宜采用场地两侧或场地四角布置方式,并应符合下列规定:
1)采用场地两侧灯杆布置方式时,灯具不宜布置在球门中心点沿底线两侧10°的范围内,灯杆底部与场地边线之间的距离不应小于4m,灯具高度宜满足灯具到场地中心线的垂直连线与场地平面之间的夹角不小于25°(图6.2.2-1);
2)采用场地四角布置方式时,灯杆底部到场地边线中点的连线与场地边线之间的夹角不宜小于5°,且灯杆底部到底线中点的连线与底线之间的夹角不宜小于10°,灯具高度宜满足灯拍中心到场地中心的连线与场地平面之间的夹角不小于25°(图6.2.2-2);

6.2.2-1 无电视转播时足球场两侧灯杆布置灯具位置
图6.2.2-1 无电视转播时足球场两侧灯杆布置灯具位置
注:图中阴影区域为允许安装位置。

6.2.2-2 无电视转播时足球场四角布置灯具位置
图6.2.2-2 无电视转播时足球场四角布置灯具位置
注:图中阴影区域为允许安装位置。
3)采用场地两侧马道布置方式时,灯具不宜布置在球门中心点沿底线两侧10°的范围,以及*禁大**区两端外侧20°范围内(图6.2.2-3)。

6.2.2-3 无电视转播时足球场场地两侧马道布置灯具位置
图6.2.2-3 无电视转播时足球场场地两侧马道布置灯具位置
注:图中阴影区域为允许安装位置。
4)灯具瞄准角均不应大于70°。
2 有电视转播时宜采用场地两侧、场地四角或混合布置方式,并应符合下列规定:
1)采用场地两侧布置方式时,灯具不应布置在球门中心点沿底线两侧15°以及*禁大**区两端外侧20°范围内(图6.2.2-4、图6.2.2-5);
2)采用场地四角布置方式时,灯杆底部到场地边线中点的连线与场地边线之间的夹角不应小于5°,且灯杆底部到底线中点的连线与底线之间的夹角不应小于15°,灯具高度应满足灯拍最低一排灯具到场地中心的连线与场地平面之间的夹角不应小于25°(图6.2.2-6)。
3)采用混合布置时,灯具的位置及高度应同时满足两侧布置和四角布置的要求。

6.2.2-4 有电视转播时足球场两侧单排布置灯具位置
图6.2.2-4 有电视转播时足球场两侧单排布置灯具位置
注:图中阴影区域为允许安装位置。

图6.2.2-5 有电视转播时足球场两侧双排布置灯具位置
注:图中阴影区域为允许安装位置。
4)任何照明方式下,灯杆的布置均不应妨碍观众的视线。

6.2.2-6 有电视转播时足球场四角布置灯具位置
图6.2.2-6 有电视转播时足球场四角布置灯具位置
注:图中阴影区域为允许安装位置。
5)灯具瞄准角均不应大于65°。
3 田径场的灯具布置宜采用两侧布置、四角布置或混合布置方式。
4 网球场灯具布置应符合下列规定:
1 对没有或只有少量观众席的网球场地,宜采用场地两侧灯杆布置方式,灯杆应布置在观众席的后侧;对有观众席、有较高挑篷且灯杆无法布置的网球场地,宜采用场地两侧马道布置或与观众席上方的顶棚结合布置。
2 采用两侧灯杆布置方式时,灯杆的位置应满足图6.2.4-1的要求。
3 场地两侧宜采用对称的灯具布置方式,提供相同的照明。
4 灯具的安装高度应满足图6.2.4-2的要求,比赛场地灯具高度不应低于12m,训练场地灯具高度不应低于8m。
5 游泳场宜采用两侧布置或混合布置方式,灯具瞄准角宜为50°~60°。
6 曲棍球场灯具布置应符合下列规定:
1 使用两侧灯杆布置方式时,宜采用6杆或8杆,灯杆底部与场地边线之间的距离不应小于4m,灯杆底部与底线之间的距离不应小于5m,灯具高度宜满足灯具到场地中心线的垂直连线与场地平面之间的夹角不小于25°(图6.2.6-1);

6.2.4-1 网球场灯杆位置
图6.2.4-1 网球场灯杆位置

6.2.4-2 网球场灯具高度
图6.2.4-2 网球场灯具高度
A-灯杆距场地中心线的距离
2 采用四角布置时,灯具的位置应满足图6.2.6-2的要求,灯杆应布置在阴影范围内,灯具高度宜满足灯具到场地中心的连线与场地平面之间的夹角不小于25°;
3 采用场地两侧马道布置时,灯具的高度宜满足灯具到场地中心线的垂直连线与场地平面之间的夹角不小于25°;

6.2.6-1 曲棍球场地两侧灯杆方式的灯具布置位置
图6.2.6-1 曲棍球场地两侧灯杆方式的灯具布置位置

6.2.6-2 曲棍球场地四角灯杆方式的灯具布置位置
图6.2.6-2 曲棍球场地四角灯杆方式的灯具布置位置
注:图中阴影区域为允许安装位置。
4 采用混合布置时,应同时满足本条第2款和第3款的要求。
7 棒球场灯具布置应符合下列规定:
1 棒球场灯具宜采用6根或8根灯杆布置方式,也可在观众席上方的马道上安装灯具;
2 灯杆应位于四个垒区主要视角20°以外的范围,灯杆不应布置在图6.2.7中的阴影区;

棒、垒球场灯杆位置
图6.2.7 棒、垒球场灯杆位置
○-灯杆;1-内场线;2-围栏线;3-场地面积限制时的边线
3 灯杆高度宜满足灯具瞄准角不大于70°。
8 垒球场灯具布置应符合下列规定:
1 垒球场宜采用不少于4根灯杆布置方式,也可在观众席上方的马道上安装灯具;
2 灯杆应位于四个垒区主要视角20°以外的范围,灯杆不应设置在图6.2.7中的阴影区;
3 灯杆高度宜满足灯具瞄准角不大于70°。
9 橄榄球场灯具布置应符合下列规定:
1 无电视转播时宜采用场地两侧或场地四角布置方式,并应符合下列规定:
1)灯杆应位于边界围栏外且距边线不应小于5m;
2)采用场地四角布置方式时,灯具的位置应满足图6.2.9-1的要求,灯杆应布置在阴影范围内,灯杆高度宜满足灯拍中心到场地中心的连线与场地平面之间的夹角不小于25°;

6.2.9-1 无电视转播橄榄球场地四角灯杆方式灯具布置位置
图6.2.9-1 无电视转播橄榄球场地四角灯杆方式灯具布置位置
1-达阵区;2-场地区
注:图中阴影区域为允许安装位置。
3)采用场地两侧布置方式时,灯具位置应满足图6.2.9-2的要求,灯具瞄准角不宜大于70°。
2 有电视转播宜采用场地两侧布置方式,灯具位置应满足图6.2.9-3的要求,灯具瞄准角不应大于65°。

6.2.9-2 无电视转播时橄榄球场地两侧灯具布置位置
图6.2.9-2 无电视转播时橄榄球场地两侧灯具布置位置
1-达阵区;2-场地区
注:图中阴影区域为允许安装位置。

6.2.9-3 有电视转播时橄榄球场地两侧灯具布置位置
图6.2.9-3 有电视转播时橄榄球场地两侧灯具布置位置
1-达阵区;2-场地区
注:图中阴影区域为允许安装位置。
10 马术场宜采用两侧布置或混合布置方式,灯具安装高度不宜小于12m。
11 高尔夫球场灯具布置应符合下列规定:
1 发球台、球道灯杆高度不宜低于15m,果岭灯杆高度不宜低于18m;
2 灯具投射方向与球道方向保持一致,果岭灯具瞄准角不宜大于65°;
3 灯杆间距不宜超过灯杆高度3倍。
12 自由式滑雪场、单板滑雪场灯具布置应符合下列规定:
1 自由式滑雪、单板滑雪全赛道应设置照明;
2 场地宜采用灯杆照明。
13 跳台滑雪场灯具布置应符合下列规定:
1 跳台滑雪全赛道应设置照明(图6.2.13-1、图6.2.13-2);

6.2.13-1 跳台滑雪场地照明灯具布置(侧视图)
图6.2.13-1 跳台滑雪场地照明灯具布置(侧视图)
1-助滑区;2-跳台区;3-飞行区;4-着陆区;5-终止区

6.2.13-2 跳台滑雪场地照明灯具布置(俯视图)
图6.2.13-2 跳台滑雪场地照明灯具布置(俯视图)
2 跳台区、飞行区、着陆区及终止区宜采用高杆照明;
3 助滑区宜采用与高杆照明相同色温的LED灯。
6.2.14 雪车、雪橇场地灯具布置应符合下列规定:
1 场地宜采用灯杆照明;
2 灯具沿赛道方向应有宽配光,并应控制上射光通。
以上内容来中华人民共和国行业标准体育场馆照明设计及检测标准(JGJ 153-2016)
