12月19日,在2022卡塔尔世界杯决赛上,阿根廷队战胜法国队夺得第三座冠军,这也是梅西参加这么多次世界杯以来第一次捧起世界杯冠军,完成了足球历史上的首个超级大满贯,并拿到了本届世界杯金球奖。此役过后,梅西正式加冕为继贝利和迭戈之后的第三代球王,登上他的职业巅峰。

“梅西”这个名字在互联网上回响不决的同时,相关的商标注册也越发火热。一些商家为谋取不当利益,对“拉伊卜、世界杯、球王梅西、梅西先生、大力神杯”等热词、标志进行商标恶意抢注,这些申请均被国家知识产权局驳回。
在商标局网站检索之后,“梅西”相关商标高达数百件,例如“球王梅西”“梅西先生”“梅西石代”等,都在被驳回商标注册申请名单之列,它们的申请日期从2021年10月到2022年11月12日不等。《商标法》明确规定,“申请注册和使用商标,应当遵循诚实信用原则”,“不得以不正当手段抢先注册他人已经使用并有一定影响的商标”,这些商标的结果可想而知。

那,如果是梅西本人申请呢?
照样驳回!
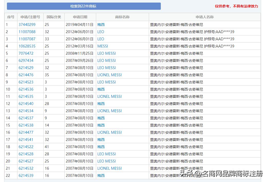
以“里奥内尔·安德雷斯·梅西·古奇蒂尼”为申请人搜索发现,梅西自己在中国申请的商标达到22件。其中就有注册失败的,如在一份申请/注册号为37440299、申请日期为2019年4月11日的“梅西”商标注册申请中,商标状态显示为“驳回复审中”,驳回复审的时间为2020年5月27日。当然,也有注册成功的。

是什么原因,让梅球王申请自己的中文姓名商标,却遭驳回?

商评字[2020]第0000115492号驳回复审决定书显示,梅西申请的“梅西”商标,因为与第973175号商标、第36829343号商标、第16995588A号商标、第16991935A号商标四件引证商标构成近似商标,因此在实质审查阶段被驳回。

综上显著部分都是一样,没有办法区别开,易引起相关公众的混淆和误认,所以因近似被驳回了,作了驳回复审也是没有成功。

世界杯作为全球性的重大赛事,毫无疑问就处于国家重点关注的领域内。相关职能部门三令五申,不要恶意抢注与世界杯相关的热词、标志,可有的申请人非是抱着侥幸心理想要一试,哪有那么容易办到。恶意抢注体育赛事/奥运赛事热词、标志、运动健儿、体育明星姓名这股“不良之风”该刹住了,风清气正的商标注册秩序亟待构建。
我们也再次提醒一下,在国家严厉打击商标恶意注册行为的大背景下,申请人一定要确保商标申请行为在法律框架之内进行,必须是合法、正当、合理的。申请人在看球赛的同时,切勿打“擦边球”!