2020年的中国制造到底是什么水平以及国产化思考!
这篇简单的聊聊2020年中国制造在世界的地位,以及对国产化方向的思考,我们并不是所有方向都需要国产化,总共大约15000字。
这几天,关于全球制造业四个梯队的话题又在网上火了起来,
说是工信部部长说“中国制造”不像我们想象那么强大,西方工业,也没有衰退到依赖中国。我们的制造业还没有升级,制造业者已开始撤离”,当然了我在两年前就专门考证过,四个梯队的划分是存在的,其实部长并没有说过粗体的这句话,是有的网友为了传播自己的观点,而自行加上去的。
其实想想也可以知道,中国哪个官员会说“制造业者已开始撤离”?
官方的报道和讲话一贯是会给人信心的,怎么可能说“大家听好啦,中国制造不强大,还没有升级,制造业已经撤离啦,天朝药丸啦!”事实上这也是全球官方的套路,那就是官方会给民间信心,以维持经济的持续发展。
你听过特朗普说“美国疫情在不断爆发,已经不受控制了,美国制造业还没有回流,而国内制造业已经开始从美国撤离”吗?
要是美国联邦政府官宣疫情失控,制造业撤离,你看第二天美国股市,投资者,企业主和个人会是什么反应,这是不利于社会经济稳定的。
关于工信部四个梯队的原始报道,是来自2015年11月17日的《人民政协报》第05版,电子版在工信部网站上可以找到。
http://www.miit.gov.cn/newweb/n1146285/n1146347/n1147601/n1147604/c4431454/content.html

里面关于四个梯队是这样描述的:
目前,全球制造业已基本形成四级梯队发展格局。
第一梯队是以美国为主导的全球科技创新中心。
第二梯队是高端制造领域,包括欧盟、日本。
第三梯队是中低端制造领域,主要是一些新兴国家。
第四梯队主要是资源输出国,包括OPEC(石油输出国组织)、非洲、拉美等国。
“毫无疑问,世界各国都在争相介入新一轮国际分工争夺战中,随着比较优势逐步转化,全球制造业版图将被重塑。作为全球科技创新中心,美国在制造业基础及最前沿科技创新方面仍将处于领先地位。第二梯队中,德国、日本等国家地位将进一步巩固,一些后发国家有望通过技术、资本和人才积累,通过产业升级进入这一梯队。第三梯队中,大量的新兴经济体通过要素成本优势,积极参与国际分工,也将逐步纳入到全球制造业体系。”
苗圩表示,“中国现在处于第三梯队,目前这种格局在短时间内难有根本性改变,面对技术和产业变革及全球制造业竞争格局的重大调整,我国既面临重大机遇也面临重大挑战,当然机遇大于挑战,经过若干阶段的努力,提升位次完全有可能,希望到新中国成立100年时,把我国建设成为引领世界制造业发展的制造强国,为实现中华民族伟大复兴的中国梦打下坚实基础。”
看到了吗,以上才是部长的原话,也就是三段论,
第一段是承认差距,第二段是分析机遇大于挑战,第三段是强调发展目标和表达实现目标的信心。
这个四个梯队的提法,虽然苗部长提到这点是2015年,但是其实是更早之前由国内学界提出来的。
现在已经2020年了,我们来看下当今的中国制造在世界是什么位置。
在今天,不管是在知乎,微博还是在微信公众号,
如果我们发个问题,还有哪些领域中国是大量依赖进口的?
那么回答一般会让人觉得沮丧,觉得差距实在太大了,究竟要多久才有可能赶上制造业先进国家。
最为简单的,我们在实验室做实验用的移液枪,国产的就很不好用,都需要用进口的,因为要求移液枪能够的精准的控制量,其他实验用的化学试剂,酶,高精度高低温柜,精密显微镜等等,也同样大量依赖进口。
我们电子产品里面最为大量使用的被动元件(电容,电阻,电感),是数量最多的元器件,也同样大量需要从日本等国进口,国产的在小尺寸大容量,稳定性上都有较大差距。
我们在机械产品领域,对使用环境有较高要求的高端螺丝,螺钉,液压系统(包括泵、阀、油缸、马达等核心元件)都需要大量从日本,德国等进口。
再比如说轴承,这玩意儿光看名字可能看不出来是什么东西,就是应用在支撑机械旋转的领域,例如风力发电机,自行车,摩托车,高铁,电动机,乃至于建筑物的旋转门。

而这个东西全球主要份额仍然主要在欧洲和日本手里,最为简单的,过去十来年我国高铁使用的轴承,全部都是进口的,因为高铁列车对在超高速度下的使用寿命,质量有着苛刻的要求,我们一直说高铁已经实现全国产化了,但是有点遗憾,直到2020年的今天,事实上还没有100%实现,轴承就是个短板。
中国制造业并不是在所有领域都战无不胜,我国的机床行业就是典型,发展了这么多年,距离德国和日本全球两强依然差距巨大,作为国产机床的几家龙头企业全部发展不利,
沈阳机床,大连机床,秦川机床是国内机床销售额排前三位的企业。
沈阳机床曾经一度在2011年以超过180亿人民币的营收成为全球规模最大的机床企业,
然而在2018年营收只有50.15亿元,归属于上市股东的净利润为-7.88亿元。截止2018年末,公司总资产203.92亿元,但是由于负债累累,归属于上市股东的净资产仅仅为6,730.95万元。
另外一家曾经是全球十强,和沈阳机床并列为中国最大的两家机床企业之一的大连机床更是直接破产了,
从下图可知,大连机床曾经在2012年一度达到一年184.65亿人民币的营业收入的顶峰,而后就开始逐渐萎缩。

2017年11月,大连机床被法院裁定破产重整,债权人申报债权总额达224.22亿元,
更搞笑的是,2018年5月大连机床董事长陈永开因为骗取*款贷**被公安部列为*级A**通缉犯,
要知道在2006年,大连机床全年销售额9.35亿美元,在美国金属协会“世界机床500强”排名第8,这可是一家曾经是全球前十位的机床明星企业。

在2017年,如果不考虑大连机床破产的话,那么秦川机床是国内市场份额排名第三,仅次于沈阳机床和大连机床的巨头,如果不算没有上市的大连机床的话,那么秦川机床是A股的第二大机床企业,
但是地处西北的秦川机床,作为一家A股上市公司,从2013年至2018年这5年间,只有一年销售净利润是正的,而且利润率也仅有1.27%,其余都处于亏损状态。
秦川机床公司2018年实现营业总收入31.9亿人民币,同比增长6.3%;实现归属于母公司所有者的净利润-2.8亿,上年为1645.5万元,未能维持盈利状态。
一年区区30亿人民币多点的销售额,已经是中国第二大机床企业了,秦川机床的营业收入变化情况,2018年的31.9亿元销售额还没有2013年的销售额34.1亿元高。
试想一下,如果你是一家211或者985毕业的优秀机械毕业生,你会不会去西北的秦川机床为国产机床事业奉献青春,应该会觉得很犹豫吧。
一个行业前三位的龙头企业在过去的10年都是这种表现,你能说整个行业是成功的吗?
以上的例子,实际上只是冰山一角,
我们的精细化工工业,具体到消费者日常使用的化妆品,护肤品,几乎是清一色的欧洲,日本,韩国的品牌。
2019年的双十一,天猫上的护肤品销售金额前五名都是外资品牌。

而彩妆的TOP10品牌有9个是外资。

在更多的领域,我们还能举出大量的例子,
比如在贸易战开始之后被全国人民关注的芯片制造的最高技术设备—光刻机需要从荷兰ASML进口,而我国目前最高水平的光刻机仅为90nm,
OLED显示面板用的蒸镀机则需要从日本CANON TOKKI进口,
其他如半导体的材料,包括硅片,光刻胶,特种气体,抛光液,清洗液,掩膜版等都需要依赖进口。这个依赖进口的清单,我们还可以列出长长的一串,越看越会觉得有点沮丧。
毕竟从1949年开始我们搞工业化已经70年了,改革开放也已经40年了,怎么差距还这么大呢?
我们该如何正确的在心中描绘出中国制造在世界地位的地图呢?
我们从以下三个方面来看,
第一点就是心中要有一个宏观的认识,如果中国制造是一支大部队,在进行一场大型的战役,前面有100个进攻方向,当然不可能每个进攻方向都战无不胜,都推进顺利,我们需要先知道总体进攻态势如何。
我们看下过去十年,中国制造业和发达国家竞争的总体情况,我们可以登录世界银行数据库。
https://data.worldbank.org.cn/indicator/NV.IND.MANF.CD?end=2018&locations=CN-JP-US-DE&start=2000&view=chart
可以看出,中国制造业增加值的关键节点如下:
2004年超过德国,2007年超过日本,2010年超过美国。
2014年以3.184万亿美元首次超过美国和日本之和,
这一年的美日之和为2.9961万亿美元,其中美国2.039万亿美元,日本9570.5亿美元
2017年美日德三国制造业之和为3.985万亿美元,而中国在第二年(2018年)为4.003万亿美元,也就是说在2018年中国制造业增加值已经和2017年美日德三国之和差不多。
由于中国制造业的发展速度明显快于这三个国家,因此我们可以很肯定的说,
2019年中国制造业的增加值已经超过了美日德三国之和了。

我们继续进一步探讨,从2008年到2017年,中国制造的全球份额上升,究竟是抢夺了谁的份额,这对我们了解中国制造的产业升级是非常重要的,我们的全球份额上升,
是因为纯粹的横向扩大产业规模,和同级别的发展中国家竞争获胜带来的,
还是因为产业升级,也就是挤占了发达国家的份额带来的?
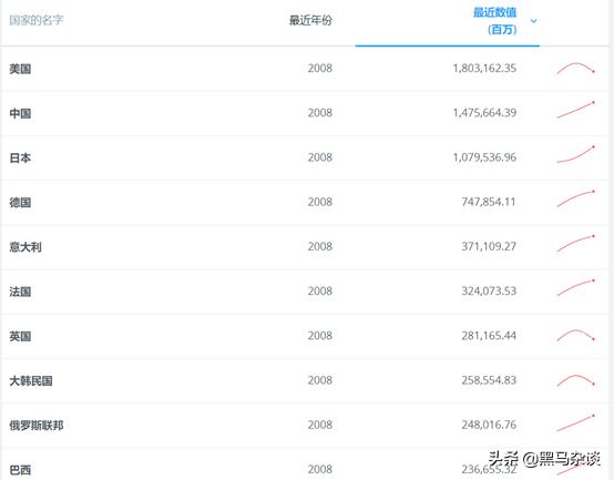
我们在下图把2008年世界制造业10强的制造业增加值份额放在一起比较。
2008年全球制造业增加值为10.213万亿美元,
美国为1.803万亿美元,占全球份额17.65%
中国为1.476万亿美元,占全球份额14.45%
日本为1.08万亿美元,占全球份额10.57%
德国为7479亿美元,占全球份额7.32%
意大利为3711亿美元,占全球份额3.63%,我们注意到,全球制造业四强美中日德之外的其他国家,其制造业产值距离全球四强差距都比较大了。
法国为3241亿美元,占全球份额为3.17%
英国为2812亿美元,占全球份额为2.75%
韩国为2586亿美元,占全球份额为2.53%
俄罗斯2480亿美元,占全球份额为2.43%
巴西为2367亿美元,占全球份额为2.32%

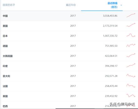
那么到了2017年,四国的制造业增加值全球份额发生了巨大的变化。
世界第一是中国,为3.558万亿美元,占全球13.143万亿美元的比重为27.07%
世界第二美国,为2.1733万亿美元,占全球13.143万亿美元的比重为16.54%
世界第三日本,为1.007万亿美元,占全球为7.66%
世界第四德国,为7519亿美元,占全球为5.72%
2017年韩国跃升为世界第五制造业大国,制造业增加值为4220.6亿美元,占全球3.21%,
世界第六印度,制造业增加值3944亿美元,占全球3%
世界第七意大利,制造业增加值为2926亿美元,份额为全球的2.23%
世界第八法国,制造业增加值为2585亿美元,份额为全球的1.97%
世界第九英国,制造业增加值2394亿美元,份额为全球的1.82%
世界第十巴西,制造业增加值2164亿美元,份额为全球1.65%

2017年和2008年比较,中国的制造业产值比重从14.45%上升到了27.07%,提高了12.62个百分点,
而与此同时,主要发达国家制造业大国除了韩国以外,制造业份额几乎全部下滑,只有韩国的全球份额为2.53%跃升到了3.21%
而与此同时,
西方制造业大国的份额,
美国作为老大,下降了1.11个百分点,
日本作为发达国家老二,下降了2.91个百分点,这是其产业遭遇到了中国和韩国的双重竞争的结果,韩国的产业崛起主要抢占了日本的份额。
德国下降了1.6个百分点
意大利下降了1.4个百分点
法国下降了1.2个百分点
英国下降了0.93个百分点
美国+日本+德国+意大利+法国+英国合计下降了9.15个百分点,
而非常明显的,这个制造业份额的下降,主要是流向了中国,
因为主要发达国家中只有韩国的份额上升了0.68个百分点。
在过去的几年中,中国的网络论坛上开始出现了“中国是发达国家粉碎机”的说法,这类问题被很多人认为是盲目自大,中国作为发展中国家,其国民就开始狂妄了起来,但是如果看此类问题下的回答,却又可以看到大量国内网友提供的国产替代进口,尤其是发达国家进口产品的现实案例,这其实是大形势变化下,中国普通人开始亲身感受到了制造业竞争形势的变化的结果。
除了中国,韩国以外,值得一提的还有印度,2008年该国制造业增加值还只是全球第12位,全球份额为2%,而到2017年已经变成全球第六位了,一举进入全球前十位。全球份额也上升到了3%,提升了1个百分点。
值得注意的是,中国提高的12.62个百分点,除了主要是来自于发达国家外,还从其他发展中国家也夺取了一些份额。
全球从2008年-2017年制造业增加值总共增加了3.957万亿美元,而中国一个国家就增加了2.08万亿美元,占了一半(52.57%)以上,
美国也增加了3703亿美元排第二,中美两国制造业增加值的增量占了全球的62%。
中国的全球制造业占比,到了2018年进一步上升
2018年中国制造业增加值为4.003万亿美元,占全球14.17万亿美元的28.25%
我们合理估计2019年已经超过了全球的29%,超过了美日德三国之和。
因此从宏观上看,中国制造的进展是乐观的,实际上我们可以从很多不同的行业列举出中国制造抢夺了美日德制造份额的例子,
2008-2018年,德国的太阳能面板制造业就在中国制造竞争下全行业破产了,德国最后一家大型太阳能面板制造企业Solarworld就在2017年破产。
不仅如此,中国公司在上游的生产设备领域也取得了突破,例如太阳能电池片的丝网印刷机,全球领先企业主要为美国应用材料旗下的Baccini、德国的Asys、英国的DEK等占据了绝对的市场份额。而国产的迈为公司在技术上不断研发,从2016年开始一举成为全球太阳能电池丝网印刷设备新增市场份额的首位,其新增市场份额到2017年之后甚至超过了全球的70%,2019年上半年,公司实现营业收入6.21亿元,同比上升74.2%;公司实现归属于上市公司股东的净利润1.24亿元,同比上升38.4%;
另外一个例子就是德国的爱思强,这是一家做LED芯片的MOCVD设备的公司,一度和美国的Veeco一起是全球仅有的两家大规模出货的公司,中国的福建宏芯基金曾经在2016年试图收购爱思强,后被美国否决。而后中国的中微半导体开始在此领域异军突起,到2019年中微半导体公司实现营业收入19.47亿元,同比增长18.77%;归属于母公司所有者的扣除非经常性损益的净利润为1.48亿元,较上年同期增长41.48%。
而爱思强的2019年财报显示其来自MOCVD的收入为1.12亿欧元,已经不到10亿人民币了,其全公司的税前利润仅为3900万欧元,已经落后于中微公司。
而日本主要是在家电和电子产品领域衰退,包括品牌,零部件,
以手机电池为例,在2008年日本索尼还是Iphone的手机电池主力供应商之一,而现在Iphone的电池供应商全部都是中国厂家了(惠州德赛,深圳欣旺达)。
而锂电池的关键材料,中国也大大的推进了国产化,涌现出一大批上游材料企业,像做锂电池隔膜的深圳星源材质,2018年营业收入5.83亿人民币,增长11.92%,
而归属于上市公司股东的净利润高达2.22亿人民币,这个38.08%的净利润率可以说相当惊人了,毕竟电子行业标杆的苹果公司净利润率也就是大约20%左右
而星源材质在其2018年财报里面明确指出
“从全球整体来看,目前锂电池隔膜的全球市场份额主要是被日本、美国、韩国、中国占据,但是随着近年国内企业在隔膜制备工艺上的突破及资金投入,国产锂离子电池隔膜产品逐步打入海外市场,日本、美国、韩国隔膜企业的市场份额下降明显。而且,近年来除日本旭化成以外,东燃化学、住友化学、宇部、韩国SKI等海外龙头隔膜供应商扩产缓慢,而中国的隔膜企业扩产速度较快,国内厂商市占率有望进一步提升。由于国内锂离子电池隔膜生产企业技术日趋成熟,加之更具有成本优势,未来全球锂电隔膜的优势将进一步向中国企业转移。”
这个财报非常明确的说明了全球锂电池隔膜制造的转移趋势,那就是从美国,日本,韩国这样的发达国家向中国转移。
而对于美国,
一个最为典型的例子就是海思的麒麟芯片崛起,抢占了高通手机处理器的市场份额。
另外依旧是LED芯片,2018年中国的三家LED芯片公司三安光电,华灿光电、澳洋顺昌合计占了全球超过70%的份额,美国的Cree芯片产能和三安光电一家比也不到其20%。
另外从2018年开始的贸易战,促使中国半导体全行业开始去美国化,导致美国半导体公司营收在2019年受到较大影响。
根据美国美国波士顿咨询公司发布《限制对华贸易将如何终结美国在半导体行业的领导地位》(HowRestricting Trade with China Could End US Semiconductor Leadership)
2019年5月美方禁止对华为公司出售技术后,美国半导体行业领先企业的销售额在之后三个季度都连续出现4~9%的下降。
以提供的射频器件为例,美国提供射频器件的Skyworks在2019年第二季度(截止到6月底)的季度收入为7.67亿美元,较上季度的8.104亿美元下降5.4%,而较一年前的8.943亿美元下降14.2%。
7.67亿美元这个数字低于之前公布的季度收入8.15-8.35亿美元的原始指引,
也就是少了5000万美元的收入,原因为美国时间5月15日美国商务部工业和证监局(BIS)把华为纳入其实体清单,随后Skyworks停止了对华为的所有出货,而来自华为的收入占2019年上半财年,也就是2018年第四季度+2019年第一季度总收入的12%。
我们还可以根据Gartner公布的2019年全球前十位的半导体公司的增长率情况,
除了韩国的三星和海力士两家因为内存价格大跌而下滑之外,
里面欧洲和日本公司的表现最好,
增长率分别为Kioxia(东芝存储)增长3.1%,恩智浦下滑3.1%,意法半导体下滑2.1%,
而美系半导体公司除了英特尔表现尚可,只下滑0.7%以外,
美光下滑了32.6%,博通下滑了6%,高通下滑了12%,德州仪器下滑了9.5%
而十强以外的skyworks和Qorvo也因为被迫对华为断供而导致营收受到了影响。
美国主要半导体公司在2019年第三季度的财报,几乎全部都不同程度的受到了对华为断供的影响,收入和利润下滑。
而且更比较致命的是,
华为一方面在5G通信设备领域表现出了异乎寻常的顽强,华为的全球整体市场份额并没有出现大的下滑,另一方面华为的智能终端业务在中国市场大幅上升,使得综合计算的全球智能手机份额也并没有出现大的下滑。
这反而给美系半导体公司带来了持续的伤害,那就是华为在持续的去美国化,通过海思,国产,日本,欧洲芯片来取代美系芯片,而美系半导体公司却无法通过华为份额下滑而从其他客户那里增加订单来弥补,所以在当前美国制裁下,保证华为的生存其实就是对美国的打击。
至于其他的发展中国家的制造业,巴西,俄罗斯,印度,墨西哥之类,是完全不能好中国相提并论的。
我们就不比总量了,中国的制造业增加值比墨西哥,印度,巴西,俄罗斯,越南加起来还多。
以2018年的人均来比较,
墨西哥2114.5亿美元,人口1.262亿,人均为1675.5美元
巴西1805.4亿美元,人口2.095亿,人均为861.8美元
俄罗斯2039.9亿美元,人口1.445亿,人均为1411.7美元
中国按照2018年13.93亿人口,4.003万亿美元制造业增加值,人均制造业增加值是2873.7美元,也就是即使按照人均计算,
金砖国家中人均最高的墨西哥也只有中国的58.3%
俄罗斯是中国的49.12%,巴西更是只有中国的30%
至于印度,越南就更低了,
印度制造业2070.2亿美元,人口13.53亿,人均才153美元
越南制造业增加值392.26亿美元,人口9554万人,人均410.57美元
人均制造业增加值印度是中国的5.3%,越南是中国的14.29%。
根本不是一条水平线上。
好了,以上是对中国制造一个整体的认知,那就是总体上我们还是在全面推进的,只是有的领域进展的比较快,有的领域进展的比较慢。
实际上我们要记住这样一个数字,2018年我国制造业增加值占全球的28.25%,而中国制造业每年还在较快速度增长,2019年我国制造业增加值就增加了6%。
这意味着在10年以后的2030年,我国制造业增加值占全球份额将会超过40%,最终甚至可能达到50%,中国将等于甚至超过中国以外全世界之和。
我们接下来看第二点,国产化的方向思考
首先总体来说,我国极端落后的领域主要是小市场,细分市场。
在大型市场,我国仅有的完全不能造,还100%完全依赖进口的只有四项,
一个是大型民航客机及其发动机,这个国内完全是空白,不过目前国内中国商飞,中国航发等公司有上万名工程师在攻关,C919商用预计在2021年或者2022年。
一个是电脑CPU,其实我国也是有龙芯,兆芯的,但是在公开通用的市场,还是100%的依赖从美国的Intel和AMD进口。
一个是DRAM内存和NAND闪存,当然这个合肥长鑫和长江存储在陆续投产了,但是产量还微乎其微。
一个是操作系统,这个姑且也算作是工业品,不管是电脑的桌面操作系统,还是移动端的手机和平板操作系统,都100%的依赖微软,谷歌,苹果。
当然虽然我国也有自主的操作系统例如中兴新支点,Deepin之类,不过没有竞争力。
以上四个领域,都是金额比较大,几乎100%依靠进口的领域,而这几个领域都有中国公司在搞自主化,包括中国商飞,中国航发,合肥长鑫,长江存储,龙芯,华为。
在其他的大市场,注意是大市场,你仔细想一下,有没有中国不会造,完全需要依赖进口的?
汽车,发电设备,石化装备,钢铁,船舶,卫星,化工产品,电子产品(智能手机,笔记本电脑,平板电脑),家用电器(空调,冰箱,电视),网络通信设备,轨道车辆,工程机械,医疗器械,医药我们的国产货都有不小的份额,谈不上完全依赖进口。
我们几乎完全依赖进口,差距极大的主要是在小市场,细分市场。
比如说工业软件领域,我国就非常落后,我国航空器设计,汽车设计,机械设计,芯片设计等等,使用的工业软件基本都是来自国外,例如芯片设计使用的EDA工具Cadence,Synopsis,mentor等都来国外,而仅就金额而言,这是个小市场。
再不如智能手机使用的滤波器,基本就依靠从美国和日本进口,
也正因为是小市场,同时又有较高的技术门槛,才导致我国投入长期不足,差距比起大市场更大。
而这些小市场,是不是每一个我们都有必要做到完全国产替代呢?
我理解战略领域其实就是两个,一个国家安全的领域,一个是赚大钱的领域。
在国家安全领域,我们要追求极高比例甚至是100%的自主化,
比如说设计战斗机的航空工具软件,这些涉及到国防安全的都需要自主化,
再比如我国核心政府部门使用的IT软硬件系统。
另一个是在赚钱的领域,我国做到能够不被卡脖子,占据较高的份额即可,
没有必要追求100%国产化完全替代,要对全球产业链持开放态度。
就像中国现在在被美国在芯片产业上进行*压打**,华为,中兴,海康威视,大华科技等都成为受害者,那么是不是我们就应该完全的追求芯片100%国产化呢?这是没有必要的,对于国产芯片,我们当然必须要扶持其做大做强,占据更高的市场份额。
但是对于欧洲,日本,韩国,乃至于美国的元器件,只要品质好性能好,就应该继续购买使用,继续维持开放的态势,没有必要说,每个领域都以把国外竞争对手彻底打死和消灭,要以100%国产为目标。
简单的说就是技术上保证自主化,但是供应上一定要全球化,这有利于我们充分的全球最具有创新能力的国家和公司进行合作,对我们的长期发展是有利的。
如果我们制造业发展顺利,那么到了2030年我国制造业增加值就可以达到占全球40%-45%,再过几年甚至可能超过50%,如果我们都超过50%了,那就必须要考虑分享的问题了,
一方面要继续购买欧洲,日本等国的高端零部件,
一方面在保证自己的制造业份额的前提下,把增量部分的产业转移一些到其他的落后国家,人类命运共同体和世界人民大团结万岁的背后,其实对我国也是有利的,转移出去的制造业不仅让他国也得到发展,同时也可以充分利用他国的资源和人力为我国经济利益服务。
不是所有的领域都必须追求自产,前几年的圆珠笔头的*珠钢**是个典型例子,又不卡脖子又赚不了多少钱,让国外的小公司也赚点钱并不是问题。
再举个简单的例子,经常有人说中国连一个简单的移液枪也做不好,其实我在想一个问题,这个东西能够卡中国脖子吗?国产也有啊,况且又不是用一次就扔掉的消耗品,可以用很长的时间,
如果真的有国家敢于对我国禁运移液枪,也不会导致我们的实验室马上就没有东西可用,我国组织力量攻关做出来并不是什么问题。
这种不卡脖子的小市场小物件,我认为国产化重要性并不靠前,完全可以让他国进行生产。
实际上我国未来几十年主要竞争对手是美国,欧洲和日本都是需要争取的对象,至少不能让他们都站到美国的一边去。
我在分析2008年至今的全球制造业变化情况时就发现,不管是欧洲还是日本,都转移了不少制造业份额到中国。之前我文章也写过,我们在2008年之后购买了不少欧洲的高技术企业,比如瑞士先正达,德国库卡机器人,林德液压等等。我相信欧洲内部也是有一种情绪的,如果我们在做产业规划的时候,所有领域想的都是把欧洲,日本,美国等所有国外竞争对手全部打死,那么这对我们集中精力应对美国的挑战并不利。
之前的文章里面我反复的写过,未来ICT产业是全球赚钱的核心产业,全球市值最高的10家公司有7家是ICT产业的公司,而比较幸运的是,ICT领域最强的两个国家主要是中国和美国,这意味着主要是美国受到中国的挑战。
也就是说,我国在2018年贸易战之后大力发展半导体产业,受到挑战最大的是美国,然后才是中国台湾,韩国,欧洲和日本相对冲击较小,这在客观上对我们争取欧洲和日本不要站队是有利的。
在过去的十年,欧洲国家最为核心的汽车产业,高端奢侈品和化妆品产业,受到中国的冲击比较小,这对中国是不是一个意外的结果呢?
以德国大众集团为例,
中国已成为大众集团最重要的区域市场。2019年,大众品牌在中国市场的交付量上升了1.7%,达到316.3万辆,占到了全球总销量的50.38%。
我们可以简单的算算大众品牌在中国的销售额,300万辆汽车,每辆汽车就算最便宜的10万人民币好了也要超过3000亿人民币。
我们可以做一个假设,如果在过去十年,中国自主品牌汽车发生了大爆发成长,在全球大大挤压了欧洲汽车品牌的市场空间,例如大众集团每年在中国的几千亿销售额没有了,
同时中国的奢侈品和化妆品品牌也爆发成长,大大抢夺了欧洲品牌的市场空间,法国,意大利的化妆品,家具,箱包失去了市场。
那么今天美国发动贸易战,欧洲和日本的态度会不会不一样?
所以说我们在芯片产业上,虽然我们在搞去美国化和自主化,但是不能把去美国化和自主化搞成追求100%国产化,还是要进口欧洲,日本,韩国的芯片,继续双赢合作,集中精力应对美国的压力。
我们继续看更多的数据,
根据2019年的进口数据,我们进口了14.31万亿人民币的货物,
http://www.customs.gov.cn/customs/302249/302274/302275/2833811/index.html
其中进口第一大商品是半导体(集成电路+分立器件),高达2.24万亿人民币
原油和成品油就有1.78万亿人民币,是进口的第二大商品。
我国进口第三大商品是铁矿石,6995.4亿元
第四大商品是汽车及其零部件,合计5453.1亿元
第五大商品是初级形状塑料,这个是低技术产品,主要是来自石油国家沙特,伊朗等,合计进口了3670.4亿元。
其他进口1000亿人民币以上的商品,
除了天然气,煤炭,大豆,铜矿,原木,纸浆之类的原材料和农产品之外,
工业品仅有:医药品2,462.3亿元,自动数据处理设备2,238.2亿元,
未锻轧铜及铜材2,239.7亿元,
空载重量超过2吨的飞机1,086.8亿元,液晶显示面板1430.9亿元
也就是八大进口工业品:
半导体,汽车,医药品,飞机,自动数据处理设备,液晶显示面板,初级塑料,铜材,其中初级塑料和铜材都是低技术产品,和资源产地强相关,无国产化之可能。
而其余六项半导体,汽车,医药品,飞机,自动数据处理设备,显示面板我国全部在大搞国产化和进口替代。
这六项工业品占的比例有多高呢?他们合计的进口金额高达3.507万亿人民币,其中半导体一项就占了2.24万亿人民币。
有没有发现,我在本文前面提到的完全需要进口的大型民航客机,电脑CPU,DRAM和NAND闪存都在这六项工业品里面?而我国是不是全部在大搞进口替代?
如果这些大件都实现100%国产化了,那么进口工业品的总金额就已经不太多了,说实话,我们在国家安全领域和战略领域追求高比例国产化即可,但是这个高比例不应该是100%,
另外在非战略的小市场领域,没有必要去寻求全部实现压倒性优势的100%国产化。
另外非常感谢美国,2018年通过中兴事件把中国上上下下都敲醒了,极大的刺激和促进了中国政府和企业在半导体方面大力推行国产化,从2018年到现在,我国半导体产业的进步可以说是惊人的,这里面真的有美国的功劳,这个我会专门写一篇文章。
半导体是如此的重要,我们一年进口2.24万亿人民币,其规模远远超过其他进口工业品,排第二名的汽车及其零部件,进口金额也只有半导体的大约四分之一。
多说一句,我自己提出一个观点,那就是从进口工业品金额就可以看出来我国进口替代的方向,也即是半导体,汽车,医药品是最大的三个大件,其中医药品规模稍微小点,一年进口2400多亿元。所以说从2020年看ZG的未来,
半导体和汽车即是国运,另外再加个医药品。
当然,由于半导体进口的规模比汽车又大得多,这句话也可以简化,那就是半导体即国运。
事实上,我们由此也可以看出,我们未来的机会在哪里,
例如如果你是工科学生想从事制造业,你选择学习什么专业,毕业后进入哪个行业比较好?
如果你想选择优质的制造业公司进行投资,那么在哪些行业选择比较好?
我们要学习欧美的经验和教训,
经验就是美国在二战后向欧洲,日本,韩国,中国台湾,加拿大进行技术和产业转移,促进了这些地区的大发展和繁荣,为美国产品和服务创造了巨大消费能力的高级市场。
在保证本土的就业机会和制造业增加值增长的前提下,把部分产业向外转移并不是坏事。举个简单的例子,三星是越南最大的外商投资企业,根据韩国《BusinessKorea》的报道,2018年三星电子在越南的销售额(出口+内销)达到657亿美元。极大的促进了越南的经济发展,逐渐富裕起来的越南人购买进口商品的数量也在快速增长。
2010年越南进口金额才848.38亿美元,而在2019年这个数字已经达到2530亿美元,富裕起来的越南人产生了大量的进口需求。
教训就是不管是欧洲,美国还是日本,对外进行制造业转移的前提,是必须保证本国的本土制造业维持在一个比例,保证本土的产业链和制造业就业,否则制造业比例下降,会造成产业链转移从涓涓细流到集群转移,本土制造业工作机会丧失后,连合格的工人都难找了。
在制造业外迁之后,在本国搞再工业化发现千难万难。
因此对外产业转移最好是本土制造业的增量部分,是“增量转移”而非“减量转移”。
当然,现在说对外产业转移还不是时候,我国现在搞一带一路,主要还是基建输出,以支持我国工业品出口,因为我国本土人均GDP在2019年才刚刚突破一万美元,还存在大量中低收入人口,产业升级还未完成,本土发展是优先选项,先成为发达国家再说,我个人觉得中国制造业增加值占全球50%以上是我们要完成的优先目标,我们完全可以做到。
当前对我国比较有利的一面是,国内所有人都对产业链外移保持高度的警惕,
一有风吹草动,不管是媒体还是自媒体,马上就是外资要撤走了,产业链要转移到越南和印度了,中国经济要完了。
而且有趣的是,国内不管是爱国人士还是公知,都挺喜欢这样说,
不管是TPP,还是三星在越南设厂,或者美国的库德洛说要补贴美国公司搬回美国,还是日本花20亿美元要鼓励医药产业链多元化,都能够马上联系到制造业要集体从中国撤走了。
我觉得这种舆论环境反而不是坏事,大家都能把小事上升起来到一个很高的高度,时时刻刻的敲打和示警,反而有利于我国保持警惕和采取措施。最怕就是没人关注,产业链不知不觉就转移出去了。
最后我再说第三点,国家规划和深入细节
如何认识2020年中国制造的水平。
我们看到那些落后的产业,发展不利的产业,要记住我国是全产业链国家,这个并不是错误认识,而是确实几乎所有产业都有中国公司在做。
我的个人体会,这个时候只需要深入细节去了解,总是会发现一些希望,
我国的产业规划还是比较完整的,几乎所有的领域都被纳入国家规划了,当然了纳入规划并不意味着一定发展的比较好,但是只要仔细了解和寻找,一定会有些行业的希望之星出来。
以机床工业为例,虽然三家龙头企业沈阳机床,大连机床,秦川机床发展不是很顺利。
沈阳机床和大连机床在2019年整合进了中国通用技术集团。
但是总体上,我国机床工业的国产化率还是在不断提高的,根据国内申万宏源证券公司的报告,2014-2018年数控机床的国产化率,低端从65%增加到82%,中端从45%增加到65%,高端从2%增加到6%。
国内机床虽然前三位龙头企业发展不好,但是接下来的第二梯队发展还是比较平稳,
2018年大连机床已经破产,国内数控机床市场份额仅次于沈阳机床(26%)和秦川机床(17%)的第三大机床公司中航高科(占有率14%)年报显示,
2019年,中航高科实现营业收入24.73亿元,同比下降6.76%。2016年-2018年,其净利润为0.73亿元,0.84亿元,3.04亿元,
2018年,中航高科的研发投入约为0.63亿元,这个数字到2019年增长到1.15亿元,同比增长约82.54%,当然注意了,中航高科还有其他业务。
国内第四位的日发精机,其2019年度业绩快报,公司实现营业总收入22.18亿元,同比增长12.67%;实现归属于上市公司股东的净利润1.65亿元,同比增长9.65%。
下图是销售额排国内第五位的江苏亚威机床的2016-2018年的销售额和净利润,总体还是在稳定增长,从11.7亿人民币增长到15.33亿人民币。

以上并不能说明机床行业发展很好,只是发展速度较慢,总体和国外的差距还是在缩小的。
另外除了以上规模相对较大的企业之外,我国的04专项还专门扶持了华中数控搞华中8型国产高档数控系统,截止到2019年1月,在沈飞、成飞、航天一院/八院、核九院、普什宁江、宝鸡机床、大连机床等2000多家企业应用近10万台套。
根据2020年4月的消息,华中数控新一代的华中9型数控系统即将推出,同时疫情期间,
国家制造业转型升级基金已与华中数控签订战略投资协议,拟向华中数控投资3.8258亿元,这是该基金成立以来的首个投资项目,可见所有的落后行业,都是有专门的规划是支撑的。
再比如本文前面提到的高铁轴承,国内中浙高铁,瓦轴,洛轴都在研发,而投资者们则不断的在提问。

2020年2月11日,有投资者向轴研科技提问,请问董秘,中浙高铁轴承未来国内的主要竞争对手有哪些企业?未来存在哪些优势?目前国内有哪家企业可以生产高铁轴承?目前高铁轴承对进口的依存度有多大比例?
该公司回答表示,中浙高铁轴承的国内竞争对手为瓦轴、洛轴等企业,优势在于依托洛阳轴承研究所,技术实力较强,劣势在于尚未有铁路轴承供货历史,截至目前,高铁轴承尚需全部进口,国内企业洛轴、瓦轴、中浙高铁等企业正在进行高铁轴承的研制,但均未到取得CRRC(中车集团)认证阶段,感谢您的关注。
那么那些在国家规划之外的产业呢?
其实国家规划以外,基本都是非战略产业,比如本文前方提到的化妆品和护肤品,就算大量进口又怎样呢?国产又不是不能用。
但即使是这样,依然是可以找出一些亮点的,我认为只要这个行业有钱赚,在自由竞争中早晚会有中国品牌脱颖而出,只是个时间问题。
还记得吗,2019年天猫双十一,彩妆前十名有9个是外资品牌,那么有意思的来了,这唯一的一个国产品牌是谁呢?
是国内一家新崛起的2017年才出现的彩妆品牌,叫完美日记,2019年9月,完美日记完成高瓴资本领投的新一轮融资,估值超过10亿美金,实际上该公司在天猫双十一的彩妆销售额压倒外资名列第一位。
国内最近几年也有不少新的国产彩妆品牌出现,也得到了不少资本的投资,除了完美日记之外,还有橘朵之类,这些公司中未来一定会出现新的佼佼者。
我个人认为,对于这些非战略性的产业,国产化能够做到中资和外资百花齐放也是可以接受的。
再以工具软件为例,
过去我国总体对工业软件重视程度不够,但是其实我国也是有工业软件企业的,2018年开始的贸易战,大大加强了中国对于芯片设计EDA工具软件的重视程度,国内的华大九天就迅速在2018年9月得到了集成电路大基金的投资。
根据华大九天董事长刘伟平在前几个月接受的采访,其明确表示2019年,华大九天的团队增加了近200人,未来还要更快速的发展壮大。“为了吸引人才,我们陆续在南京、成都开设子公司吸引当地人才,并于2019年在深圳开设了华大九天全资子公司,为吸引深圳为核心的粤港澳大湾区EDA人才和研发提供了有力支持。”
要知道,2019年9月刘伟平曾经接受过记者采访,说国内从事国产EDA设计的技术人才总共才五六百人,华大九天的人数占了一大半。
2019年华大九天的团队一下子增加了200人,可见贸易战对EDA开发推进的刺激程度,写到这里我又想感谢美国了。
此外国外还有其他公司如芯禾科技也在做EDA。
实际上,这次贸易战的一个大好处,就是逼迫华为这样的国内超级公司,也开始参与和投入到工具软件国产化中来,不只是芯片设计的EDA软件,华为做结构设计,电路设计的各种工具软件也需要规划国产化,这就大大刺激了中国工业软件的发展。
所以说,只要贸易战华为能顶住,对中国科技行业真的是天大的利好。
最后,我想再用几句话总结下2020年中国制造的水平。
1:只要我们继续保持5%以上的制造业增速(2019年是增长6%),那我们就是奔着全球份额40%甚至50%去了,中国VS全球的局面将在未来10年以后出现。这是非常恐怖的数字,这意味着所有的制造业领域,中国制造占据50%的份额成为基线。
2:追求的是技术上的自主化和去美国化,而不是也没有必要在所有领域都追求100%国产化,要自主化的前提下也需要和美国以外的其他国家多合作。
所谓把朋友弄的多多的,把敌人弄的少少的,集中力量反制美国。
在大市场实现较高全球份额即可,非战略的小市场,比如圆珠笔笔芯,我国本来就是从欧洲和日本进口,其实大部分依赖进口也关系不大,我不相信这玩意儿没了进口我们就写不了字了。
例如化妆品也是一样,我自己觉得,国内能有高端化妆品品牌并且占据不错的份额也可以了,没有必要一定追求要把外资品牌全部消灭掉,大家共赢也是选择。尤其是高端护肤品和化妆品品牌不少是来自欧洲,日本,韩国,而其实他们并不是我们的主要竞争对象。
其实机床产业也是一样,我国保证有国产高端产品可用,市场上国产,德国,日本机床百花齐放也是可以的,并不是说非要把德国,日本进口的机床全部归零。
3:关系着国家安全的自主化问题已经基本解决,这是从上世纪90年*开代**始的瓦森纳协定禁运到现在20多年的成果,我国高校科研机构,政府关键部门,军工企业长期遭受关键设备禁运,并没有影响科技和军事进步。
比如说到美国的实体清单去看,会发现四川的两所顶级高校,四川大学和电子科技大学就在实体清单上,是不是万万没想到,有兴趣的可以*载下**pdf文档看看国内对于美国实体清单的分析。
http://www.qbzz.org/oa/pdfdow.aspx?Sid=181024
4:需要担心的是大型产业的供应问题,标志就是华为能不能顶得住,
目前看华为暂时顶住了芯片禁运,那么第二波的芯片代工厂禁止为华为代工能不能顶住,我们预计2020或者2021年就能见分享,这个是非常关键的。
从种种迹象来看,我国相关企业已经在积极应对,包括网友关心的半导体制造皇冠:光刻机,我国相关单位也在推进,这个后面有文章会讲。
5:最重要的,落后的领域才是我们普通人的机遇,这里面会产生一些强大的企业,本文已经写过,从大宗进口工业品的金额来看,半导体和汽车即是国运,另外再加个医药。
这句话我自己反复的体会过,可以衍生出很多想法出来。