( 映维网Nweon 2023年04月11日 )老花眼一般是指失去将眼睛光学对焦到不同距离的能力。尽管自然适应状态能够有效地停留在光学无限远,但难以对焦近距离的对象。尽管传统的头显设备可以为眼镜用户提供舒适的人体工学,但通常没有考虑老花眼的情况。
针对这个情况,微软在名为“Control of variable-focus lenses in a mixed-reality device for presbyopes”的混合现实设备专利中提出了一种相关的解决方案。
具体来说,这家公司提出了针对一对可变焦点透镜的控制方法,从而允许老花眼用户能够自由对焦任何距离的虚拟对象和真实对象。

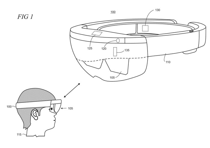
图1示出了可为老花眼用户实现可变焦点透镜控制的混合现实设备。

在图2中,用户115在包括具有各种建筑物、商店等的城市街道中行走,远方则是乡村。全息虚拟图像包括标识餐馆业务的标签225和指向城市感兴趣地点的方向230。虚拟图像和数字内容可以沿着坐标系235的所有三个轴而位于视场内的不同位置。
在一个实施例中,可以使用任何合适的反射波导组合器来为老花眼用户实现可变焦点透镜的控制。

在如图3A所示的现实世界中,从远处物体310到达用户115的眼睛的光线305几乎是平行的。如图3B所示,在光学无限远处(对于正常视觉来说大约为6m左右和更远)的真实世界物体具有当到达眼睛时完全平行的光线320。如图3C所示,与较远物体的光线相比,来自附近真实世界物体330的光线325以不同的、更发散的角度到达眼睛。

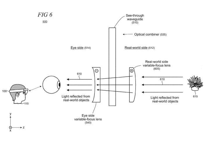
如图5所示,配置为用作负(凹)透镜的可变焦点透镜540位于波导510的眼睛侧,其中眼睛侧由图5中的附图标记514指示。负透镜在与用户的眼睛相关联的视窗的整个范围内起作用,从而从离开耦出器530的准直光线550产生发散光线545。
当虚像源520投射耦合到波导510中的虚像时,输出发散光线在预定焦深d处呈现虚像。例如,如果负透镜配置为具有-0.5屈光度的optical power,则d等于2m。

如图6所示,为了确保用户对真实世界的视图不受负透镜的影响,可变聚焦透镜605配置为用作共轭正(凸)透镜。
所述可变焦点透镜位于波导510的真实世界侧,以补偿负透镜对眼睛侧的影响。如果眼侧可变焦点透镜控制为提供-0.5屈光度的optical power,则真实世界侧透镜控制成提供相反的+0.5屈光度的optical power,从而抵消负透镜的影响。
以这种方式,从真实世界对象615反射的光610到达用户,而没有通过一对可变焦点透镜的组合操作施加净optical power。在所述示例中,对象处于一定距离,所以当用户115查看时,入射到显示系统500的真实世界光的平行光线保持平行。
眼睛侧可变焦点透镜540和真实世界侧可变焦点镜头605可以使用各种已知技术来实现。

在图7中,眼动*踪器追**705可操作地耦合到一个或多个照明源725和一个或更多个传感器730。例如,照明源可以包括IR(红外)LED,其位于显示系统500(图5)和/或光学组合器535的外围周围。
眼动*踪器追**照明源可以用作闪烁源和/或提供用户眼睛特征的一般或结构化照明。可以利用基于图像和/或基于特征的眼动追踪或其他合适的眼动追踪技术来满足对可变焦点透镜的控制的要求。
在说明性示例中,来自照明源725的IR光引起高度可见的反射,并且眼动*踪器追**传感器730捕获显示反射的眼睛图像。传感器捕获的图像用于识别光源在角膜上的反射和瞳孔中的反射。
通常,可以使用实时图像分析来计算由角膜和瞳孔反射之间的角度所形成的矢量,然后将矢量方向与反射的其他几何特征相结合,从而确定用户注视点,并计算眼睛的运动、位置和方向。
在混合现实头显设备100的操作期间,optical power控制器710可控制地改变眼睛侧可变聚焦透镜540和真实世界侧可变聚焦镜头605的optical power。
当配置为负透镜时,可以在眼侧可变聚焦透镜处利用不同量的optical power,以提供位于不同固定或可变距离处的焦平面。
静态透镜735可以可选地用于头显。在一个实施例中,由于形状参数的考虑,尺寸和空间受到限制,用户佩戴眼镜可能不舒服或不可能。静态镜片可以提供来矫正用户115的视力损伤。静态透镜可以眼侧可变焦点透镜的修改配置结合使用。
对于近视、远视和老花眼患者因屈光不正而导致的视力受损,大多数人群的矫正度在-6.0和+4.0屈光度之间。

图8示出了针对不同用户类型和使用情况的可变焦点透镜对操作配置。可以注意到,图8是指图7所示的元件。表800示出了对于不同类型的用户和头显设备使用情况,optical power控制器710可控制地改变眼侧可变聚焦透镜540和真实世界侧可变聚焦镜头605的optical power。
表的第一列805中示出了两种不同类型的老花眼用户。用户1能够在不戴眼镜的情况下清晰地看到远处的真实世界对象。用户1可能一直有清晰的视力,但随着年龄的增长而出现老花眼。
用户1当前可以使用阅读眼镜来查看近距离的真实世界对象并阅读文本。例如,用于阅读眼镜的处方通常增加0.25屈光度,例如+1.00、+1.25、+1.50等。
用户2可能在儿童时期就患有近视,如果没有矫正镜片(如眼镜或隐形眼镜),就无法清晰地看到远处的真实世界物体。为了治疗老花眼,用户2目前可以使用双光眼镜。
虚拟图像通常可以以约1.25至2.5m的固定焦平面深度显示,以减少由于视觉辐辏调节冲突引起的用户不适。因此,optical power控制器710的目的是允许老花眼用户以清晰的焦点查看近距离的虚拟对象和真实对象。
表800中的第三列815示出了针对每个使用情况的optical power控制器710对眼侧可变聚焦透镜540的操作。第四列820示出了对真实世界侧可变聚焦透镜605的操作。
对于用户1,在远视期间,眼睛侧可变焦点透镜540以其基线配置操作。例如,optical power控制器710可以将眼侧可变聚焦透镜的光焦度设置为-0.5屈光度,以将混合现实焦平面固定在2m。在虚拟图像的光从波导向外耦合到用户的眼睛之前,可以在光学显示系统中实现在某个非无限距离处的虚拟图像的聚焦调谐。
因此,眼侧可变聚焦透镜的optical power可以由optical power控制器设置为零或其基线配置的某个其他合适值。
optical power控制器710可以在其基线配置中操作真实世界侧可变聚焦透镜605。例如,真实世界侧透镜的基线配置可以是+0.5屈光度,使得由透镜对施加到来自真实世界对象的光的净optical power等于零。
对于用户1的近距离观看,optical power控制器710同时配置眼侧可变聚焦透镜540,以支持在预定混合现实焦平面深度(例如2m)处的虚拟图像渲染。另外,optical power控制器710向真实世界侧可变焦点透镜605添加optical power,以将真实世界中的近距离对象以光学方式推得更远。
增加的optical power量可以根据用户1经历的老花眼程度、环境光量或其他因素中的一个或多个而变化。例如对于中度老花眼矫正,增加的optical power可以是+1.5屈光度。
对于用户2的远视,真实世界侧可变聚焦透镜605由optical power控制器710在其基线配置中操作,以抵消眼侧可变聚焦镜头540在其相应基线配置中的操作。在所述说明性示例中,真实世界侧透镜的基线配置为+0.5屈光度,而眼睛侧透镜的基准配置为-0.5屈光度。
可以理解,在替代配置中,可以利用各种optical power组合来满足特定的实现要求。
在用户2的近距离观看期间,optical power控制器710可以控制眼侧可变焦点透镜540以提供-2.0屈光度的optical power,从而允许用户能够同时以清晰的焦点观看近距离虚拟世界对象和真实世界对象。
另外,optical power控制器将optical power添加到真实世界侧可变聚焦透镜605。增加的optical power量可以根据用户经历的老花眼程度、环境光水平或其他因素中的一个或多个而变化。
相关专利 :Microsoft Patent | Control of variable-focus lenses in a mixed-reality device for presbyopes
名为“ Control of variable-focus lenses in a mixed-reality device for presbyopes”的微软专利申请最初在2021年9月提交,并在日前由美国专利商标局公布。