
眼下,新的LP正在入场——越来越多的新经济掌门人正以LP身份,反哺曾经对他们鼎力支持的投资机构。
作者 I 刘博 杨继云
报道 I 投资界PEdaily
又一位新经济掌门人做起了LP。
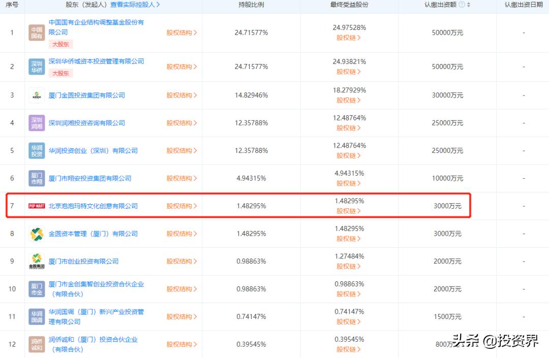
投资界消息,3月18日,华润国调(厦门)股权投资合伙企业(有限合伙)成立,经营范围含以私募基金从事股权投资、投资管理、资产管理等活动。而股东信息显示,泡泡玛特认缴出资额为3000万元,位列第七大股东。
在此之前,泡泡玛特创始人王宁已接连出资多家VC基金——黑蚁资本、金慧丰投资以及蜂巧资本。有一个共同点,王宁所选择出手的均是与自己产生过交集的创投机构。泡泡玛特起步于一家格子铺,当年王宁和泡泡玛特融资屡屡受挫,正是多亏了身后VC机构一路相伴才有了今天的千亿市值,而王宁对应身家也超过500亿港元。
这并非个例。眼下,越来越多的新经济掌门人正以LP身份进入VC/PE圈,开始反哺曾经对他们鼎力支持的投资机构。
刚刚,泡泡玛特出手3000万,
投了一只股权投资基金
又一位富豪新贵做起了LP。
天眼查APP显示,华润国调(厦门)股权投资合伙企业(有限合伙) 于3月18日成立,执行事务合伙人为华润国调(厦门)新兴产业投资管理有限公司,注册资本约20.23亿元,经营范围含以私募基金从事股权投资、投资管理、资产管理等活动。
股东信息显示,中国国有企业结构调整基金有限公司、深圳华侨城资本投资管理有限公司均持股比例约24.7%,为基金大股东。而 北京泡泡玛特文化创意有限公司则持股比例约1.48% ,认缴出资额为3000万元,位列第七大股东。

也就是说,泡泡玛特做起了LP。所谓LP(Limited Partners),即有限合伙人,俗称“金主爸爸”,是创投机构的出资人。
鲜为人知的是,作为泡泡玛特创始人,王宁本人早已成为多家创投机构LP。
天眼查APP显示,谦寻(天津)企业管理合伙企业(有限合伙)于今年2月10日新增一条对外投资动态,入股了宁波八斗股权投资合伙企业(有限合伙),认缴出资额为2000万人民币。而资料显示,谦寻(天津)企业管理合伙企业(有限合伙)的 实际控制人正是泡泡玛特创始人王宁 ,持股比例为99%。
早在去年9月23日,黑蚁资本官宣的人民币二期基金中,LP阵容也出现了王宁的身影。当中有一个小插曲:王宁于去年10月15日从二期基金股东中退出,但同天新增的股东之一,便是谦寻(天津)企业管理合伙企业(有限合伙)。
值得一提的是, 王宁与黑蚁资本之间的渊源颇深 。泡泡玛特是黑蚁资本一、二期人民币基金连续投资的项目,后者曾连续四轮押注。2017年底,黑蚁资本首次投资泡泡玛特,随后在2018年底、2019年初、2020年初又连续投资3轮。
而在出资黑蚁资本之外, 王宁还曾出资两家VC机构 。天眼查APP显示,在去年5月30日到6月3日短短五天内,王宁接连出手投资了宁波金慧丰伦通股权投资合伙企业(有限合伙)、苏州蜂巧霁初创业投资合伙企业(有限合伙),这两支基金的管理机构分别为金慧丰投资和蜂巧资本。
与投资黑蚁资本类似,王宁所选择出手的均是与自己产生过交集的创投机构。其中,金慧丰投资对泡泡玛特的投资始于2015年6月,在随后的2016年又再次注资;而蜂巧资本创始人屠铮则在啟赋资本任职时便参与了泡泡玛特的多轮融资,在2018年成立蜂巧资本后继续选择投资泡泡玛特。
从拿VC的钱成为被投企业,到反哺机构做出资人,王宁与泡泡玛特的LP版图渐渐浮出水面。
85后掌舵人,坐拥500亿身家
靠卖盲盒做出千亿市值
从一间格子铺到市值千亿,泡泡玛特的崛起历程堪称传奇。
出生于1987年的王宁,从小受家里做生意的父母的影响,对商业有着不小的兴趣。在2005年高中毕业后的暑假,足球踢得不错的王宁创办了一个足球暑期班,由此收获了第一桶金。
在这之后,王宁考入了郑州大学西亚斯国际学院,就读广告学专业。读书期间,他依然没让自己闲着,在2008年5月和几个同学一起开了第一家实体店,做格子铺。2009年,22岁的王宁大学毕业,折腾了近一年,创业的想法始终甩不掉——开一家零售店。
下定决心后,王宁和曾经一起开店的同学到各地去考察。在香港,一家名为LOG-ON的公司吸引了他们的注意力,这家店售卖一切有意思的、新奇的文创产品、玩具、杂货,王宁和团队也由此找到了自己的创业方向: 像超市一样售卖潮流产品 。
但在最初,王宁做的是一个让人直呼“看不懂”的生意,因此屡屡被拒绝。2010年11月,北京中关村欧美汇购物中心的一个小角落,泡泡玛特的第一家店落成,这是他们过去半年内被无数商场、购物中心拒绝后,好不容易为自己的品牌争取到的门店。
那是一段异常艰难的时期。泡泡玛特是个没人听说过的名字,没人理解他们到底是要卖什么,一度招不到店员,没多久连店长在内的员工又集体离职,没办法,他和团队的其他成员一起进货、卖货,自己当起了店员。
2011年底到2012年初,不见曙光的王宁几乎要放弃泡泡玛特,为了生存他们还做了针对小夫妻店的淘货网,直到遇到了天使投资人麦刚。对方告诉他,对淘货网不感兴趣,但对泡泡玛特感兴趣,还给了200万作为种子轮投资,这让王宁重新坚信泡泡玛特的价值。
更大的转机还在后头。有了资金,泡泡玛特又开了几家新店,2015年底做业务盘点时, 王宁发现一款名叫Sonny Angel 的日本IP玩具 销售额一直快速增长,单个玩偶占到门店收入的三分之一,敏锐的王宁当即跟团队说:“从今天开始,所有的品类都不做了,只做潮玩。”他事后回想,这是一场All in的赌博,但商业直觉和销售基础让他决定赌一把。
他把问题抛在了微博上:“大家除了喜欢收集Sonny Angel,还喜欢收集其他什么呢?”一半的回答都指向了Molly。三天后,王宁远赴香港去见了设计师王信明,经过多次谈判后,将他手中Molly的独家IP版权买了下来。2016年,泡泡玛特推出了首款Molly十二星座盲盒,结果一炮而红,销量暴涨。
泡泡玛特靠盲盒经济熬出了头 。在2016年推出盲盒之前,这家公司仍处于亏损,到了2017年上半年成功实现扭亏为盈,后面更是一路飙涨。招股书显示,2017-2019年,泡泡玛特营收分别为1.58亿、5.14亿、16.83亿,净利润分别为156万、9952万、4.51亿,增速之高令人咋舌。
2020年12月11日,王宁率领泡泡玛特成功登陆港股,完成了从格子铺到“潮玩文化第一股”的蜕变,上市当天开盘暴涨100.26%,市值一举突破千亿港元。截止港股本周五收盘,其最新市值约为962亿港元。
而伴随着泡泡玛特成功IPO,王宁的个人身家也水涨船高。招股书显示,王宁持有泡泡玛特近55%的股权,以最新市值计算,其对应身家超过500亿港元。
张一鸣、王兴们做起LP,
富豪新贵们开始反哺VC/PE圈
如今,越来越多的财富新贵们正在LP圈异军突起。
募不到钱,依然是过去一年一些人民币基金的整体感受。“机构LP普遍没有新的大动作。银行资金难以作为LP出资;险资迟迟不见实质性动作;政府引导基金的通道也开始收窄……”北京一家VC基金IR负责人表示。
在这种情况下, 整个市场都在挖掘新的LP群体 。与此同时,新经济诞生了一批新贵富豪,他们开始成为VC/PE市场一股新兴的LP群体。
这批新经济的主力军来自新兴独角兽/巨头的掌门人,大多为80后。过去数年间,中国互联网的排位竞赛里不再只有BAT,随着美团、小米、字节跳动、拼多多、滴滴,以及小鹏汽车、蔚来汽车等造车新势力的崛起,一群新贵大佬崛起,身家水涨船高。
其中, 股权投资是新贵们十分青睐的方向之一 。投资界此前曾报道,包括张一鸣、王兴、何小鹏等在内的多个新经济独角兽/巨头掌门人,都在悄悄成为GP背后的“金主爸爸”。
张一鸣和字节跳动的LP版图颇为隐秘。张一鸣与源码资本创始合伙人曹毅私交甚笃,当初*今条头日**苦苦寻找B轮融资时,仍在红杉中国任职的曹毅就曾在内部会上力推,后来张一鸣成为了曹毅首期基金的出资人之一。此外,张一鸣和字节跳动还入股了活跃在硅谷的早期基金UpHonest Capital、创投机构XVC以及黑蚁资本。
王兴的LP版图也渐渐浮现。在源码资本和XVC背后,除了张一鸣也出现了王兴的身影,此外,整个美团系资本覆盖了源码、XVC、辰海资本、零一创投、钟鼎资本及美团自己的龙珠资本等多家VC,成为创投圈一股不可忽视的力量。
而一个月前刚刚挂牌港交所,成为“短视频第一股”的快手,也在去年开始出手VC机构。天眼查APP显示,2020年9月4日,南京五源启兴创业投资中心(有限合伙)新增股东北京快手科技有限公司,前者为五源资本的投资主体之一,后者则为快手的运营主体。
如今, 越来越多的新经济掌门人以LP身份进入VC/PE圈 ,并且更倾向于选择曾经帮助过他们的创投机构进行合作。早年间,一大批创业公司在VC/PE的加持下,一路成长并走上IPO敲钟的舞台。见识到创投的力量后,这些成功的企业家又开始反哺机构。
新的LP正在入场。可以预见,未来在一些明星基金和明星项目背后,将会看到越来越多财富新贵的身影。