
世界杯的赛程虽已经过半
但全民参与的热度依然不减
尤其是关于足球竞猜的话题
朋友圈每天都在刷屏

但是,竞猜归竞猜
如果涉及到*球赌**
那就是违法犯罪的事了
近日,球迷*球赌**、竞猜平台被关
的新闻也引发了大家的热议

本期,我们借用天津海纳媒体大数据科技发展有限公司的“海纳炫知平台”与“紫藤评论采集分析器”,从传播的角度来看待这个问题,并邀请东莞市七五普法讲师团成员、东莞市律师协会副会长、广东汉章律师事务所主任李爱东解读*球赌**涉及的法律问题。
《法治东莞》

传播路径
多个竞猜平台被关停引发热议
随着世界杯赛事的深入,越来越多的竞猜平台也看到了盈利的机会,纷纷快速跟进世界杯相关的竞猜。也正因为市场的快速膨胀,导致了大量违规平台的出现,国家随即进行严格管制,《多部门整治 多个世界杯竞猜平台被关停》的新闻成为一个热点。
该事件发生之后迅速引起网友广泛的关注与讨论。在此,我们借用“海纳炫知平台”与“紫藤评论采集分析器”来站在传播的角度来看待这个问题。
在传播的角度,我们选取了获得广泛传播的,由“北京晨报”发表的文章《多部门禁网售彩票 世界杯竞猜App上仍热卖》这篇文章作为传播参考。

△“海纳炫知平台”展示的传播情况综述
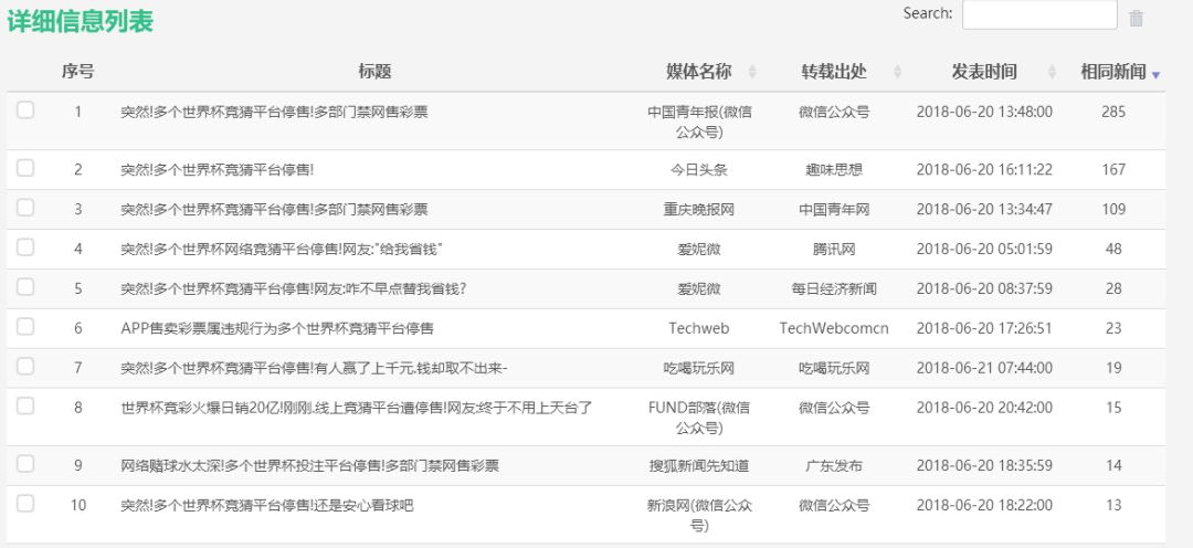
首先,我们先看下该事件的整体传播情况:该事件由“北京晨报”最先报道,截止到6月26日中午12时,已经传播了7天9小时,在此期间:532家媒体参与到了传播过程中;相关的837篇文章总共被转载了1193次。传播量最多的爆点是:“北京晨报”,从该媒体转发的文章数量达到230篇;通过传播渠道来看,“网页web端”占据了较多发布量(60.1%),然后依次是“电子报”(30.51%)、“app”(8.89%)、“微信”(0.5%)。

△“海纳炫知平台”展示的所有事件相关新闻
除了文章来源“北京晨报”之外,“中国青年网”、“新华网”是两个主要的被转发平台(图4),被直接转发数量分别是98篇、23篇。
事件被广泛关注离不开媒体的广泛传播,数据显示,有48%的中央媒体(19家),25%的省级媒体(49家)以及14%的商业媒体(23家)参与到对该事件的报道当中。

△“海纳炫知平台”展示的“TOP5爆点”

△“海纳炫知平台”展示的传播路径图
所有参与到报道的媒体分布在全国的28个省/自治区/直辖市,其中北京地区媒体报道490次,是所有区域中最关注的该事件的。2-4名关注的区域分别是广东(71次)、山东(62次)、浙江(42次)以及上海(37次)。

△“海纳炫知平台”展示的“区域传播覆盖图”
值得一提的是,东莞市普法办的微信号“东莞普法”于6月20日发布推文《天台上的,你们暴露了!警方请你们下来聊聊!》,从法律的角度进行普法与提醒,也获得一定关注。

世界杯*球赌**事件引发热议。“紫藤”采集了国内七大综合新闻平台(网易,腾讯,搜狐,新浪,凤凰,头条以及1点咨询)的评论数据。截止到6月21日09:12,这七大平台针对该事件发布217条相关新闻,13062人参与到了4259次评论中。

△“紫藤”网民情绪、网民情感占比图

△“紫藤”热门观点TOP10
从网友热门评论中可以看出
很多网友对世界杯*球赌**热潮是很反感的!
其中还有不少人将*球赌**与足彩搞混了
觉得两者有很多相似之处,是同样性质的
其实,并不是这样的!
往下看,普法君让你不再蒙圈!

普法讲师
*球赌**是赌博 法律禁止
世界杯*球赌**是否合法?
*球赌**与足彩、赌博如何界定、区分呢?
都会涉及哪些法律问题呢?
普法讲师李爱东:
*球赌**是一种赌博活动,我国法律明确禁止。
根据《治安管理处罚法》第七十条:“以营利为目的,为赌博提供条件的,或者参与赌博赌资较大的,处五日以下拘留或者五百元以下罚款;情节严重的,处十日以上十五日以下拘留,并处五百元以上三千元以下罚款。”和《中华人民共和国刑法》第三百零三条,“以营利为目的,聚众赌博或者以赌博为业的,处三年以下有期徒刑、拘役或者管制,并处罚金”的规定可知,*球赌**作为一种以足球、篮球等比赛结果定输赢的赌博活动,以盈利为目的,我国法律是明确规定禁止。

△图片来自人民日报
那么,*球赌**与足彩之间又有何区别呢?
普法讲师李爱东:
*球赌**作为一种赌博活动,其宗旨是以盈利为目的,企图通过投机或偶然性赢取非法收入,不劳而获,为我国法律明令禁止。
与正规的足*彩球**票不同的是,非法*球赌**的目的是为了吸引更多的参与者,往往提高投注的收益,让一些人经不住诱惑的人通过非法渠道下注*球赌**,并逐步使其下注金额越来越大,当赌资达到一定的数额便会受到《治安管理处罚法》或《中华人民共和国刑法》的处罚。

△图片来自新华社
相对于*球赌**来说,足彩则是合法行为。我国的足*彩球**票均是由政府统一发行和运作,并在统一进行审批、管理和监督之下开展的*彩博**业经营活动,受到《彩票管理条例》的约束,因此,足彩是由国家统一对其进行完善的监督和管理,并纳入法律调整的范围的合法行为。同时,彩票业可以向社会提供就业机会,并且可以丰富社会公众的文化生活、发展体育事业和文化教育等社会公益事业,由此可知,足*彩球**票对于社会的积极作用是明显的,这也是足彩与*球赌**的最大区别。

之所以日常生活中,将足彩与*球赌**等相提并论,主要是因为二者存在诸多的相似之处,如二者均有偶然性、投机性、风险性。但是事实上二者所属的法律性质是不一样的,足彩是受《彩票管理条例》的约束,属于彩票的一种,是国家为了筹集社会公益资金,促进社会公益发展而特别许可、依法销售,一旦未经国家许可发行其他彩票或者发行、销售境外彩票均为法律禁止。而*球赌**是赌博的一种,是我国法律明确禁止的。

注意
*球赌**所欠债务不受法律保护
那么,*球赌**可能涉及到那些法律责任?
普法讲师李爱东:
首先是民事责任,*球赌**所欠债务属于赌债,不受法律保护。
由于我国法律明确禁止赌博,而*球赌**又是赌博的一种,故通过非法渠道投注*球赌**而产生的债权债务显然是不受法律保护的。但是实践中,作为*球赌**者,要*翻推**这项赌债,必须自行承担举证义务,提供能证明该债务属于赌债性质的证据,这样法院才能依法采信。

其次是行政责任,*球赌**被认定为赌博行为,可能涉及的行政责任。
根据《治安管理处罚法》第七十条:“以营利为目的,为赌博提供条件的或者参与赌博赌资较大的,处五日以下拘留或者五百元以下罚款;情节严重的,处十日以上十五日以下拘留,并处五百元以上三千元以下罚款。”的规定,*球赌**是以足球、篮球等比赛结果定输赢,如果赌资较大,性质上就属于赌博,为法律所禁止,依法应当受到处罚。虽然关于赌资较大,《治安管理处罚法》暂无明确的界定,但实践中各地方公安机关均对其辖区关于赌资较大设定了认定标准。

此外,*球赌**被认定为赌博行为,可能涉及的刑事责任。
根据《中华人民共和国刑法》第三百零三条:“以营利为目的,聚众赌博或者以赌博为业的,处三年以下有期徒刑、拘役或者管制,并处罚金” 等相关法律的规定可知, 赌博的特征体现为:一是以盈利为目的,二是聚众赌博或以赌博为业,认定聚众赌博的主要标准为:(一)组织3人以上赌博,抽头渔利数额累计达到5000元以上的;(二)组织3人以上赌博,赌资数额累计达到5万元以上的;(三)组织3人以上赌博,参赌人数累计达到20人以上的;(四)组织中华人民共和国公民10人以上赴境外赌博,从中收取回扣、介绍费的。

从普法讲师的解读中,我们可以看出
*球赌**作为赌博活动的一种
没有得到国家法律的认可
在此,希望广大球迷能够
文明看球,远离赌博!
沉迷赌博,违法犯罪的话
最终等待你的就是法律的制裁了!

(来源:东莞普法)