你们好,这里是Seek思科,为你寻找苹果最新资讯、苹果隐藏技巧、苹果良心APP以及苹果优质配件。如果你需要这些,不妨点个关注。
随着苹果今年第二场秋季发布会时间临近,MacBook Pro更多的消息被曝光。近日关于新款MacBook Pro上可以会采用 刘海屏设计 的说法开始进入人们的视野。

苹果本场发布会的英文主题为“unleashed”,中文主题则为“ 来炸场 ”,也暗示了这场发布会不管是MacBook Pro本身的 性能 还是 其他产品 都会给人 带来不少的惊喜 (惊吓)。

MacBook Pro刘海屏设计可能性非常大
关于新款MacBook Pro讨论最多莫过于刘海屏,目前包括Macrumors以及95tomac的媒体都表示,新款MacBook Pro可能会采用刘海屏设计。
实际上,关于这一爆料最早可以追溯到 2个月前 ,用户ty89在V2ex论坛上的爆料。

在很长一段时间以来,该爆料并没有得到太多人的关注,直到最近网友发的一张 疑似新款MacBook Pro屏幕的示意图 。

除了上述的爆料外,从苹果的mac OS Monterey、Safari技术预览版以及更早前的专利透露出的信息,也可以证实新款MacBook Pro上刘海的存在。
有开发者在macOS Monterey预览版中发现了 疑似 新款MacBook Pro的屏幕分辨率“3456 x 2234 Retina”和“3024 x 1964 Retina”,这与以往的任何其他MacBook产品 不同 , 而之所以有 分辨率的变化 似乎也应证了刘海的存在。

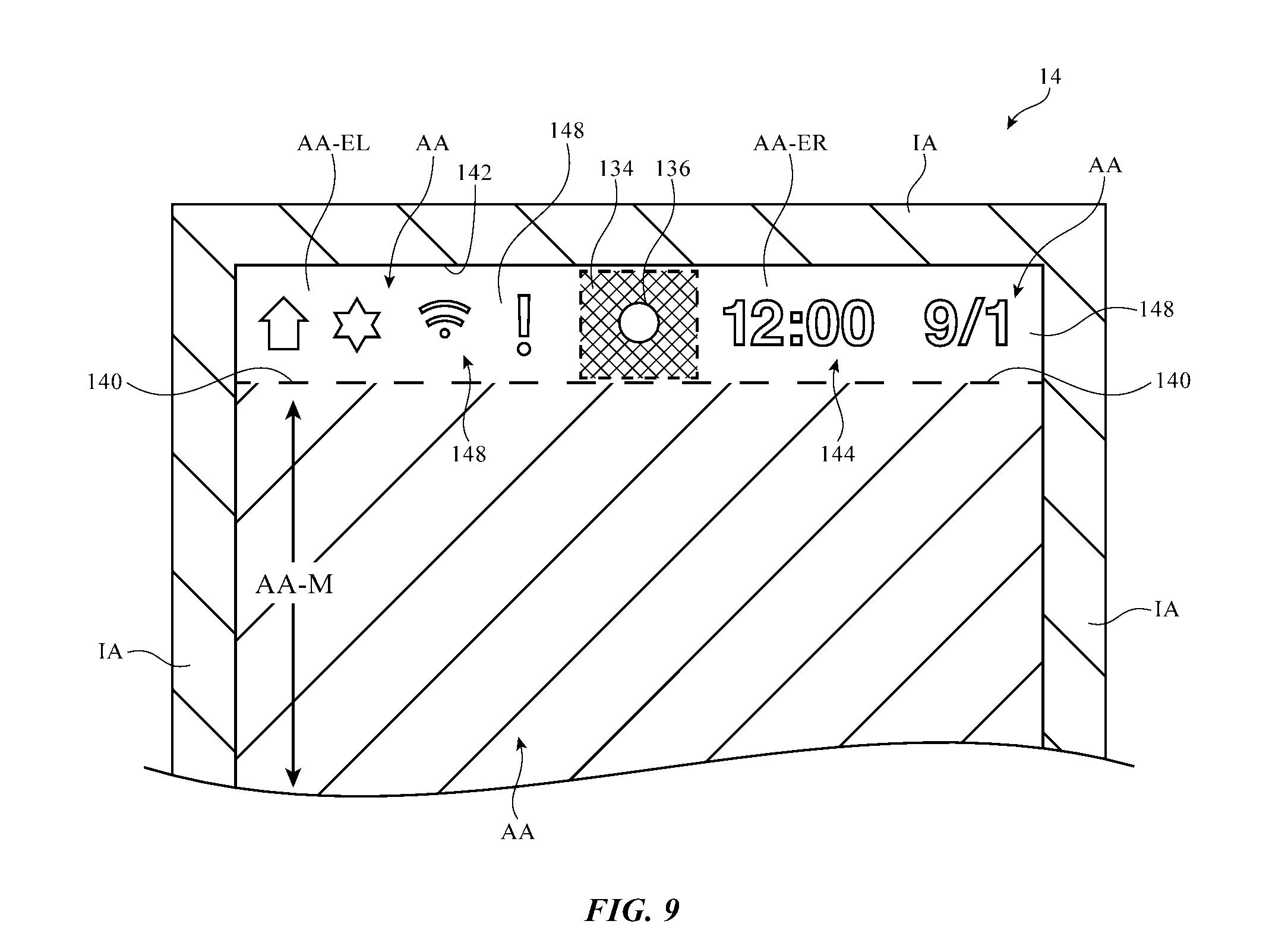
有开发者在 Safari技术预览版 的崩溃堆栈里发现了[NSScreen_safe Area Frame]的调用,NSScreen是macOS App Kit里描述“屏幕”的类,而“safe Area”的最早出现在 iPhone X 上,用来指示屏幕顶部和底部显示内容的“ 安全区域 ”。

苹果在 2019 年向美国专利局提交的一项题为 “具有扩展活动区域的电子设备显示屏”的专利。描述了一款笔记本电脑,其特点是除有一块矩形的主屏幕外,在屏幕周围(上方)还有两个 "扩展区域",拓展区域分别位于 摄像头两侧 。

也就是说,在新款的MacBook Pro上,苹果可能会 摄像头两侧区域 新增用于显示状态栏、菜单栏以及控制中心的屏幕, 类似于iPhone的刘海设计 。
除了刘海,MacBook Pro上还有哪些变化
除了可能出现的刘海屏设计外,MacBook Pro上的处理器信息也 很早就曝光 了。消息称,新款MacBook Pro将采用下一代 M1X处理器 ,配备 10核CPU ,包括8个性能和2个能效内核,14和16英寸款分别采用 16、32核GPU 。

在去年11月苹果发布的M1 MacBook Pro中,最多也才采用 8核 (4性能+4能效) CPU 以及 8核GPU 的组合。因此今年新款MacBook Pro的性能提升可以说是非常明显。

另外,目前多数消息来源基本也证实了新款MacBook Pro会带来更多接口,比如新增SD/TF卡槽、 HDMI接口 ,同时 取消了Touch Bar ,改用传统的物理按键,MagSafe磁吸充电也会回归,同时 保留 C口(雷电接口)的 PD充电 。

分析师Ross Young称,新款MacBook Pro将支持mini-LED和 120Hz刷新率 ,发布会海报上灯光汇聚成的logo基本也可以证实mini-LED屏幕的存在。另外,在屏幕底部也没有边框上 没有“MacBook Pro”标志 。

最后在电池方面,14英寸和16英寸MacBook Pro电池依旧是由欣旺达提供,14英寸为 6068mAh ,略高于13英寸的版本;而16英寸则为 8693mAh ,相较上一代没有提高。

期待已久的AirPods 3
经历多次跳票之后, AirPods 3 真的要来了,尽管不是这次发布会的主角,但是也获得了不少的关注,毕竟距离上一代AirPods已经过去 两年半 时间了。

早前,外媒也已经曝光了AirPods 3的渲染图,其整体造型与AirPods Pro类似,充电盒同样采用了 圆润的设 计 ,耳机采用了 短柄设计 ,但 缺少 像AirPods Pro一样的 主动降噪功能 。

同时,AirPods 3 还将搭载 新一代的无线芯片 ,获得更好的续航能力,以及 标配无线充电盒 。
mac OS Monterey正式版
在去年11月11日M1 Mac的发布会后,mac OS Bigsur于两天后也就是13日凌晨推送了正式版。不出意外的话,苹果将在大约 21日凌晨 推送mac OS 12 Monterey正式版。

Monterey相对于Bigsur的更新,主要有快捷指令、实况文本、低电量模式等,至于WWDC大会上让人眼前一亮的通用控制Universal Control 还未正式上线 。

不过需要注意的是,鉴于目前iOS 15还存在着不少的Bug,在mac OS上也非常有可能会遇到 软件兼容性 或者 其他的Bug问题 。如果追求 稳定使用体验 的话, 建议再观望一段时间 。
想要获取更多苹果技巧资讯和优质配件,可以 点个赞 , 点个关注 。