
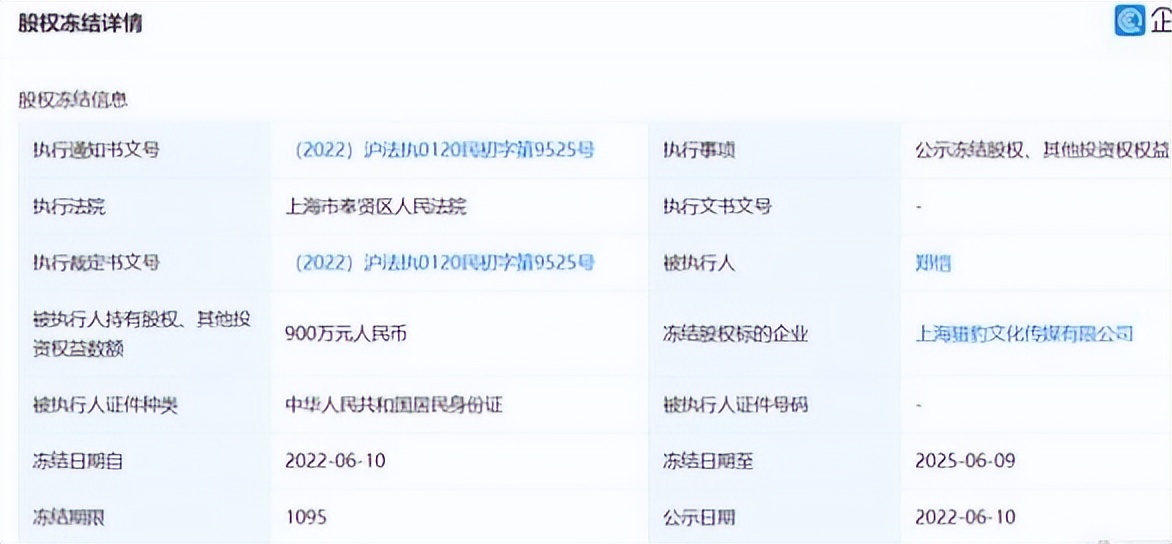
6月14日,郑恺所在的上海猎豹文化传媒有限公司,股权900万元被冻结,郑恺被列为被执行人。
冻结时间为三年,是借款合同引起的纠纷,原告为白雪。

看来,这几年疫情和经济因素影响的不只是普通人和大型企业,从借款合同来看,郑恺这些明星投资人也受到影响。
作为明星,郑恺的薪酬比较固定,也相对稳当。

作为投资人,郑恺凭借他的商业嗅觉,经营着18家公司,是7家公司的法人,涉及的行业除影视外,还有游戏、潮牌、餐饮、时尚、天使投资、电商等多个行业。

虽然鸡蛋没有放在一个篮子里,但是今年多个行业经营艰难,如果前期投入太大,就会在今年暴雷,出现现金流紧张的问题。

虽然900万对郑恺来说,不足以压垮他,他还可以多参加商业活动弥补,但是他投资的多个行业,是不是也有现金流的危机,这还要从他开始构筑商业版图的从一点一滴开始。
1
2004年,经常出入电视台主持《百姓戏台》的郑恺,高中毕业了。

因为在学校经常主持大型晚会和活动,郑恺报名上海戏剧学院的主持专业和表演专业。结果,初试就被刷下来了,郑恺只好去考表演。
2万考生,只招收26人的表演系,居然看中了郑恺。
想想自己也是精英,就开开心心去了表演系。在上戏表演系,郑恺和杜江、陈赫一个班一个宿舍。

三个人里边,最有钱的是郑恺,因为郑恺是广告小王子,大学期间,经常有快餐类、小零食广告找他。
最早的一个广告是矿泉水广告,是在路上被导演截下的。那天,郑恺正骑着自行车从旁边经过,被导演叫住,说你再骑着过来一遍,顺便做个手势,郑恺就来回骑了几遍。
导演说,好,给你瓶水,走吧。郑恺很高兴,骑个车,都能赚瓶水,这就成了郑恺的第一条广告。

后来,郑恺还接过追飞碟的广告,是一个鞋广告,他就把飞碟扔出去,再跑过去抓住。就这样来来回回,在上海街上跑了一天,赚了几千块钱。
一般人这顿跑都受不了,郑恺是短跑国家二级运动员,又是学表演的,导演就是看中了这点,才找的郑恺。

就这样,郑恺凭借自身运动、时尚的气质,成为广告商的宠儿。平均每个月接6条广告,粗略算算每年72条广告,大学几年下来,超过百条广告。
那时候视频广告一条1500块,平面广告一张2000块,但是郑恺楞没存下钱。那时候郑恺很大方,经常带同学逛七浦路,买很多东西,请同学吃饭,最后钱全花完了。

2
大学毕业后,郑恺进组、试镜,跑得很积极,参演过尚敬的《都市六人行》、《奔跑吧有情人》,曾与闫妮、高亚麟、殷桃合作主演军旅情景喜剧《卫生队的故事》,但似乎并不出色。
直到2010年,参演电视剧版《杜拉拉升职记》,才被评为中国风尚榜年度新人奖。后来和李晨等人拍了电影版《奋斗》,和白百合、贾乃亮拍《离婚前规则》,还是不温不火。

2013年,一直小透明的郑恺,接到一个临时试镜的电话,赵薇导演的《致我们终将逝去的青春》,饰演许开阳的演员临时生病,让郑恺去试镜。
因为是偶像导演的电影,郑恺先去打了场球,放松了下,才来见赵薇,看到郑恺的形象和他的态度,赵薇定下了郑恺。
才随着《致我们终将失去的青春》的大火,郑恺也进入观众的视线。

那时候,郑恺27岁,一直努力,没见成果的他,有一天,被经纪人临时接走,原来公司给他争取了个机会,去冯小刚的《私人定制》试镜。
一听是冯小刚,郑恺激动到不行,路上经纪人一直叮嘱,千万别紧张,千万别紧张。
原来上午面试了6个,一个也没成,都是太紧张,当时还是葛优亲自过戏。

郑恺一到片场,灯光、摄像非常严谨,像真拍戏似的,冯导就坐在对面,怪不得那几位紧张。郑恺壮着胆子演了一遍,冯导让他再来一遍,郑恺又表演一遍,冯导又让来一遍,就这样来来回回7遍。
虽然啥也没说,郑恺就觉得有戏,结果真的被选上了。

3
这之后,郑恺的演艺事业开始向上走,第二年,他参加真人秀综艺节目《奔跑吧,兄弟》,出乎意料的成功,因为反应快,跑得快,阳光帅气,被称为小猎豹,成为跑男团固定成员。
通过《奔跑吧,兄弟》,郑恺阳光、帅气、正能量的形象,为他赢得微博粉丝超3343万。
郑恺经常与粉丝互动,增加黏度。

但是他遇到了一件尴尬的事,在节目中,他用力过猛,在节目中放了个P,节目组居然没裁掉,顿时尴尬之极。
有社交牛逼症的郑恺,却从这个事情中发现商机。他找到与潮牌设计师林子君, 从产生念头到定稿仅仅用了10分钟, 设计出蘑菇云裤。

上市7秒,就被粉丝抢购一空,最终销量5000多条,当月赚了100多万。
有粉丝穿着衣服拍照,上传微博,郑恺都给他们点赞,这也让郑恺觉得很有成就感。坚定了继续做潮牌的决心。

2016年,郑恺 与林子君, 整合公司,两人由合作艺人变成合伙人。开始了紧锣密鼓的创业之路。
拍戏没有时间,林子君就跟郑恺利用片场空余时间见缝插针,看设计样衣,经常是郑恺拍一两个镜头,回来看一下,再去拍,再回来看。
“专业的人做专业的事,演戏要专业,做生意也要专业”,是郑恺对自己演戏和做生意的要求。
演戏之余,郑恺学会看账,懂得投入产出。每个季度都看报表,看花了多少钱,赚了多少钱,快递多少钱,退货多少钱,仓库花了多少钱,控制成本。

随着潮牌的发售,郑恺自创品牌受到粉丝热烈追捧,覆盖帽子、手环、衣服、裤子、手机壳多个产品。
为了宣传品牌,郑恺经常穿着自己的衣服上节目,还为剧组提供服装,送周围明星朋友,开发电影周边产品。
在《老炮儿》、《美人鱼》拍摄中,他为剧组提供服装,在自己拍摄的《前任2》中,也给剧组工作人员,人手一套。

与《煎饼侠》的联名是品牌第一次跨界尝试,是郑恺牵的线。他几乎在每一个拍戏的剧组逮到机会就问:“咱们做组服吗,我有品牌”。
郑恺知道,他不可能一直穿着衣服招摇过市,一定要有专业团队,把产品打造成一个大家都认可的品牌。

2016年冬天,郑恺的品牌推出兔兔鞋,在“双11”炸响娱乐圈。赵丽颖、陈乔恩、霍思燕、王珞丹等一众女明星纷纷发微博“感谢郑老板送鞋”。短短两个月,兔兔鞋卖了5万双。


同年,郑恺代言某品牌汽车,知道汽车公司需要做一些纪念品送车主,郑恺就主动跟合作方谈。汽车这边很感兴趣,郑恺抓住时机,发布了自己品牌的车载包。

4
尝到甜头的郑恺,不局限在潮牌的开拓, 2016年7月,郑恺官宣,担任国内知名手游首席内容官,进军游戏行业。
郑恺既注重影视作品和游戏的结合,又注重原创。他开始又一次新的尝试。
之后,郑恺和何俊贤一起在北京成立了一家数字科技公司,主营游戏开发、运行、泛娱乐化。

路子打开了,知名度来了,郑恺获得了跟更高层商界名流的接触。
他开始投资网络平台,创业空间。俨然成了一个明星投资人。
2015年,郑恺参加腾讯全球合作伙伴大会,担任明星大使。他以创业者身份进入腾讯众创空间,与创业者交流经验,把自身经验与互联、创业做充分连接。
郑恺成为天使投资人,青年创业主推大使。

对比这几天的960万,郑恺曾经有一天赚7亿的记录。
他创立的浙江东阳浩瀚影视娱乐有限公司,曾经被华谊兄弟以7.56亿购买70%的股权。其中包括冯绍峰、李晨、杜淳、angelababy等人的股份。算下来,一个人也有一亿多。

看准资本对影视圈的掌控,郑恺持股华谊浩瀚影视公司,成立小猎豹影业,自己当老板。
2018年开始,郑恺又将创业范围扩展到了休闲、餐饮业。
他先是在上海巨鹿路开了一家高端酒吧,这个酒吧光面积就3000多平米,据说一个好位置的卡座要30万,这还不包含酒水消费。名流富豪、圈内艺人经常光顾。
每到夜晚,这里的豪车,经常把马路围得水泄不通。


他还投资了火凤祥鲜货火锅,做起全国连锁。
但是7月18日,成都一家名为“吼堂老火锅”的餐厅在自己的官方微信上发布了《致郑恺先生的一封信》。
信中称郑恺在宁波新开的这家“火凤祥鲜货火锅”从设计风格到装修方式涉嫌抄袭吼堂老火锅。
据说这个火锅店,并不是全部归郑恺所有,他占大部分股份,听到这个消息,郑恺在微博上说,如有抄袭,立即整改,绝不姑息。

去年年底,火凤祥再次上了热搜,昔日以“掌柜”郑恺及其团队,悄然退出火凤祥。
5
做了这么多行业,郑恺的重心还是在自己擅长的领域。
代言、综艺接到手软,陆续播出的《奔跑吧》让他名利双收。

2018年,郑恺首次登上中央电视台春节联欢晚会,与大兵、娄乃鸣等表演小品《同喜同乐》。
同年,与杨子珊搭档主演的都市情感剧《好久不见》首播,在剧中饰演男主角贺言,并演唱同名主题曲《好久不见》。

郑恺参与度最高的还是影视行业,开始自己做出品人。
近几年,郑恺以出品人、演员的身份,参与制作了《漂洋过海来看你》、《无尽日》、《我是东北银》等知名影视作品。

郑恺很清醒,“肯定会有那一天,人气会过,不可能一直红下去。长江后浪推前浪,这是必然的,那我就转换身份嘛。
郑恺曾经他想把手中的资源打通,形成一个包含影视、游戏、经纪公司、衍生品等的完整产业链条,为此,他自从工作以来,全年的休息天数,用个位数统计。

也在这时,他遇见了值得相伴一生的苗苗,从此郑恺告别“夜店小王子”的外号,非常顾家,前不久苗苗生育完二胎,两人生活很美满。

至于这次的900万冻结资产,商业的事,我们很难说清楚,毕竟我们不了解实情,今年的经济,我们自己都深有体会,也没必要妄断揣测别人的事情。
希望郑恺做任何事情,像跑男团传递给我们的正能量一样,阳光、健康、向上。
