
北京时间6月9日上午,NBA2021-2022赛季总决赛第三场,波士顿凯尔特人队以116:100战胜金州勇士队,系列赛大比分2比1领先。
此役,勇士队球星史蒂芬库里22投12中,三分球11投6中砍下31分,但未能带队取胜,冲击个人第四冠和首个FMVP之旅蒙上阴霾。
以上是知产力体育频道为您报道

作为8年6进总决赛的王朝球队,勇士队自2015年异军突起后,以小球战术在NBA展现了持续统治力,其当家球星史蒂芬库里更是以空前的三分球能力,赢得了全世界球迷的喜爱。
而中国球迷,绝对是库里粉丝中不容忽视的庞大群体,犹记得北京奥运会入场式上,迎接科比的喧天呐喊声,便是中国球迷对超级巨星喜爱程度的最好注解。

(科比在北京奥运会入场式)
库里:我注册自己的姓名商标,还有人异议我?
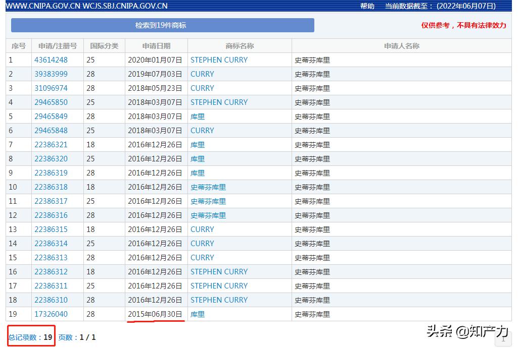
库里也知晓自己在中国的巨大影响力,以及“库里”IP背后巨大的商业价值,于是来中国申请注册商标,主要是“curry”、“Stephen curry”、“库里”、“史蒂芬库里”这几个中英文姓名商标,共计19件:
库里最早来中国申请注册商标,是在2015年6月30日,这时他刚刚拿下自己的第一个NBA总冠军,开启巨星之路。

(来源:中国商标网)
库里申请注册中国商标,是通过委托我国商标代理机构,走的中国国内申请,不是马德里国际商标注册。
而且,库里很可能是NBA球星里, 第一个以个人名义申请注册中国国内商标的申请人 (科比布莱恩特、勒布朗詹姆斯是以公司名义,杜兰特等球星都未注册)。
考考库里老粉,你们知道库里的英文全名叫什么吗?

(来源:中国商标网)
不过,库里申请的这件“库里”商标在通过商标局初审公告后,却遭到他人提起的异议。

(来源:中国商标网)
谁提的异议?当然是我国其他商标申请人,最终这件商标未被异议掉,成功注册。
不过,这件商标算是所有库里申请的商标中,最顺利的一件了, 难关还在后头。
库里:你们可真狠,抢注我、还让我不能注册!
在中国商标网检索“库里”、“curry”,结果超过700件,去除其中明显无关的商标,再结合库里在NBA出名的时间,涉抢注的商标保守估计有100件!
比较典型的有“库里篮”、“库里安德玛”、“库里乔丹”、“库里curry”、“库里罗斯”、“库里拉文”、“库里勇士”、“库里科比”、“库里三分”、“库里詹姆斯”、“库里刘冠”、“库里萌神”等。
其中最令人印象深刻的一件商标,是下方这件,该商标申请与2009年6月24日。

熟悉NBA的朋友应该知道,这时应该是每年NBA的选秀季——库里是2009年新秀。
严格来说,这件商标申请日要比库里那年的选秀还早两天,这位商标申请人的眼光,不可谓不毒辣。
说句题外话,他在6月24日一共申请了3件NBA新秀姓名商标,分别是库里、塔比特、卢比奥,也许这是他心目中的状元、榜眼、探花秀,除了看库里看的精准,其他二位相比格里芬、哈登甚至德罗赞、霍乐迪等人,还是 乏善可陈 。

他的这件“Stephen Curry”商标,注册的最早,后来他又在2016年5月13日又申请了一件同类别上的“Stephen Curry”商标。
库里对这两件获准注册的商标提起了无效宣告,理由主要有:一、争议商标违反2013年《商标法》第三十二条规定的“以不正当手段抢先注册他人已经使用并有一定影响的商标”,二、违反2013年《商标法》第四十四条第一款“以其他不正当手段取得注册”的规定。
商标评审委员会没有支持第一个理由,因为 申请人提交的证据不足以证明在争议商标申请注册日之前,申请人商标在相同或类似商品上在先使用已在中国大陆市场范围内经广泛宣传和使用具有了一定的知名度或影响力。
两件商标申请日分别为2009年6月、2016年5月13日,第一件不用说,当时库里还是个籍籍无名的新人,第二件申请之时,库里手握一冠,但还没有MVP、FMVP以及历史三分王等荣誉,确实知名度上还差一点,与科比、詹姆斯等全球巨星还有很大差距。
然而,最后商标评审委员会还是支持了史蒂芬库里的无效宣告请求,对两件商标予以无效宣告。
原因是,争议商标申请人还申请注册了 “绿洲骆驼GREENLAND CAMEL及图”、 “麦蒂”、“卢比奥LUBI’AO”、“塔比特Thabeet”、“本泽马BENZEMA”、“贾斯汀比伯Justin Bieber”、图形(与超人标志类似)等均为与较高知名度商标标志及名人、运动员名字相近似的商标, 此种注册行为明显具有不正当攫取他人商誉的主观意图。
你看,要不是此人是个惯于抢注囤积商标的老手,库里的无效宣告很可能失败。
“Stephen Curry”商标一波三折,算是看见曙光了,库里继续走确权程序的话,那此前被这两件引证商标阻碍注册的几件“Stephen Curry”商标,应能顺利注册。
不过, “curry”商标可就难受了 。
史蒂芬库里曾对第16206128号“curry”商标、第20185812号“Curry”商标提起无效宣告,不过未能成功。
商标评审委员会认为,在案证据能够证明库里在中国在篮球运动领域具有一定的知名度,但是本案争议商标文字“Curry”与申请人姓名“WARDELL STEPHEN CURRY II”存在一定区别,“Curry”为英美普通姓氏,并且“Curry”可以译为“咖喱”,为普通英文词汇,因此,难以认定争议商标字母组合“Curry”与申请人姓名之间存在当然的对应关系,相关公众看到争议商标使用在指定商品上时,不会将其与申请人联系在一起, 争议商标的注册未损害其在先姓名权 。
两个注册商标横在这,无效不掉,怎么办?当然不是打不过就加入,而是含泪买下来……
在 关于第31096974号“CURRY”商标驳回复审决定书 中,申请人史蒂芬库里复审理由中提到:申请人与第20185812号“CURRY”商标(以下称引证商标一)所有人就引证商标一的 转让事宜基本完成谈判 并将于近期提交转让申请。
不知道库里花多少钱买下的……库里的身价可是高达1.6亿美元,这位湖南省吴姓商标权人绝对会大赚一笔!
在已公开的史蒂芬库里作为申请人的驳回复审决定书和无效宣告请求裁定书中,他的请求获得支持的仅有3件。
命中率27%,远低于库里的三分命中率,甚至比威少还低。

总而言之,库里中国商标注册的确遭遇了较大的窘境,不仅核心姓名商标被疯狂抢注,还阻碍自己正当注册,甚至要为之付出巨大的成本。
这一窘境的原因,既与部分商标注册者大规模抢注有关,也与其过于后知后觉、不注重中国市场有一定关系,在可预见的未来,他还要为此继续付出成本。