今天来聊一下张涵予,这老哥可真比我们平时印象里的不太一样。

日前,有网友晒出一则《中国机长》部分主演们在片场嗨歌的视频,视频中张涵予、袁泉、李晨和朱亚文等人打扮低调,动情合唱《明天会更好》,时不时还有些走音,看着现场十分搞笑、和谐。

张涵予站在C位,摇摆着身体,手里打着节奏,还有几分可爱,与戏中硬汉形象判若两人。此前早有消息称,作为曾经拍摄过《中国机长》的原班人马再次集结,即将拍一部新片——《中国医生》,电影的主旨是中国电影人对于抗议英雄的致敬。

《中国机长》作为2019年国庆档最大黑马,从最初新片垫底到之后凭借口碑一路飙升至冠军,最后斩获29.13亿票房,直接进入中国影史排名第五名,足以看出影片质量和影响力,此次原班人马打造的《中国医生》也备受期待。

值得一提的是,影片的导演依然是刘伟强,搭配主演张涵予,必定是王炸。很多观众都是冲着张涵予的名声来看,形成张涵予一出必是精品的现象。

能够有这样的肯定对张涵予来说,三生有幸。娱乐圈中不乏大器晚成的演员,雷佳音、郭京飞、和张嘉译等等,而张涵予也位列其中。

起初,张涵予是一位专业的配音演员,被伯乐推荐后,才能得到展现,陆续为《这里的黎明静悄悄》等作品配音。第一部片子他就赚了56块钱,在1981年这可是笔巨款。
随后,《三千里寻母记》50多集,他挣了700多块。1983年,他买了一辆摩托车,花了3000块,骑了两年后,卖了5000块。

那时影视剧不多,配音还是个精细活,渐渐演变成“行活”后,张涵予也干得腻了。90年代中期,他去澳洲学英语,中间认识了一些做国际贸易的朋友,发现了一些商机,张涵予回国后开始做贸易,把美国卡车卖到中国。

每天打着领带和国外人谈判,97年,金融风暴,他赔了不少钱,另外加上自己的性格,不适合跟人打交道,无休止地周旋于客户之间。1998年,经发小傅彪介绍,张涵予踏进演艺圈。

傅彪那时虽然不是大腕,但合作的是冯小刚,所以张涵予起点还是很高的。他相继出演了《没完没了》《大腕》《手机》等作品,都是跑龙套。
终于在《集结号》,张涵予当上主角,为了贴合角色形象,他从原来的130斤减到了110斤,在东北零下20多度的东北,他背着20多斤重的装备,脸上用胶水粘着化妆的煤渣,在雪地里爬来爬去。

凭借这个戏,张涵予斩获金鸡、百花、华表、金马各种影帝,此时的他迎来人生高光时刻,这一年,张涵予44岁。

大火后,我们看到张涵予在《智取威虎山》《湄公河行动》《老炮儿》中的英雄形象,他也成为各大导演的*用御**演员和票房保证。

戏中屡创佳作,戏外更是人生赢家,张涵予还投资开了多家公司,像著名的欢瑞时代等,都有他的股份。除此之外,他的个人爱好就是收集古董,家中上上下下摆了上百件珍贵的收藏品,价格不菲。

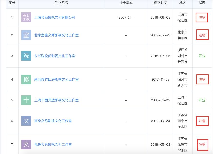
直到最近,有网友发现,张涵予多家公司被注销,其中注册资金少则300万,多则1000万,损失惨重,但他仍然不痛不痒,深夜与朱亚文、李晨合唱,感觉丝毫没受影响,看来,这些资产在他眼里应该不是大问题。

另外,张涵予是博纳影业的大股东,近期,博纳成功上市,股东们的腰包变股,自然是满面红光。而且《中国医生》是博纳影业旗下出品,暂定于明年暑期档上映。
据悉,在武汉解封后,《中国医生》的工作小组就深入疫情一线,和众多医护人员交流,收集各种资料,拍摄了许多视频内容,为前期筹备工作做了大量准备。

导演刘伟强也和钟南山院士进行了座谈和交流,钟南山还亲自为电影题字。相信能够创作《中国机长》的优质电影,《中国医生》也不会让大家失望,张涵予更不会让观众白白期待。