一、选择题(每小题2分,共24分,每小题只有一个正确答案)
16.关于物理量的测量,测量结果正确的是( )

A. 木块长度为2.5cm B. 物体质量为41.3g C. 液体温度为30℃ D. 消耗电能为1866.6J
17.关于光现象的描述,下列说法不正确的是( )

A. 甲图:墙上出现手影——手挡住了光沿直线传播的路径
B. 乙图:从不同角度能看见光屏上的实像——光发生镜面反射
C. 丙图:平行光经凹透镜后的现象——凹透镜对光有发散作用
D. 丁图:小明通过平面镜看到小猫,同时小猫通过平面镜也看到小明——反射时光路可逆
18.在“冰城”哈尔滨的冰雪大世界中,下列说法正确的是( )
A. 嘴中呼出的“白气”是凝华现象
B. 用古制成的雕塑经过一段时间自然变小,是汽化现象
C. 雪的形成过程是放热过程
D. 冰放在手上熔化了,冰在化过程中温度升高
19.如图所示,2018“世界杯”比赛动画版情景,说法正确的是( )

A. 以球门为参照物,射向球门的球是静止的
B. 球在空中飞行时比静止在地面上时质量大
C. 球被小宝顶出后由于具有惯性继续飞行
D. 踢球时,脚对球有力的作用,球对脚没有力的作用
20.如图所示是一种太阳能飞机,下列说法不正确的是( )

A. 机翼做成上凸下平的形状可以获得向上的升力
B. 旋浆转动发出轰鸣的响声是噪声
C. 飞机在向上飞行的过程中,所受大气压逐断变小
D. 机翼上的电池板将电能转化为太阳能
21.关于同学们去三峡旅游遇到的情景,说法正确的是( )
A. 在边能闻到花香,是由于分子不停地做无规则运动
B. 三峡的船闸是利用阿基米德原理工作的
C. 大坝放水时,听到震耳欲的水声是由音调高造成的
D. 船上的声呐设备利用次声波工作
22.下而面的电路图中,连接正确的是( )

23.下列列说法正确的是( )

A. 甲图:根据通电螺线管信息可知,小磁针的指向是正确的
B. 乙图:麦克风是一种传感器,它是根据磁场对电流的作用制成的
C. 丙图:被手反复摩擦的塑料绳散开,是因为异种电荷相互排斥
D. 丁图:用湿抹布擦正在发光的灯,符合安全用电原则
24.下列说法不正确的是( )
A. 钻木取火是通过做功的方式改变内能的
B. 汽油机压缩冲程中内能转化为机械能
C. 核电站利用了核裂变获得能量
D. 0.5kg氢气完全燃烧放出7.15×107J的热量(氢气的热值是14.3×107J/kg)
25.如图所示,利用滑轮组将重力为2N的物体,以0.2m/s的速度提升0.1m拉力F为1.2N.
下列说法正确的是( )

A. 绳自由端移动的速度为0.6m/s
B. 这个滑轮组是费力机械
C. 滑轮组的机械效率为83.3%
D. F所做的有用功为0.24J
26.甲、乙两图中铁球沿斜从顶端由静止滚下,到达水平面后斜槽续运动,最终停止.
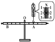
下列分析不正确的是( )

A. 甲图:铁球从斜顶端到底端,重力做功,重力势能变小
B. 甲图:铁球在顶端时动能为零铁
C. 乙图:整个过程铁球的机械能是守恒的
D. 乙图:磁铁对铁球磁力的作用改变了球的运动方向
27.如图是“水位自动报警器”电路图,容器中装有盐水,L1和L2分别是“2.5V 0.3A”和“2.5V 0.5A”的灯泡,下列说法不正确的是( )

A. 液面上升到与金属块B接触时,电磁铁工作,说明盐水是导体
B. 液面上升,金属块A受到的液体压强变大
C. L1工作1min电流做功45J
D. 若在电路中M点接入电铃,电铃响表示水位到达警戒线
三、非选择题(36题~51题,计46分)
36.(2分)近日,上海合作组织青岛峰会引来全世界关注,用卫星转播峰会实况是利用 来传递信息的;记者的说话声是由声带 产生的.
37.(2分)小聪坐在一辆行驶在平直公路上的车里,车运动的快慢是变化的,小聪用手表计时t为3mim,还知道这段时间内汽车通过的路程s为4km,则s/t= km/h,这个物理量反映了车在这段时间内的 .
38.(2分)如图是“研究水沸腾规律”的实验,试管中水的质量为0.2kg,这些水由20℃升高到70℃吸收的热量是 J; 水沸过程中, 温度计示数将
【c水=4.2×103J/(kg·℃)】

39.(2分)通过110Ω电阻丝的电流是2A,产生8800J的热量需要通电 s,这段时间电流做的功是 J.
40.(2分)夏天把西瓜放在冷水中降温,西瓜浸没于水中后松手,西瓜会上浮,是由于
;用手捞出西瓜的过程中,人感觉越来越费力.由此可以猜想浮力大小与 有关.
41.(2分)使用塑料筷子时,需要用较大的力才能夹起食物,这是在接触面相糙程度一定的情况下,通过 的方法来增大摩擦,用吸管吸起饮料利用了 的知识.
42.(2分)电阻R1、R2串联,电源电压是10V,R1两端电压为8V,R1为10Ω.则R1中的电流等于 A,R2等于 Ω..
43.(2分)“探究小灯泡电功率”的实验电路如图甲,实验中选择“2.5V”小灯泡,调节滑动变阻器滑片的过程发现灯亮度变化,这是由 变化引起的.实验得到灯的U—I图像如图乙,则小灯泡的额定功率是 W.

44.(2分)小明将电水壶插头连接在如图所示的三孔插座上,电水壶正常工作,同时电水壶金属外壳与 相连,此时将台灯连接在图中两孔插座上,用合开关后灯不亮,原因是
.之后,小明成功地排除了故障.

45.(2分)在“测量矿石密度”实验中,从同一标本上取下三块矿石通过测量分别得到三组数据,第一组数据是m1=12g,V1=2.5cm2,剩下的两组数据记录在纸上丁(如图).请梳理出其中一组数据填入空中(要带单位),梳理的依据是 .

46.(2分)如图所示,在“探究杠杆平衡条件”实验中,用带有等间隔刻度的杠杆进行实验,实验前已调杠杆水平平衡.在A点加竖直向上的力.为使杠杆恢复水平平衡,请画出在B点施加的最小力F的示意图及其力臂L(标出F大小).

47.(2分)如图所示,F是凸透镜焦点,请画出光线a、b对应的折射光线和入射光线.

48.(5分)300多年前,伽利略对”力和运动的关系”进行了探究.下面是模拟伽利略“推断物体不受力时运动情况”的实验.如图是同一小车从同一斜面的同一高度由静止下滑,在粗糙程度不同的水平面上由运动到静止的过程(四种接触面的粗糙程度由小到大的顺序是:玻璃板、纸板、棉布,毛巾).


(1)小车在水平面上运动时,在竖直方向上受到的力有 ,其合力为 ;
在水平方向受到摩擦力,这个力对小车运动状态的影响是 .
(2)为了便于推理得出结论,请将图中的四次实验排出合理的序: .
(3)牛顿在伽利略实验的基础上,进一步推广得出:一切运动的物体,在不受外力作用时,总保持 状态,这一普遍规律奠定了牛顿的力学基础.
49.(5分)验探究:平面镜成像特点.
(1)请将摆放器材的过程补充完整:白纸平铺在水平桌面上,蜡烛A正确放在白纸上,
.(器材如图甲)

(2)徐丽摆放好器材后,点燃蜡烛A.另拿一个与A相同的蜡烛B替代A去找像,发现B与A的像完全重合并像点燃了一样,由此可分析出那些信息?(请写出两条)
(3)回家后,徐丽照镜子(如图乙),她认为当她离镜子越远时,自己的像越小想要证明她的观点是否正确,请写出你需要收集的证据.
50.(6分)在“探究电流与电阻关系”"的实验中中,庆宝连接的电路如图甲所示,
(1)实验前,检查电路发现连接出,请在图中用笔画线代替导线改正错误.要求:滑动变阻器滑片向右滑动时电流表示数变小.(若需去掉导线,可在要去掉的导线上打“×”)


(2)改正后,用5Ω电阻进行实验,电压表示数为U时,电流表示数I1如图乙,是 A.之后,用10Ω电阻替换50Ω电阻继续实验.发现电压表指针偏转超量程,电流表有示数,他操作中存在的问题是 .
(3)庆宝正确测量了三组数据(如图表).他还想用手边200Ω电阻获取第四组数据.他只依据表中信息就发现此电阻不适合,请根据表中信息写出实验结论,并写出分析200Ω电阻不适合的原因.
51.(6分)随着生活水平的提高,汽车成为人们常用的交通工具.下表是两种汽车的相关数据:

(1)电动汽车工作时电动机最大功率为90kW,工作电压为300V.求电动机工作时最大电流是多少?电动机工作5min,电流所做的功最多是多少?
(2)电动汽车和燃油汽车轮胎与地面的总接触面积均为0.1m2,求两空车静止时对水平地面的压强之比.
(3)若从哈尔滨经高速公路自驾到某地旅游,两地距离S0为2000km,电费或油费的预计支出为700元,通过计算说明两车能否到达目的地.(高速路上能满足充电或加油的需求)
(物理部分)
|
题号 |
16 |
17 |
18 |
19 |
20 |
21 |
22 |
23 |
24 |
25 |
26 |
27 |
|
答案 |
C |
B |
C |
C |
D |
A |
C |
A |
B |
C |
C |
D |
36.电磁波 振动
37. 80 平均快慢程度
38. 4.2×104 不变
39. 20 8800
40. 西瓜受到的浮力大于重力 物体排开液体的体积
41. 增大压力 大气压强
42. 0.8 2.5
43.灯泡实际功率 0.75
44. 保护接地线 台灯所在支路开路
45. m2=50g V2=10cm3 ρ=m/V,密度是物质的一种特性
46. 如图所示.

47.如图所示.

48.(1)重力和支持力 零 减小车的速度
(2)(b)(d)(c)(a)
(3)匀速直线运动
49.(1)玻璃板垂直桌面放在白纸中央
(2)像与物体等大 像的位置
(3)同一物体在不同物距时对应的像的大小
50.(1)如图所示

(2)0.6 更换电阻后没有把滑动变阻器的滑片调到B端,就闭合了开关
(3)结沦:导体两端电压U一定时,通过它的电流I跟它的电阻R成反比;IR=3A·Ω
分析:根据结论可知,I4R4=3A·Ω,R4=200Ω
I4=3A·Ω/200Ω=0.015A ,I4小于电流表的分度0.02A ,误差太大,所以200Ω电阻不适合.
