来源:测量俱乐部
几何尺寸公差 (GD&T,Geometric Dimensioning and Tolerancing)是一种用符号来表达零部件几何尺寸与公差的方法,是一种用来描述零件的尺寸、形状、方位和定位策略等特征的精确的数学语言,也是一种关于设计和标注零件的设计思路。
不同企业使用不同的GD&T标准。 GD&T设计贯穿零部件设计、制造、检测全过程,它不仅会直接影响零部件的设计和制造质量,同时也对产品的开发周期和成本有着重要影响。
为了满足零件设计制造质量和装配精度要求,保证零部件的互换性和制造经济性,使用GD&T语言表达设计要求拥有比传统正负公差表达具有测量原点鲜明、累积公差最小化、提高信息交流、改善产品设计、在满足装配要求的前提下放宽生产公差、降低制造成本等优点。
零件公差 产生于十九世纪后期,初衷是为了保证零件的互换性,初期只有尺寸正负公差,给定公差一般都比较大。随着产品性能要求的不断提高,产品公差逐步缩小,从而导致产品的可装配性逐渐成了问题,随后泰勒先生提出了装配功能要求的“泰勒原则",即ASME公差标准中的包容原则2,它有效地解决了零件的大小和形状的关系,从而保证了产品的可装配性。
直到二战期间,零件的制造逐渐分包给供应商,设计部门和制造部门越来越远,设计与制造部门之间的随时交流就不太可能,另外一方面产品公差越来越小,零件的可装配性和互换性问题越来越突出。因此定义几何公差的几何语言标准应运而生。
随着这些标准的发展,演化及合并,到今天世界上的几何尺寸公差标准有两大标准: ASME Y14.5 和 ISO标准 。
ASME Y14.5是美国国家标准,ISO是国际标准。美国国标用一个标准来规定几何尺寸公差,即ASME Y14.5,该标准最新版本是ASME Y14.5-2018,而在ISO标准体系中几何尺寸公差分布在不同的标准委员会,几何尺寸公差标准是一个标准簇,包含的标准如表1所示。

两种标准差异
两标准都是为了解决零件的互换性和可装配性问题。Krulikowski,Alex对比两个标准内容发现两个标准大约80%~90%的内容重叠"。在剩下有差异的地方,本文重点选取包容原则和独立原则、偏置公差、复合公差和可逆要求等规则一一作对比。
包容原则与独立原则
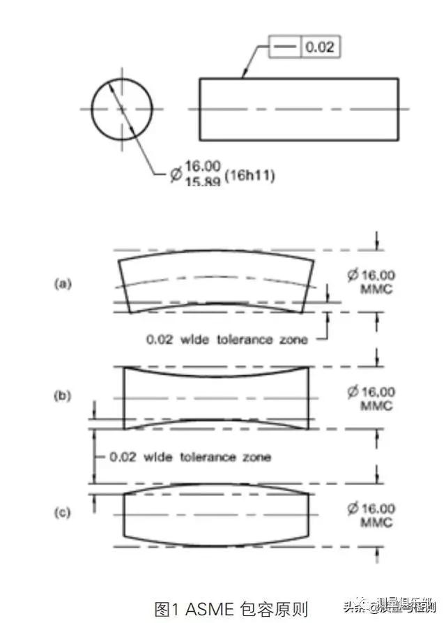
独立原则和包容原则描述的是尺寸公差和形状公差之间的关系。对于包容原则(Envelop Principle),ASME Y14.5的规则1#和ISO 14405-1都有类似的解释,简单概括为“尺寸公差不仅约束尺寸,还约束形状公差”。ASME标准默认包容原则,又被称为1号规则(Rule 1#),如图1所示:

在图1中,一轴类零件的外径(Ф15.89-16.00),在实际生产中,零件会被加工成弯曲、鼓形或者腰形。由于包容原则的存在,尺寸公差不仅仅控制尺寸,还控制形状,图2.1中无论零件怎么弯曲、腰形或鼓形除了任意截面局部尺寸(local size)必须在尺寸公差范围内,整体尺寸(global size)不能超过最大实体尺寸(MMC,Maximum Material Condition)Ф16.00;这其实控制了轴向截面的直线度不能超过尺寸公差0.11。
对于独立原则(Independent Principle),ISO8015:2011和ASME Y14.5中虽有不同描述,但概念基本一样,简单概括为“尺寸公差仅仅约束尺寸",ISO标准和国标默认采用独立原则。
同样是图1中的设计要求,如果图纸使用的是ISO标准,那仅仅要求截面局部尺寸在公差范围内,对其整体尺寸不做要求。在实际设计中,整张图纸采用包容原则个别特征需采用独立原则或整张图纸采用独立原则个别特征需采用包容原则,可采用如表2的方法去描述。具体实例如图2,图3所示:


值得注意的是图3中使用包容要求之后,零件上表面的形状公差不能超过尺寸公差规定值,即0.1,故0.5的平面度要求去掉。
偏置公差
偏置公差的全名叫做“非对称轮廓度(Unilateral Tolerance or Unequally Disposed Tolerance Zone)",偏置公差是一项十分实用的公差标注方法,在汽车开发过程中,为避免搭接零件之间的干涉或者控制总成的尺寸,常常用到偏置公差。ASME和ISO都对偏置公差做了相应的规定,两大标准对偏置公差的修饰符号、格式和偏置的方式都不相同,ASME和ISO标准对于偏置公差的标注格式对比如表3所示:

在ISO标准(ISO 1101:2012)中,公差带的空间形态形态是用公差球来描述的,如图4所示。公差球的球心沿着某一轨迹线或轨迹面移动,公差球的运动区域形成公差带区域。不同于对称公差只需要用一个公差球就可以定义公差带的形态,偏置公差需要两个公差球来定义,一个用于定义偏置公差带中心线(面)的位置,另外一个定义偏置公差带宽度。

各编号含义如下:
1 ——理论轮廓,材料在该轮廓下方;
2 ——定义偏置公差带中心线(面)位置的公差球,球直径为偏置公差量,偏置公差为正偏置公差球在理论轮廓外侧,反之在内侧;
3 ——定义公差带的公差球,球直径为公差值,球的中心位于偏置公差线(面);
4 ——公差带的边界
不同于ISO标准中需要首先确定偏置公差带中心线(面)位置来确定偏置公差带,ASME标准采取直接确定偏置公差带边界的方法。如图5所示。
在ASME偏置公差标注中,U圈前的数值为总的公差值,U圈后的数值为偏置公差带边界相对于理论轮廓沿材料增加方向的偏置量。
在偏置公差实际应用中,设计师关心的是偏置公差的上下边界,对偏置公差带中心线的位置并不关心。相比较而言,ASME Y14.5标准中规定偏置公差的边界的做法更为简便实用。

复合公差
复合公差(Composite Tolerance)是ASME标准中独有的内容,也是ASME Y14.5标准的重点和难点。复合公差是十分实用的规定,特别是需要加严方向而不需加严位置的场合,标注复合公差是一种经济适用的方法。复合公差分为复合位置度和复合轮廓度两种。
(1)复合位置度
图6是一复合位置度实例及其定义。上层位置度的含义和常见的单层位置度定义没有任何区别。下层位置度表示6个 0.5的公差带对基准A的定向,他们相互之间的位置由理论尺寸确定,可以整体在上层中∅1.0的公差带范围内上下左右平移和在A基准平面内旋转,但不能相对于A基准倾斜。
当该零件与另一个法兰零件通过6个螺栓连接时,为避免装配干涉,使用了复合位置度避免了单层公差需要将位置度给得过小造成制造成本增加。这种情况在整车装配中是经常会遇到的。

(2)复合轮廓度
在汽车设计实例中,整车尺寸技术规范(DTS,Dimension Techical Specificaiton)作为-项重要的设计目标,关系到整车的美观性、密封性和装配性。在DTS定义中,不少区域有一致性要求,如图7所示,前后车门除了间隙(Gap)4.0 +1.0/-0.5要求外,还有平齐度不超过1.0的要求。在这样的场合,使用复合轮廓度能在保证DTS一致性要求的时候,避免单层公差过小造成制造成本过高。

在DTS中对一致性有要求的地方,使用复合公差对间隙面或者断差面做要求,如图8所示:

无论是复合位置度还是复合轮廓度,共同点都是公差框格有多行,只用一个公差符号,公差框格首行和普通公差标注没有任何区别,其余公差框格控制组孔(型面)之间的关系或相对基准的方向,简单称之为“只定向不定位",其优点是既能保证设计装配要求,又能避免单层公差公差过小造成制造成本过高。
可逆要求
可逆要求(RPR,reciprocity requirement)是ISO标准里特有的一种修饰符号,R圈,允许几何公差反向补偿给尺寸公差的一种符号,如图9所示:

图9中,孔的实际尺寸和孔的位置度关系如表4所示。
从表4可以看出,使用 可逆要求 之后,图9中的孔实际尺寸可以超出孔的最大实体尺寸中Ф16.2,此时孔的位置度为0。也就是说,当孔的位置度非常小(制造精度很高)时,放宽孔的尺寸公差并不影响装配(孔的内边界始终是Ф16.1)。
此例使用了 可逆要求 ,达到了在不影响装配的情况下,获得了更多的合格产品,从而提高零件合格率的效果。仔细分析,可逆要求(RPR)其实和零公差标注(Zero Position Tolerance)达到了同样的效果,本质其实是一样的。零公差标注在ASME标准和ISO标准中都有类似的介绍。

几何尺寸公差方面的国标
几何尺寸公差国标(GB)采用ISO标准体系,如表5所示。几何尺寸公差在1SO标准中的名称是产品几何技术规范(Geometrical Product Specifications,缩写为GPS),国标沿用了这一名称。从表5可以看出,国标等效采用大部分ISO标准,但仍存在1SO标准翻译不全(国标中没有与ISO 14405-1:2010,ISO 14405-2:2011对应标准)以及标准版本过于陈旧等问题。例如GBT17851-2010,1981年制的ISO5459:1981,而最新的ISO标准是2011年标准。

总结
全球两大几何尺寸公差标准ASME Y14.5和ISO标准都是为解决零件互换性和装配性而生,两大标准80%-90%内容重叠,在两者差异的地方,本文重点选取两标准默认的公差原则、偏置公差、复合公差和可逆要求四个方面作介绍。
然而两个标准的差异并不仅限这些方面,在部分尺寸公差符号及含义、公差修饰符号、尖点轮廓度等内容两者略有不同,因篇幅所限,本文不做--赘述。若要进一步了解两大标准,可仔细阅读两大标准原文。特别的,对于复合公差,ASME Y14.5用大篇幅介绍,是其重点和难点,更应反复阅读。
总体来讲,相比于1SO标准,ASME Y14.5标准在内容上和解释详细程度上更加全面,另外,当遇到复杂的设计要求,例如DTS要求曲面的轮廓控制或孔组控制时,使用ASME Y14.5标准更加方便。ASME Y14.5虽是美国标准,但由于其科学性和方便性的优点,已被众多欧美企业和国内汽车相关企业使用。
文章最后介绍了我国国标在几何尺寸公差方面的情况,加快国标的更新步伐,将是国标未来的任务和发展方向。
文章转自网络,如有侵权请联系删除。