
一直有人恳请小菲:分析一下EOS?
每次小菲都回复:不用分析,肯定不能玩啊!
说到EOS,大家不会陌生,EOS生态社区、EOS金融、EOS星球、EOS魔方、EOS联盟、EOS公链、EOS超级节点……
这些EOS其实跟币圈中真正的EOS生态不存在任何关系,而且这些EOS项目都已经跑路了。
现在该明白了吧,下一个EOS项目*局骗**出来,是不是还有人恳请小菲:分析一下EOS?
其实,稍微了解一点防骗知识,都知道EOS生态是一个持币生息的传销资金盘,跟Plus Token一样,不跑路是不可能的,何况,EOS生态利率这么高,运营了这么长时间,泡沫之大可想而知,来不及跑的,最后都成了接盘侠。
如今,EOS生态跑路已经不是新闻了。
根据投资者反映,EOS生态的App已经无法登录。

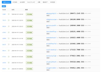
据悉,EOS生态大量EOS转到了huobidevice5、huobidevice3账户,其中一笔大额转账接近90万EOS,EOS生态还有大量的账户,其中一个总账户,光从其他小号转入就达到1900万EOS,按照目前EOS的价格,价值30亿元。

4月19日,火币网表示,一则“EOS生态转入1600万EOS进入火币套现跑路”的消息在业内快速流传,对此火币方面回复如下:
1.经火币核查,huobidevice5、huobidevice3这两个获得大量EOS流入的地址并非火币地址,火币账户为huobideposit,网传流入火币的消息为不实信息;
2.火币已在关注“EOS生态”项目有关情况,相关流入地址目前已经加到黑地址监控系统。
3.请投资者和媒体厘清事实,不要信谣传谣,并保护好投资者利益。

由此可知,这应该是一家小交易所配合EOS生态操盘手洗钱,只不过套用了“火币”招牌,让大家误以为火币配合操盘手洗钱。
如果说huobidevice5、huobidevice3不是火币账户,那么资金还在外面,在小型交易所套现,一时半会还消化不了。根据火币的表态,EOS生态目前已经被火币监控,圈了钱想在火币套现,也不太好套现。
尽管EOS生态在火币的资产不好套现,不过,也不意味着投资者就能提现,参考此前Plus Token圈到的EOS等,就只能安静的躺着了,由于没有良好的匿名性,这些资产几乎相当于销毁。
EOS生态玩的套路跟此前出现的EOS套路差不多,也就是把EOS存放在我这,我每天给你返EOS,这是静态收益,静态收益每天高达0.342%-3.42%;如果你拉人头,我就给你返更多更快,这是动态收益,动态收益跟你拉的人头和团队存储的EOS数量有关。
这么明显的持币生息传销资金盘,给的收益那么高,如果不跑路,EOS生态去哪赚那么多钱返给你们呢?所以最后的结果只能携款跑路了。
多说无益,给大家一些有用的建议:认清事实,别被忽悠,该报案报案,别给*子骗**跑了!
你们现在可以这么做,或许能够挽回一些损失:
第一,EOS生态目前已经被火币监控,投资者应该尽快向火币提出冻结交易所账户,这么大量的资金在市场上变现不是一时半会能消化掉的,交易所如果及时冻结账户还是能挽回一些损失的;
第二,EOS一直是中心化,基于EOS的特性,可以将账户上资产给冻结,投资者可以联系EOS节点,申请冻结EOS生态的相关钱包。由于区块链的存在能够查处所有相关的钱包,冻结这些钱包地址也能挽回损失。
第三,EOS生态大量的EOS在同一时间集中转入交易所,很可能操盘手和交易所狼狈为奸,也就是交易所配合操盘手洗钱,投资者不放过操盘手的同时,也别放过无作为的交易所,一同追诉了。
第四,EOS生态的投资者应该积极报案,根据小菲多年的观察,币圈多以涉嫌传销、金融诈骗和非法集资立案,一旦以金融诈骗和非法集资立案,还是能追回一些损失的,即使不能,也不至于让*子骗**逍遥法外了。此前跑路的EOS金融,就被法院正式起诉了。

在小菲看来,EOS生态最神奇的地方就是:每年都有EOS生态出来骗人,今天这批人用EOS生态骗完了,明天其他人用EOS生态继续骗,每次被骗的人都不少,真是流水的EOS生态团队,铁打的EOS生态*局骗**。
以至于投资者都蒙圈了,自己到底被那个EOS生态团队骗了?
文章作者|尹明
如果你有想咨询更多的项目详情可以私信小菲哦~
文章由菲凡烽火台原创(如需转载请联系授权)