搜鸽网为鸽友们带来养鸽赛鸽小常识以及鸽界趣事,关注搜鸽网,为您带来实用养鸽小文章,大家共同探讨,共同进步,共同学习,如有问题更可留言,有问必答。
2022年宁夏万豪赛鸽俱乐部第二关11月22日早上07:39分于陕西蓝田开笼,集鸽1501羽,放飞地坐标为东经109°17’56.53",北纬34°07’46.09”,放飞地天气良好
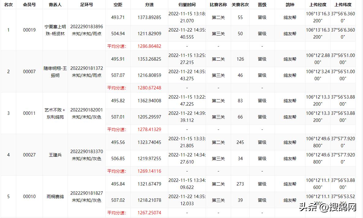
归巢信息:
下午14点22分宁夏古田率先见鸽,分速为1250.7718米/分,空距为504.29公里,位列亚军;
冠军鸽来自马成军的一羽雨点鸽,分速为1254.8252米/分,空距为507.67公里;
季军鸽来自熙园鸽业-高海宾,分速为1246.3955米/分,空距为507.06公里
以下是本关的前十名:

双关前十名:
宁夏塞上明珠-杨贤林上关的赛鸽3897登上冠军宝座,在这一关中环号为3896的赛鸽,登上双关鸽王1位;
双关鸽王亚军来自随缘明翔-王振明的1372赛鸽,一羽雨点鸽;
双关鸽王季军来自艺术不败+东利鸽苑的赛鸽2001;


沿途天气可用搜鸽网赛线天气查看

放飞现场



集鸽现场



第一关前三名:
马志的赛鸽3163在13:11分率先归来,分速为1383.1467米/分,空距为487.6公里,惜败,屈居亚军;

宁夏塞上明珠-杨贤林的赛鸽3897登上本关冠军宝座,飞行分速为1383.9702米/分,空距为493.71公里;

季军来自宁夏双晖工贸-吴新鑫,飞行分速为1383.5471米/分。

为了比赛公平、公正、公开,俱乐部使用了鸽友帮的鸽钟,每关集鸽开笼数据及时公布,比赛当天对获奖鸽进行验鸽,从细节入手,用数据说话,用真实行动为广大鸽友打造一个专业、有实力的职业赛事平台。