每一座城市都有自己的“心脏”,它不仅仅是地理位置的中心,更是城市活力的源泉,这就是CBD。
CBD是一个城市、一个区域乃至一个国家的经济发展中枢。一般而言,CBD高度集中了城市的经济、科技和文化力量,是无数市民心中所向往的地方。 01.洛阳三大CBD
也有一些城市,由于地形、城市开发等多种原因,会形成多个区域中心。比如被伊洛河割裂为洛北、洛南、伊滨三大板块的洛阳。
因而,未来洛阳的发展,出现三大CBD为大势所趋。目前洛阳可被称为CBD的地方有:
开元湖CBD商圈:作为洛阳的政治、经济、文化、金融和商贸中心,目前这里已汇聚了泉舜购物、正大广场、宝龙城市广场三大商业中心。经过20余年的发展,如今已成为洛南乃至整个洛阳的商业名片,周边房价也水到渠成地位居洛阳楼市第一梯队。

(洛南板块开元湖CBD)
都会心CBD商圈:正在奋发前行的伊滨新区同样规划建设了自己的CBD——都会心商圈,伊滨之门、永宁大厦、科技大厦、金融服务大厦、商会大厦、传媒大厦、国贸大厦等写字楼齐聚于此,未来这里将成为伊滨新区的CBD。

(伊滨板块都会心CBD)
而洛北作为洛阳发展时间最长、人口最多、商圈最多的板块,却由于各种错综复杂的原因迟迟没有自己的CBD。上海市场、广州市场、万达、王府井、新都汇、中央百货、建业凯旋广场、十字街、铜驼暮雨成一字型摆开,自西向东依次分散在洛北板块,然而没有一个商圈具备成为CBD的条件。

终于在2019年“壮丽70年·奋斗新时代”系列主题新闻发布会上,西工区首次提出要谋划实施“王城桥北全市地标性CBD”。
王城桥北CBD项目位于洛阳市西工区洛河北岸,王城大道两侧,东至芳林路、南至滨河北路、西至涧东路、北至九都路,规划范围72.89公顷(1093.35亩)。

(2019年王城桥北CBD规划范围图)根据规划,王城大桥北部区域将建设洛阳地标性建筑,主要产业初步定位布局金融、双创、酒店等产业,底层商业布局文创、大型商业综合体等。整体上通过建设地标性组团建筑,实现彰显城市文化、完善城市功能、提升城市形象的目标,打造新的CBD区域和洛阳形象窗口。

(2019年王城桥北CBD规划效果图) 02.王城桥北CBD首期地块花落建业
在王城桥北CBD消息放出后,有不少业内人士传言该地块计划交付给华润集团开发,后来又有建业、绿地集团人员前往洽谈。不过这一切都只是流言蜚语,到底是谁开发还要看土拍!
2020年10月21日,王城桥北CBD地块开始公开竞拍。本次拍卖地块面积约116.49亩,起拍价约1277.31万元/亩!

最终王城桥北CBD地块被洛阳宝来兴置业有限公司竞得,成交总价约14.9亿元,单价约1279.27万元/亩。据天眼查显示,洛阳宝来兴置业有限公司为建业集团独资子公司。彼时建业在洛阳喊出了“千亿建业,百亿洛阳”的口号,洛阳人对建业打造洛北CBD也很有信心,后来该项目被建业正式命名为“建业洛神广场”。

如果说开元湖商圈是洛南人民的CBD,都会心商圈是伊滨人民的CBD,那么建业洛神广场商圈就是承载着洛北人民CBD之梦的起点。它的每一步进展都会引发洛北人民的关注。 03.建业洛神广场环评受理公示
本月中旬,洛阳市生态环境局对建业洛神广场项目ABC地块进行了受理公示。
建业洛神广场A地块位于芳林路与中州渠交叉口西南角,面积约12.69亩,地块容积率3.5,建筑密度16.45%,绿地率35.1%,总建面41133.5㎡。将建设一栋100米住宅,一栋60米住宅和一个6班幼儿园,总投资5亿元,住宅户数共223户。
建业洛神广场B地块位于王城大道与滨河北路交叉口东北角,面积约23.44亩,地块容积率5.5,建筑密度22.47%,绿地率30.1%,总建面125121㎡。将建设一栋150米超高层住宅,两栋100米住宅和一栋100米公寓,总投资16.8亿元,住宅户数共320户。
建业洛神广场C地块项目位于王城大道与滨河北路交叉口西北角,面积约80.36亩,总建面420626㎡。其中包含:80963㎡住宅,35000㎡酒店,142570㎡办公,34000㎡商业和2135㎡配套,将建设三栋120米、150米、200米超高层商办建筑,四栋100米住宅和约7000㎡的开放街区,项目投资53.2亿元。

建业洛神广场以洛神为灵感来源,结合洛神温婉飘逸灵动的风格,通过国际化现代演绎,打造流体艺术立面,并以200米地标建筑为核心,将高低各异的建筑群组成了具有律动感的城市天际线,构造洛阳新地标。

建业洛神广场由全球知名的地标建筑设计事务所GENSLER操刀,联合国内外著名幕墙、夜景、精装、景观设计园队,以洛阳厚重的文化底蕴和人文精神为底色,融合国际化的前沿建筑理念,打造洛阳超高层城市地标。 GENSLER成立于1965年,是一家全球性的建筑、设计与规划公司,被 《世界建筑》 杂志列为世界上最大的设计事务所,代表项目有上海中心大厦、苏州中南中心、深圳前海世茂金融中心、FACEBOOK总部等。

04.幕后股东浮出水面 金主爸爸高达40+ 建业洛神广场的建筑设计规划一经面世,便吸引了多数洛阳人的目光,其建设进度更是备受网友关注,大家都期待建业能够为洛阳建设一座新的城市地标。

项目启动至今,建业集团也先后经历了“求助信”、“裁员风波”,以及建业与与中原银行、中电建集团、中海集团接连签署了战略合作协议等重大事件。风雨之后,也算是给大家吃了一记定心丸。

而总投资100亿元的建业洛神广场能否保质保量顺利启动,依然牵动着洛阳人民的神经。其实,该项目背后的金主,除了建业集团外,还有诸多并不为外界所知的“金主爸爸”,其中就包括万科、旭辉、泰禾等全国百强房企。

据企查查显示,早在去年6月28日,建业洛神广场摘地企业洛阳宝来兴置业有限公司的控股公司,由建业住宅集团(100%控股),变更为洛阳建润置业(100%控股)。

(建业洛神广场摘地时企业股权结构图)

(变更后股权结构图)
建润置业是何方神圣?原来是建业集团与嘉兴乾缘股权投资合伙企业共同成立,两家公司分别持股51%与49%,建业依然是大股东。

而嘉兴乾缘股权投资合伙企业是由上海中城荣耀股权投资基金管理有限公司99.67%控股的子公司。

上海中城荣耀股权投资基金管理有限公司是由上海中城未来投资有限公司100%控股的子公司。

上海中城未来投资有限公司则是由上海中城联盟投资管理股份有限公司98.3%控股的子公司。

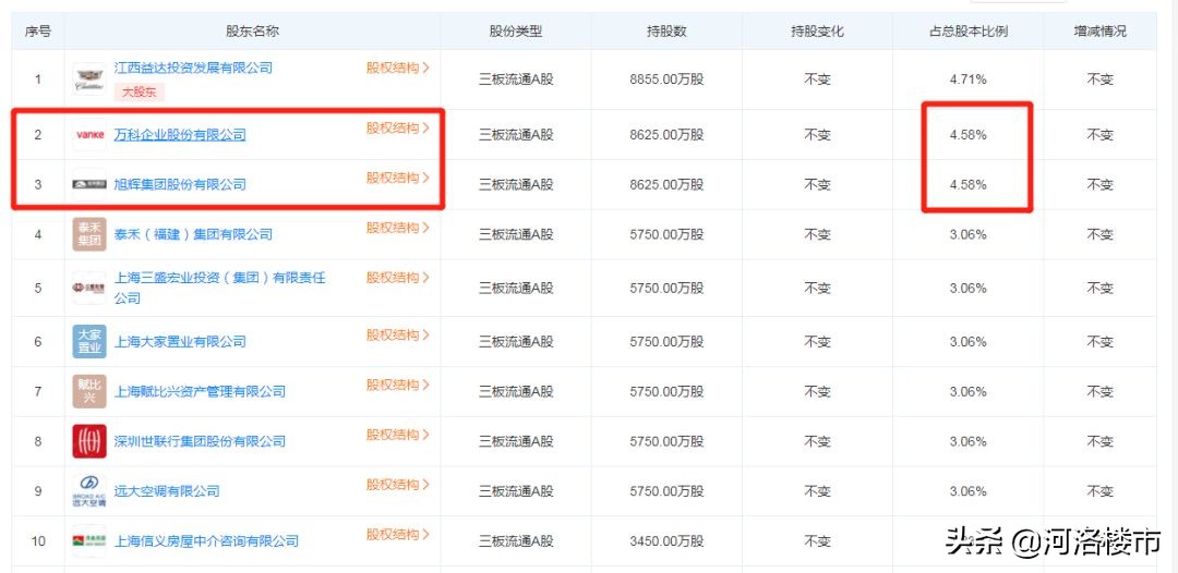
在查询到上海中城联盟投资管理股份有限公司(以下简称“中城投资”)后,洛阳建润置业背后的股东终于“浮出水面”——该公司是以江西益达投资、万科集团、旭辉集团、世联行、泰禾、万通、建业等43家公司共同成立的企业,其中,万科、旭辉持股比例位居前三。

天眼查显示,中城投资成立于2002年9月28日,创始股东12家,现有股东56家,是国内历史最长的房地产私募投资管理机构。2013年8月成为中国证券投资基金业协会资产管理类特别会员。 这种股权变更,对于建业洛神广场来讲,是百利而无一害的操作。
首先,在目前房地产市场环境下,雄厚的资金是项目顺利开发的基础。万变不离其宗的“三道红线”,“资金链”的大山,让不少房企被迫躺平。在夹缝中求生存的民企,要么抱住国企、央企的大腿,要么只能与实力强劲的民企合作,这也是建业顺应大环境的正确做法。毕竟作为洛阳的城市地标,大家都希望它尽快完工,多一个合作方,就多一条资金链,多一方保障。
一般来讲,企业之间的强强联合,对项目建设大有裨益,在一定程度上可以扬长避短,互惠互利。
洛神广场环评规划公示后,可以看到不管是高度还是容积率都没有变化,并没有网上曾经流传的降低高度、增加容积率等“操作”,按照目前公示的规划,是可以按照原计划建设的。
目前已知建业洛神广场项目规划建设的有洲际酒店、甲级写字楼、天筑住宅、天筑公寓、购物中心等。

而购房者最期待的可能会是建业天筑住宅项目,你觉得售价会在多少?评论区聊一聊。