阅读文章前辛苦您点下关注,方便讨论和分享。为了回馈您的支持,我将每日更新优质内容。温馨提示:本文共8000余字,阅读约需要6分钟。请您安排好阅读时间。
1
上世纪八、九十年代,广大国人刚刚接触到电子计算机这种新鲜事物的时候,社会上出现了一大批依附着计算机,进行的各种迷信活动。譬如计算机起名,计算机算命等等。所谓迷信,乃不知其理而妄信。
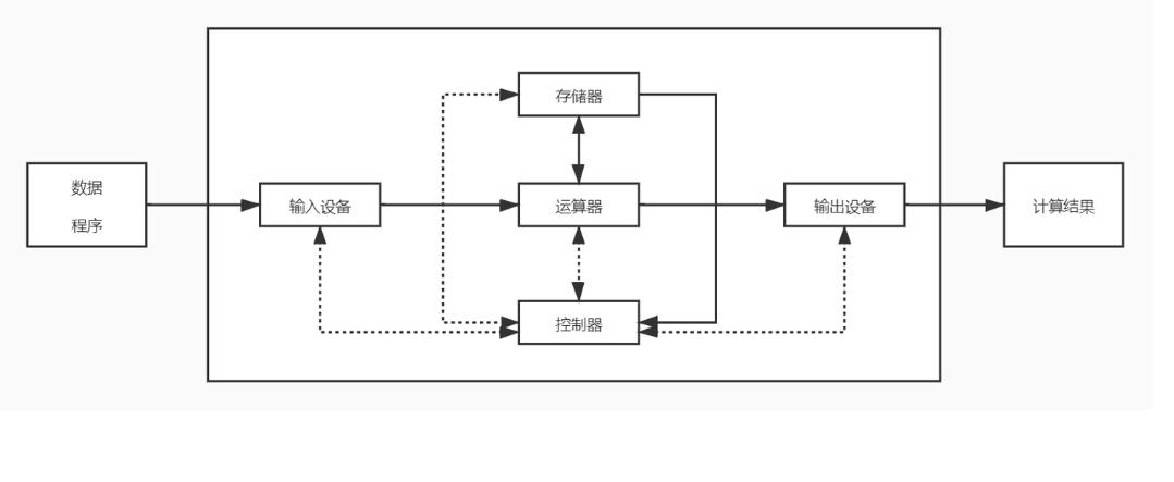
随着计算机基础教育的下沉,在小学我们就初步了解计算机知识。从这些初等教材以及科普读物中,我们大概都记住了图灵、冯诺依曼、以及二进制、埃尼阿克(ENIAC),这几个名词。也了解到了冯诺依曼架构的计算机中的五大组成部分输入设备、输出设备、存储器、运算器、控制器。
虽然大部分人在学习后也并不能真正理解计算机的制造原理及底层逻辑,但是这种科学教育至少使人相信了,计算机本质是一种科学的产物,跟神秘学玄学没有任何关系。

所以到了今天,在大部分人的认知里,计算机并不是一种跟神秘学玄学有任何关系的产物。计算机是纯逻辑的理性科学造物。
但是到了2023年,这种认知却开始出现转变。因为通用人工智能的雏形已经出现!这个雏形,就是CHATGPT。而且它有着很多不可解释性。
CHATGPT的表现,让很多学者、企业家、科学家、哲学家等等人类最高层次的人才,开始不得不面对一个现实:由于深度学习程序模型的迭代次数太过庞大和底层逻辑电路芯片的复杂性(最基本逻辑单元mos管数量数以百亿计),人类几乎已经丧失了解释通用人工智能为什么会出现逻辑推理的能力。
Chatgpt的创造者,OPENAI首席执行官山姆.阿尔特曼(SAM ALtman)在媒体前就说过:有时候 就连OpenAI的研究者自己都搞不明白,GPT系列为何会出现推理能力。

想一想这是否可怕呢?
人类从一个简单的二极管开始,逐渐搭建起了自己都无法认知的存在。
如果对当年的生物克隆技术如何复制生命这一问题,通过对DNA生命遗传规律的解读,尚能让人理解其原因的话。
那么今天,对于“计算机是如何产生通用人工智能的?”这一问题,人类却无法从细微肌理上解答!对AI技术的开发人员尚且如此,对普通大众而言,人工智能与计算机技术的底层逻辑关系,就更加如同玄学般不可知不可测了。
我们如同面对一个神秘的黑箱,只要我们对它用语言说出我们要表达的意思和需求,他就能理解并满足我们的需求。
在CHATgpt的基础上,至少自语言层面上,计算机已几乎可以理解所有人类的意图,并根据人类的意图输出你想要的结果,甚至能够比提问人本身更加深入的理解所提出问题的意图,给出更加深入的带有启发意义的回答。
譬如在下图的这个问答中,人工智能语言模型不但给出了目前已知的最小粒子,而且更进一步向提问者介绍了关于最小粒子的一些未解之谜。要知道这个提问者并没有问这个问题,但是从深层逻辑上看,提问者肯定是在潜意识里关心这个问题的,而这种深度解答问题的能力,不是一般人类所具有的,大部分人对回答一个问题,往往只能停留在问题表面。

可以说,至少在教授已知知识的层面上,人工智能表现出的逻辑思维能力,已经超过了一般的人类水平。
人类的所有信息都是通过语言来传递的,人类的所有行为基本都是可以用语言来描述的。下一步,计算机要做的就仅仅是将语言转变为指令,然后代替人类去做什么的问题。
可以说,在语言层面上的通用人工智能已经显现了雏形,等到这个人工智能模型经过进一步完善后,用通用人人工智能来处理人类社会90%甚至99%以上的工作,都将只是一步之遥。
虽然当前社会上仍又很多人坚持的固有的印象将对人工智能嘲笑为人工智zhang,但那些真正处在与人工智能进行深入交流第一线的科学家、思想家、企业家们,都已经意识到了AI对人类的巨大威胁。
2023年3月29日,美国“未来生命研究所”发布一封公开信,信中呼吁所有AI实验室立即暂停训练比GPT-4更强大的AI系统至少6个月。如果不能迅速实施这种暂停,政府应介入并实行暂停。
公开信强调,广泛的研究表明,具有与人类竞争智能的人工智能系统可能对社会和人类构成深远的风险,高级AI可能代表地球生命史上的深刻变化,应该以相应的关照和资源进行规划和管理。不幸的是,这种级别的规划和管理并没有发生,尽管最近几个月人工智能实验室陷入了一场失控的竞赛,以开发和部署更强大的数字思维,没有人——甚至他们的创造者——能理解、预测或可靠地控制。
目前包括马斯克、“人工智能教父”辛顿、苹果联合创始人沃兹尼亚克等在内的1079位科技界人士已经签署了这封公开信。
而公开信后的3个多月的时间里,在chatgpt基础上诞生的各类AI工具,已经对网络信息安全产生了重大的影响。
人们发现AI实时换脸,AI实时聊天,AI实时模仿人声唱歌等方面,而在此基础上出现的数字人,也已经越来越趋向于“真实”,人类的眼睛与耳朵及内在的判断力,已经越来越无法分辨网络上这些信息的真假。在百度的搜索热榜上,AI诈骗呈现出已经成爆发式增长趋势。

其实,如果AI只能够生成这些能被人类所利用和控制的工具的话,人工智能的风险还处在一个可理解和控制的阶段。
但问题的实质是,人工智能本身已经存在失控的危险。正如前面OPENAI的创始人所说,AI已经出现其无法解释的推理能力。360创始人周鸿祎也指出,如果继续开发AI,那么从GPT6到GPT8人工智能将会产生意识,变成新的物种。
看看现在AI能做什么吧!在视觉AI的领域中,根据人类说出的构想描述,他几乎能够实现人类所有的想象。譬如,它甚至能让爱因斯坦在音乐节上唱歌……。

ai自动绘图的成果
它能够让钱学森复活,以逼真的数字人身份,与我们进行各种交流。

生成式人工智能正在为人类世界带来一场深刻的变革。给人类世界的方方面面带来各种挑战。它将让我们越来越难以分辨虚拟与现实的边界……
大部分接受过计算机科普教学的人,应该都知道,计算机的底层构造就是通过二极管搭建的逻辑电路,那么面对如今的人工智能AI,你有没有考虑过一个问题,也就是:
计算机的“智能”到底是怎样通过利用性质简单的二极管搭建出逻辑电路而逐步出现的呢?
2
要解答这个问题,我们就需要将现代电子计算机的诞生,溯源到300多年前的一位思想家身上,他就是与牛顿同时代的伟大的科学家、哲学家莱布尼茨。
莱布尼茨(1646年~1716年)出生在德国的莱比锡。他一生的成就多不胜数,其中对后来计算机科学发展产生重要影响的成就就是:他被认为是现代形式逻辑的构筑者及初步奠基者。

莱布尼茨的这个成就,源自他对一个梦想孜孜不倦的探求。可以说,正是这个梦想,牵引着莱布尼茨在数学、物理、哲学等各个方面进行不断的发现与创造。
从青少年开始,莱布尼茨就有了这个梦想:他梦想把整个人类的知识用一种普遍的人工数学语言和验算规则进行汇总和编辑,用数学语言把知识的每一个方面表达出来,用演算规则解释命题之间所有的逻辑关系。最终,他梦想制造一台机器来完成这些演算。这台机器从本质上来说,就是可以把人类的理性还原为计算,并能够使用机器进行这些计算。
相信很多读者在读到这里的时候,可能都已经对莱布尼茨的这个梦想都产生了认知短路的现象。也就是,根本不理解莱布尼茨的这个梦想是要做什么。
笔者尝试着用更通俗的语言来阐述一下:莱布尼茨希望制造一种机器,这种机器能够用一种几乎通用的 语言或者说符号来记录人类的所有知识,并且这种语言(符号)能够自成逻辑的利用自己的语法规则进行逻辑运算,将人类所有的知识串联起来,像人类一样进行逻辑推理。
莱布尼茨把他的宏伟计划分为3步来执行:
第一步,是创造一套涵盖人类知识全部范围的百科全书。
第二步,对全部的知识进行分析,并选择出合适的符号代表这些知识所代表的的观点与定义。
第三部,制定推理演算规则对这些符号进行操作。这个推理演算的规则下所的出的符号结果,必然也指代着人类所有知识中的某一个结论或者观点。
如果用现代计算机知识去解释莱布尼茨计划的三个部分的时候,我们发现我们可以做这样的描述:
第一步,建立一个知识数据库。
第二步,将有的数据库内容数字化(其实称为符号化更加准确,因为计算机本质上没有对数字的认知。在计算机底层,数字是人为的对在计算机某个逻辑电路开关组合排列后所形成的形状的定义)。
第三步,利用计算机ai模型对数据库(符号库)进行分析运算,经过深度学习算法模型多次迭代后,最终得出一种接近于人类逻辑的推理演算的规则。
而这种机器所能执行的这种推理演算规则,本质上就是“人工智能”。

不过问题的关键在于两点,一是,我们要如何将数据库符号化;二是,我们如何去制定运算规则。
莱布尼茨对这两个问题的研究,让他发现了一种对机器来说更加简单的符号语言:数学中的二进制。
对机器来说,它只需要用两种基础的符号或状态(如今在电子计算机中就是电路的通与断这两种符号或者说状态)就可以代表所有的信息。
今天我们习惯于说将某一类信息(如图像、声音、文字)数字化,其实更准确的讲是将这些信息符号化。
此外,对演绎规则的研究,还让莱布尼茨发明一种被称为“步进轮”的装置。莱布尼茨在帕斯卡发明的只能计算加减法的机械计算器的基础上,采用步进轮让计算器实现了连续重复的进行加法运算。

机械计算机衍变
二进制和步进轮,在后来也成为了计算机逻辑电路搭建的重要基础。
值得一提的是,莱布尼茨在法国汉学大师若阿基姆.布韦向他茨介绍了 《周易》和八卦的系统 后,对阴阳与八卦产生了极大的兴趣。在莱布尼茨眼中,“阴”与“阳”基本上就是他的二进制的中国版。他曾断言:“ 二进制乃是具有世界普遍性的、最完美的逻辑语言 ”

八卦
当然,虽然发明出了二进制和步进轮,但这些距离莱布尼茨的梦想还有着一段很大的距离。莱布尼茨发明的计算机与如今的人工智能AI,更有着云泥之别。
但是二进制的出现给了后来的研究者一样可能是最便捷最高效的能与机器进行沟通的逻辑语言工具;步进轮的出现也使得计算机器第一次具备了一种逻辑上的自主性。
他让后来人看到了实现莱布尼茨梦想的曙光,找到了构建这一梦想的基础工具,如同普罗米修斯带来的天火,微光已开始照亮漆黑的前路。
1716年,莱布尼茨去世。
要实现莱布尼茨的这一梦想,仍需要后面一代代科学家、思想家的不断追求与努力。
那么,后面又有哪些人为这一梦想的实现,做出了重要贡献呢?
3
1854年,一位叫做乔治.布尔的英国数学家出版了他的著作《思维的法则》。这本著作初步奠定了逻辑代数的基础。
布尔的逻辑代数用基础的数学符号来表示物体的概念,然后用符号的运算过程来代表人类的逻辑推理过程,并且提炼出了人类逻辑思维当中相当重要的一个概念“群体类别”,在现代数学中,也可以称之为集合。布尔用 1来代表逻辑推理中的所有对象的集合,0来代表逻辑推理中的空集。

譬如我们给出3个表达:
1、屋子里的人全部都是女人。
2、屋子外的人有女人也有男人。
3、没有人即是男人也是女人
那么对这三个句子要进行逻辑代数的表述的时候,首先就要选择符号,并对此做出定义。
譬如:A代表全部女人的集合,B代表全部男人的集合。
C代表在屋子里的人的集合,D代表在屋子外的人的集合。
然后定义逻辑运算符号所代表的含义(我们在这里再强调一遍符号,符号代表的是逻辑运算规则,只是为了方便才使用了数学符号中的加减乘):
A+B代表A与B中所有类所组成的集合。(合集)
A.B代表既属于A也属于B的类所组成的集合。(交集)
A-B代表A类中不属于B类的集合。(这个集合是A集合的一个补集)
如果我们定义,那么采用逻辑代数可以有以下表述:
1)A*B=0(没有人即是男人也是女人)
2)A-B=A(没有一个女人是男人)
3)A+B=1(所有的男人加上所有的女人的集合就是所有人的集合)
4)C+D=1(屋子里的人加上屋子外的人就是所有人的集合)
5)C*D=0(没有人即在屋子内也在屋子外)
5)A-C (表示所有在屋子外的女人的集合)
6)A+C=A (在屋子里的所有人都是女人)
7)B*C=0 (没有既在屋子里又是男人的人)
8)B-C=B(屋子里的人都不是男人)
9)C-B=C(屋子里没有男人)
10)D=(A-C)+(B-C)(没在屋子里的男人和没在屋子里的女人,就是全部在屋子外的人的集合)
11)D+B=D(所有男人都属于没在房子里的人这一集合——所有的男人都在外面)
……
等等。
这种逻辑表达式的出现, 极大的扩充了逻辑符号及其运算符号所能表征的含义 , 也就构成了用符号来表征一切的基础 。而且,我们从逻辑代数对现象的描述中也可以发现,逻辑代数的语言中,本质上没有数量的概念,只有代表着某种现象的符号。而这个符号的意义,是人类定义的。
到了1897年,德国数学家、逻辑学家弗雷格(1848~1925)出版了一本不到100页的小册子,名为《概念文字》。这篇文章的副标题是“一种模仿算数语言构造的纯思维形式语言”。在这本书中,逻辑代数的内涵得到了更大的扩充。

本质上,弗雷格是想找到一个能够包含所有演绎推理的逻辑系统,所以除了布尔代数中的运算符号之外,他还引入了跟多的代表各种逻辑演绎关系符号。
通过弗雷格的这本《概念语言》人们发现,要将人类的思维进行这种逻辑的符号表达时,我们首先就必须做出一些初始的定义。这些初始的定义包括三类:
1、初始描述(如前面所述的三个条件,后面所有的逻辑推理结果都必须遵循初始描述所提供的条件)
2、定义每个符号所代表的对象意义(如某一个符号代表男人这个集合)。
3、将某种逻辑推理过程用某种符号作为代表。
当我们将这种想法类比到计算机的时,
1、初始描述可以看做是我们写好的一个程序,所有后续逻辑推理的过程都必须遵从这个程序所描述的条件。而且这个初始描述中已经规定了某种逻辑规则
2、每个符号所代表的意义,可以看做是计算机内既定的编码所指代的数字或者是文字(其实这个符号在计算机整体运行过程中往往是经过多次编码解码后才会呈现出他的初始意义的)。
3、代表某种逻辑推理过程的符号,可以看做指令集电路。
但是对于某一个描述的解读(运算),我们在实际中是靠人来进行的逻辑推理。那么对于计算机如何执行呢?
其实这也与人脑相似,我们人脑中实际上也有指令集,也就是看到一个符号,大脑的指令集就告诉我们要去执行什么样的逻辑推理。譬如在前面那个关于屋里屋外男人女人的逻辑推理过程中,我们在看到+与*时,大脑会反应出来对这段符号表达进行什么样的逻辑推理。
更通俗的解释就是,在古典数学中,我们看到加法符号,大脑中就会执行加法运算的逻辑。
而对这个加法符号要执行加法运算的判定,就是来自人为的定义和灌输,让我们大脑形成了这种反应机制。大脑指令集的本质就是这种反应机制。要创造一种指令集,本质上就是在大脑中建立一种反应机制。
对计算机和人脑而言,指令集就是建立符号与逻辑推理过程的桥梁。是符号激活了某段指令集,指令集再通知计算机的控制器将某个需要进行运算的符号输入到运算器中能够执行该指令的某个逻辑电路中进行运算。
在很多人看来《概念文字》中所展示的逻辑语言,很大程度上实现了莱布尼茨憧憬的那种逻辑的普遍语言。
但这种逻辑语言存在的一个问题就是,在这种语言的逻辑下,能否在给定的定义条件下,证明这一套逻辑语言的推理过程是正确的。
这个问题是从对机器语言逻辑是否正确的思考上发问的,但本质上这个问题已经进入了哲学层面。
这个问题其实涉及到了很多逻辑系统的本质,尤其是数学——一个由人类定义的逻辑系统。
在数学层面,这也就是著名的希尔伯特判定问题,希尔伯特判定问题的描述是用数学概念来表达,我觉得对普通读者来说过于抽象。其实简单点说,就是我们能否通过数学本身的逻辑,在有限的逻辑推演次数下来证明一个数学定义的正确性。
例如,我们定义了直线是直的。那我们怎么证明直线是直的呢?
之所以在这篇要讨论人工智能是如何诞生的这篇文章里要提出这个问题,是因为接下来的一个人,在证明这个问题的过程中,为计算机程序语言的诞生做出了开创性的工作。
4
这个问题的答案在1931年,由数学家、逻辑学家、哲学家库尔特.哥德尔给出了答案。

在1931年发表的论文《关于<数学原理>及有关系统形式不可判定命题》。在这篇论文中,哥德尔提出了“哥德尔不完备性定理”。他证明了:任何一个形式逻辑系统,只要包含了简单的数论描述,而且是自洽的,他必然包含某些系统内允许的方法,既不能证明真,也不能证明伪的命题。
哥德尔在证明定理的过程中,采用了一种特殊的语言系统。
这种语言系统是建立在莱布尼茨、布尔、弗雷格所提出并丰富了内涵的代数逻辑的基础上的。
熟悉现代计算机程序设计语言的人,只要看过歌德尔关于不可判定性的论文,就会看到一连串45个编了号采用哥德尔数字代码表达的公式,它们看起来像一个计算机程序。这种相似绝非偶然。——《逻辑的引擎》美.马丁戴维斯
这45个编了号的公式,其实是与法国数学家罗素的《数学原理》一书中的基础数学定义相对应的。相当于一种代码转换,这与高级语言程序设计师所做的工作类似。
1951年圣诞节,哥德尔做了一次讲演,题目是《关于数学基础的一些基本定理极其内涵》。在演讲中,他提出了一个问题:“人的心灵在本质上是否等同与一台计算机?”。
至今人们仍然对这个问题激烈的争论着。
哥德尔并没有给出这个问题的答案,但他做出了一个推理:如果人的心灵不能被还原为机械装置,物理的大脑却可以这样还原,那么标明心灵超越了物理实在。
在哥德尔提出不完备定理后,有一个问题摆在了人们的面前,既然在数学逻辑框架内有些问题是不能被证明或证伪的,那么我们应该怎样去判定一个问题是不可被证明的呢?
与哥德尔同时代的人当中,还有一位叫做阿兰图灵的英国数学家。

1936年基于对这个问题的研究,阿兰图灵发表了那篇被认为是现代计算机原理开山之作的论文——《论可计算的数及其在判定问题中的应用》。
在这篇论文中,图灵提出了一种理论计算机模型。图灵是这样来描述这台机器的:
这台机器有一个控制装置;一条可以无限延长的纸带,纸带上线划分为一个个小格子,每个小格子上标有符号0或者1;另外还有一个读写头,读写头沿着纸带逐格移动,每一步执行下列行为之一:
1)在当前的格子中书写1
2)在当前的格子中书写0
3)向左移动一格
4)向右移动一格
5)保持当前状态
6)将当前状态改写为另一状态
7)停机

图灵指出,对应每一种行为,还要有一个指令表,这个表规定了当机器处于某一状态并且对读写头的纸带格子中是哪一种符号时,它应该执行什么指令,以及完成这个指令后,极其应处于哪一种状态。
这样,只要有一个适当的指令表,然后规定好机器第一个内部状态,机器就会一步步运转下去,得到需要的计算结果。
图灵认为,只需要这样有限集几种行为组合的机器,就能够计算任何可计算的过程,就能够模拟任何一台实际计算机的行为。
图灵的这篇论文,证明了图灵的论断。继而得到了这样一个结论:通过某种算法程序可计算的任何东西都可以通过一台图灵机来计算。因此,如果我们可以证明某项任务无法通过图灵机来完成,那么我们就可以说明没有任何算法程序能够完成这项任务。
图灵第一次把证明数学领域里的一个基础性问题的推导过程转变成了一台自动机器的运行过程,而且从理论上证明了制造出一台通用计算机的可能性。
此外,在1950年图灵还发表了论文《计算机器与智能》( Computing Machinery and Intelligence),为后来的人工智能科学提供了开创性的构思。提出著名的“图灵测试”, 指出如果第三者无法辨别人类与人工智能机器反应的差别, 则可以论断该机器具备人工智能 。
1952年,图灵还写了一个国际象棋程序。可是,当时没有一台计算机有足够的运算能力去执行这个程序。
可以说图灵的承接前人进行的一系列工作,基本奠定了现代电子计算机的完整的理论框架,并且预见性的提出了机器学习和机器智能的问题,为未来人工智能的发展提出了方向性的基本策略。也因为图灵的这些具备奠基性重要意义的成就,他被后世誉为了人工智能之父。
但是就是这样一个伟大杰出的人物,却因为英国政府对待同性恋问题的欺凌政策而遭受到了政府机构的种种羞辱和虐待。1952年,年仅42岁的图灵,选择吃下一口含有剧毒氰化物的苹果结束了自己的生命。
而后来苹果公司的图案,也常常被人猜测是,乔布斯为了致敬图灵,而选择了一个被咬了一口的苹果作为公司的标志。

虽然图灵英年早逝,但在与图灵同时代的科学家中,还有一位与图灵互相影响,各自都在计算机领域取得了重大成就的人物。相比于图灵,他将很多关于计算机的构想都切实的落地了,而且不为人知的是,他也为人工智能的发展,提出了很多具有先见性的思想。
我相信,对计算机历史有所了解的人都知道我们接下来要提的是谁了。
5
关于他,在百科上有这样的描述:
约翰·冯·诺依曼(John von Neumann,1903年12月28日-1957年2月8日),美籍匈牙利数学家、计算机科学家、物理学家,是20世纪最重要的数学家之一。 冯·诺依曼是罗兰大学数学博士,是现代计算机、博弈论、核*器武**和生化*器武**等领域内的科学全才之一,被后人称为“现代计算机之父”、“博弈论之父”。

冯诺依曼的人生,或者说他的大脑,是开挂一般的存在。相比于前面提到的布尔、哥德尔、乃至于图灵,他更是一个近现代罕见的全才式的人物。
从百科中对他介绍,就可以看出,他在很多领域都是大宗师级别的存在。也正是由于他这种全学科的精通,才使得他能够游刃有余的调用各方面的知识,将其融会贯通,为己所用,最终建立了现代计算机的结构框架,并使之落地,实现。
大部分接触过计算机科普读物的人应该都知道书中介绍的第一台电子计算机ENIAC。
但大部分人都不知道,ENIAC最开始实际上是10进制的计算机,而且没有存储器,不能够存储程序,每次进行计算,都需要先设计好程序,然后人工去安排数千个电路开关的通断。来完成计算机初始状态的设定。(也就是图灵机中所谓的初始状态)。
ENIAC最初被制造出来,是为了给美国军方进行炮弹弹道的计算。而冯诺依曼并未参与该项目的研发。1944年,冯诺依曼担任了阿伯丁试炮厂的顾问,弹道计算问题的计算量庞大,让他觉得十分棘手。在了解到军方在制造相关方面的计算机的时候,冯诺依曼便去参观了这台位于宾夕法尼亚大学莫尔学院的机器——ENIAC。
很快,冯诺依曼便参与到了ENIAC的研究与改进之中。随着冯诺依曼的加入,ENIAC出现了两个重大的改进,第一,出现了存储程序的概念;第二,采用二进制代替10进制,大大提高了电子元件的运算速度。
在此基础上,冯诺依曼提出了电子离散变量计算机EDVAC的设计方案。
1946年8月,冯诺依曼提出了一个更加完善的设计报告《电子计算机逻辑设计初探》,并在这篇报告中建立了后来被称为“冯-诺依曼结构”的电子计算机基本逻辑设计框架。
直到今天,所有的通用计算机,仍然是建立在“冯诺依曼结构”基础上的:一台通用自动计算机系统是由计算、存储、控制、输入与输出五个部分组成的。

在此基础上,经过6年的努力,1951年一台名叫“阿艾斯机”建成。它含有2300个电子管,长1.8米,高2.4米,宽0.7米。是同时期外形最小而运算能力最强的计算机,比最早的ENIAC快近1000倍。这台计算机在后来的*弹氢**设计中对大量关键数据进行了处理,为*弹氢**的研发制造立下了汗马功劳。

冯诺依曼与原*弹子**之父奥本海默在“阿艾斯机”前
与之相比,中国的第一台电子计算机103机,是在1958年设计制造完成的,但运算次数只有每秒30次,而且占地面积40㎡。笨重且效率低下。1959年在103机的基础上,研发成功104机,运算次数达到了每秒1万次。
在这里,也可以很负责任的告诉读者,中国的原*弹子**及*弹氢**的设计制造过程,并不是像很多媒体渲染的那样,是靠着科研人员用算盘和手摇计算机算出来的。中国研发的电子管电子计算机在其中也发挥了极其重要的作用。
可以说,冯诺依曼架构的计算机已经基本上实现了莱布尼茨最初的梦想。剩下的问题就是不断地提高存储容量以及运算速度,并编制运算法则(程序设计),这样下去,人类所有的知识都能够装进这个机器当中,并通过一系列逻辑运算串联到一起。
但是冯诺依曼在研制计算机的过程中,也已经开始像图灵一样,开始思考另一个问题:机器是否能够主动思考?
冯诺依曼应该是第一个将人类的神经系统与人工机器做出比较和联系的人。
早在1943年,脑生物学家卡洛克皮茨的论文《神经活动中思想内在性的逻辑演算》就给冯诺依曼留下了深刻的印象。在篇论文中,皮茨展示了人脑神经网络的一种简单的逻辑演算方法,这让冯诺依曼看到了将人脑的信息过程数学定律化的可能。
这种思想其实在一定程度上已经超越了莱布尼茨的梦想,为我们展示出了一个新的计算机技术发展的可能。
因为建立在莱布尼茨梦想上的计算机,本质上还是一种认知可计算主义的产物。
在计算机人工智能的发展历程中,这种认知可计算主义,发展成为了符号主义学派。
符号主义学派人工智能发展的巅峰出现在1997年。IBM设计的深蓝国际围棋对弈电脑击败了当时排名第一的棋手加里.卡斯帕罗夫。
但是深蓝电脑首先不是一台通用电脑,其设计理念也采用了类似穷举法的方法去不断地找出最优的走法。当然,对于国际象棋,这种计算量随着算力的提升,通过计算,是可以得到结果的。
但是对于另一项棋类运动,围棋,如果仍采用这种设计理念,其计算量就显现的过于庞大,即使计算机也显得无能为力。
于是人们开始寻找一种新的设计理念,那就是模拟人类大脑的设计方法,在计算机的程序层,设计一个模拟人类大脑的神经网络,并制定一些底层的最简单的运行法则(或者说要去趋近的参数),然后让这个神经网络自动开始推理运算,最终得出一些具有规律性的推理结果。
而这种思想,冯诺依曼早已有预见性的进行了探讨,通过对人脑神经网络的研究,冯诺依曼具有前瞻性的提出了计算机再模拟人类脑神经网络工作时候的一些问题,并作出了具有开创性的工作。
对于机器神经网络的设计,冯诺依曼提出了逻辑深度、复杂性分析法、自下而上的建构方法、复杂性的涌现等方法和概念,并且提出了一种理论化的具有自动繁殖能力的自动机器:原胞自动机。

基于原胞自动机的自繁殖系统
我们现在常说的生成式的人工智能,其基于的底层程序单元,其实就是一个个的原胞自动机。而深度学习的神经网络基于的正是一个个原胞自动机所组成的感知器单元。
而每个感知器单元,都可以看做人脑神经网络中的一个神经元。
在这个由程序构成的神经网络中,通过对不同输入参数的运算处理,将最终结果与设定的目标相对比,来刺激元胞自动机产生新的元胞自动机,经过多次的迭代运算,最终进化出最接近目标的程序神经网络。
之所以叫它产生式的人工智能,就因为它拥有自我修改底层代码(原胞自动机)的能力,拥有自我进化的能力。而人要做的就是将大量的信息参数化,数据化,然后输入机器,并将结果做一些对比和回馈。

生成式人工智能工作原理展示
而基于这种思想设计的人工智能,其标志性事件发生在2016年3月,阿尔法围棋程序挑战世界围棋冠军李世石的围棋人机大战五番棋在韩国首尔举行。比赛采用中国围棋规则, 最终阿尔法围棋以4比1的总比分取得了胜利 。
由DEEPMIND开发的阿尔法go围棋程序,与深蓝具有本质的不同。深蓝本身并不只是程序,更是一台为了运行程序而单独设计制造的电脑。而阿尔法GO是一个可以运行在通用电子计算机上的程序。
阿尔法GO的胜利,让基于深度学习和虚拟程序神经网络的人工智能中的连接主义学派迅速在人工智能的开发上占据了上风。而原来的认知主义学派也并不是彻底沉寂,在某些特殊专用领域的人工智能开发上,认知主义学派仍存在一定的优势。
但是,基于深度学习和多层神经网络的生成式人工智能,显然已经具备一定的通用人工智能的雏形。
2022年11月发布的CHATgpt,则彻底证实了通用人工智能距离我们现在可能只有半步之遥了。人类的一脚脚,已经迈进了通用人工智能的世界。
但是,基于深度学习和多层神经网络的产生式人工智能,在本质上是基于程序层对于人类大脑神经网络的模拟上的。
由于其构造的复杂性,以及参数运算的复杂性,已经基本脱离了人类的“掌控”,在程序中形成了一个“逻辑黑箱”。
人们可以很容易的解释“深蓝”电脑的运行原理,但如今却几乎无法明确的解释“产生式人工智能”逻辑推理产生的机理。其复杂性已经让其本身丧失了可解释性。
这几乎就是一个量变引发质变的过程,而对于发生质变的一瞬间,究竟发生了什么,人类是无法捕捉到的,我们只能感知到质变发生后的效果。
而对于人而言,对于自己创造的AI产生不可解释性的时候,也就难免会如同面对一个未知的事物一样,产生一些恐惧和担忧,何况这种ai工具在未来可能在生活工作生产的各个方面与我们息息相关。譬如对于特斯拉的自动驾驶系统,相关专家就提出过担忧:
对于自动驾驶系统而言,需要一个可解释性。
可解释性,是指人(包括机器学习中的非专家)能够理解模型在其决策过程中所做出的选择(怎么决策,为什么决策和决策了什么)。
因为它和安全强关联,只有具备可解释性才能保证安全性不断提高,如果出了事故找不到人类思维可以理解的原因,那自然就无法解决事故,类似的事故还会发生。
而神经网络或者说现在的人工智能最缺的就是可解释性。
深度神经网络缺乏归纳偏置(Inductive bias),它对未知情况的预测很不确定也不好解释,这导致了使用深度模型时的「黑盒」困扰。
如果是线性回归做拟合,我们可以观测其 Y 值与以 X 向量为参数的线性函数。
如果是 Logistic 回归,我们可以观察其超平面对正负样本的切分情况。
这些归纳偏置都可以证实(justify)模型的预测。
而深度神经网络只能表明 Y 是 X 向量的某种非线性函数,该函数与数据增强、网络结构、激活函数、归一化等各种在训练过程中加入的约束条件有关,这导致在实际使用中无法证实预测结果的有效性。
简单地说,就是特斯拉搞了个算法,它无法预测在某个环境下识别目标的准确度,完全是听天由命,为什么在某个场景下能识别,换了一个场景就无法识别,无法解释。
可以说现在对于基于深度学习和多层神经网络的产生式人工智能,人类最惧怕的就是它的不可解释性。
自CHATGPT发布仅仅过去半年,各种AI的应用工具已经开始深刻的影响各行各业,尤其对于媒体,虚拟图像技术,虚拟声音技术,文本生成技术等等已经让人难辨真假。
可以说,我们现在不仅实现了莱布尼茨的梦想,而且几乎是快要创造出一种新的基于硅基半导体的人工生命,导线是它的血管、电源是他的血液、电子是他的神经信号、脉冲振荡器是他的心跳、MOS管是他的细胞,程序层是他的思维意识。
而人类目前给各种模型输入的底层数据可以视作它对这个世界的感知,如人类的五感对世界的感知一样。人类感知到的是味觉、触觉、听觉、嗅觉、视觉,而它感知到的都是一串串的二进制数字,或者说是由0和1组成的一个个符号。
就目前而讲,人工智能或许还没有表现出明显的自我意识,但是因为神经网络的不可解释性,也让很多人开始担心,一旦人工智能有了自我意识,它会不会产生某种目的性?毕竟,现在的人工智能是可以自己修改底层代码的,就如同人类的基因会变化会变异一样,人类有时已经很难预测和解释他会产生什么样的变异。

6
在可预见的近未来,人工智能必然取代绝大多数人类的工作。至少80%的人类工作都是可替代的。即使人工智能没有发生人类难以解释的可怕变异,产生对人类有害的目的性,在不久的将来,人工智能仍会对很多人的生活与工作产生威胁。
前面所说过的真假难辨的AI诈骗就不赘述了。
大部分人面临的问题就还是,我们会不会沦为机器的附庸?
在人工智能的时代,人们应该从事什么样的工作来体现自己的社会价值?
人类又该以一种什么样的方式与人工智能相处呢?
人类真的已经准备好进入一个崭新的人工智能时代了吗?
人工智能的普及会不会带来社会的动荡与混乱?
这些问题都已经是迫在眉睫亟待解决的问题。 近日,英伟达的CEO黄仁勋在台湾大学的毕业典礼上演讲,他对毕业生们说:
“你们即将进入一个见证巨变的世界,你们正处于AI的起跑线上。每个行业都将被革命、重生。在过去的40年里,我们不断发展PC、互联网、云计算等技术,而这些技术,实际上都是在为AI的诞生做准备。现在AI的时代降临了,所以,奔跑吧,不要用走的。你要为了自己的食物而奔跑,而不是被别人当成食物而奔跑。”
而这段话在我看来,不仅仅是对毕业生们说的。
也是对我们每一个处在这场巨变中的人所说的。
人工智能的时代,你准备好了吗?
