你是否还记得《回到未来2》中的片段?
男主角穿越回当时幻想的“未来世界”—2015年
并且穿上了这双NIKE AIR MAG

在影片中,这款鞋真是带你炫酷带你飞啊!

2016年,影片中的同款横空出世
NIKE科技让科幻照进现实
那就是:AIR MAG 2016

广告噱头? OR 致敬经典?
不论NIKE的动机,单说鞋的造型便让小赢口水直咽
耀眼的鞋底大灯,性感的圆润鞋跟
炫酷的鞋身造型,浑身散发着科技感

有人说,这是NIKE一次长达27年的商业计划
这种说法小赢是不信的,因为:
1989年,NIKE公司的主打产品是AIR JORDAN第5代
(小赢注:迈克尔·乔丹穿着它在89年的战绩斐然,《灌篮高手》中流川枫也是用的这一款哦)

多年来NIKE的主打产品,都在于改进鞋底技术,电影中的鞋子之所以是NIKE标志,相信更多原因是赞助费的作用。鞋子的设计应该更多是电影人脑洞大开的结果,因为比起什么当时的AJ系列,电影中的鞋子不知要高到哪里去了。

实际上,AIR MAG鞋的首发还要追溯到在2011年。当时通过慈善拍卖的方式,在 eBay 上仅限量发售了 1501 双,共筹得善款560 万美元,捐给研究帕金森综合症的 Michael J.Fox 基金(Michael J. Fox这位仁兄就是《回到未来》系列里的男主角,史上第一位穿上AIR MAG的人)。

按照一般的说法,今年NIKE发售的AIR MAG2016款,只是2011款的“复刻”版(还有一种说法叫做“炒冷饭”)。但是这次冷饭炒得为何让媒体和公众沸腾了呢?
原因就在于一个承诺!
一个NIKE关于梦想的承诺:

让电影中的自动系带系统,正式实现!
没错,这就是2016款与2011款最主要的区别
穿戴者只需按下鞋跟处的按钮,鞋带就能够根据脚型,自动完成系紧鞋带的动作;按下另外一个按钮,就能够自动松绑。
从1989年《回到未来2》播出,到2016年带有自动系带功能的AIR MAG发售,NIKE用了近三十年,才实现了当年的梦想,这款鞋在哪儿可以买到?
别冲动!理性消费!请看下面的介绍:
AIR MAG 2016款全球限量84双,大部分以拍卖方式发售。在香港的拍卖,其中一双以81万港币成交。(小赢注:约等于一辆低配的宝马X5车的售价)

惊呼价格太贵的小伙伴们不要惊慌:回忆一下手机、电脑等科技产品的价格曲线,给点时间!
成本的降低通常来自科技进步带来的大规模量产,价格的降低还有赖于商家之间的激烈竞争。关于自动/半自动系鞋带技术实际各大企业都没闲着。让小赢从专利的视角带您看遍各大运动鞋品牌,哪家技术强?哪家有专长?哪家能量产?
NIKE: Adaptive Fit技术
提起NIKE的当家科技,Sneaker们(泛指运动鞋爱好者)随口就能说出Air、Zoom、Lunar等技术。但这些都是中底缓震科技,是“踩在脚下面的”。
MAG鞋,除了乱花渐欲迷人眼的各种灯,还有一项更实用的科技,就是“绑在脚上面的”技术——Adaptive Fit,一种自动系带技术。

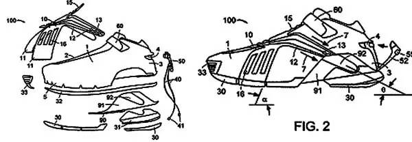
对于该技术,NIKE公司在2009年即申请了相关专利(CN102014682 “自动系带系统”)
NIKE公司号称将于近期推出的新鞋HyperAdapt 1.0(人称平民版的AIR MAG)也搭载了这一项科技。发售之前已让当家代言球星C罗试穿。

(小赢注:“小梅,我又有新鞋穿了,羡慕不?”)
至于价格方面嘛,比起AIR MAG来,听说也仅仅是“不那么贵”而已——你懂得!你说想穿着打球、跑步?嗯,一个急停磨掉5块,破个口子就要心疼哭了。要不还是再等等吧……
ADIDAS:HUG技术
说过NIKE,就不能不说ADIDAS。两家就像江湖中的南少林、北武当,科技的比拼从未间断。
ADIDAS在更早时就探索过对系带系统的改进,2001年便发明了HUG系统—也称三维环抱技术,该技术能让球鞋对运动员的脚部拥有更持久和稳固的包裹性能。
美国专利US2004134099A(下图)就公开了这一系统,仅需要人工一个简单的拧紧或扣紧动作,就完成了整个鞋面处的拉紧。当然,比起NIKE的Adaptive Fit技术,HUG技术也只能算“半自动”系带了。

HUG系统主要缺点在于,关键机构完全延伸并隐藏在鞋内部,如果关键部分(例如牵引线)断裂,不易替换和修理,这套系统就完全失效了。
“HUG”技术主要应用在篮球鞋上,例如:由中国球迷熟悉的姚明在火箭队的队友“麦迪”代言的T-MAC4,当时的销售红极一时。

(小赢注:玄机尽在性感的小屁股——麦迪的签名,和隐藏的机关)
PUMA:DISC技术
除了NIKE和ADIDAS之外,PUMA公司的影响力也是非同小可的。实际对PUMA公司追踪溯源,还和ADIDAS能攀上亲。
PUMA实际是最早投入研发快速系带科技的公司,也就是其应用的DISC技术。早在1991年的专利申请CN91109120中就对该技术进行了记载。该技术只需单手旋转脚面处设置的圆盘,便能够将鞋带系紧。DISC技术也是一种“半自动”系带系统,其缺点也和ADIDAS的HUG类似,如果里面的关键部分出了问题,整个系统就失效了。

(小赢注:PUMA的DISC, 有个圈的运动鞋)
REEBOK:PUMP技术
提起锐步REEBOK,估计爱打篮球的小伙伴不会陌生。当年的REEBOK篮球鞋可以和NIKE、ADIDAS分庭抗礼,更是有艾佛森、姚明这样的顶级球星代言其品牌。
而在系带系统科技的发展中,REEBOK可算另辟蹊径—没有鞋带。

在该公司的专利(US5158767,上图)中详细介绍了这一技术:在鞋面下铺设一个大部分包裹脚背的可充气气囊,通过气泵(也就是PUMP)向气囊里打气。随着充气膨胀,直到整个带气囊的鞋帮把脚舒服的包裹在里面,就完成了相当于系紧鞋带的工作。

现今,REEBOK早已辉煌不再,被ADIDAS收购之后更多的是发展休闲产品。但是它的PUMP技术作为独门绝技,时不时就会再亮亮相。要说缺点,当然就是千万不能霸气外漏。

(小赢注:REEBOK的PUMP—“鞋带是什么?”)
ZUBITS: 新潮的两片磁铁技术
最近,一款叫做ZUBITS的产品悄然出现——就是两片磁铁。普通的系带鞋通过这两个简单的磁性片,就能变成自动系带的鞋。
它的原理很好理解,就是两个磁性带孔的片,当你把一只鞋的两段鞋带分别缠绕在磁性片后,穿鞋的时候仅需把两个磁性片一合,“啪啪”之后,双脚就都穿好了。

三十年前,自动系带的鞋还只能出现在科幻电影里,还是需要“做特技”的魔术;今天,我们已经能够触摸到技术的发展带给我们的便利。十年后,也许我们的生活中再也没有“鞋带”这个东西了。
虽然,这样的生活也许会
失去少许的炫酷

会失去少许的基情

甚至会失去少许的浪漫

但是,享受科技带来的福祉不也是一种快乐吗?
“懒人推动科技进步”又一次被印证!
Let it be!
本文作者:审协北京中心材料部 赵楠
本文为作者授权原创发布,文中观点仅代表作者个人观点。转载请在显著位置注明作者及所在单位,以及来源于"IP创新赢"。本文未特殊说明图片为通过搜索引擎获得。