近日,有法律自媒体发现,江苏省司法厅行政处罚公示列表的吊销律师执业证书行政处罚显示,一李姓律师因组织卖淫罪被判刑,据此被司法厅处于吊销律师执业证的行政处罚。消息一经发布,引来舆论一片哗然。
有网友认为,作为一名执业律师,因为组织卖淫罪被判刑,知法犯法,令人感叹,又不可思议。天天解除法律知识和刑罚案例,不是应该知道敬畏,害怕被抓吗,怎么自己先进去了,而且搭上了自己的律师证?
也有网友认为,这两年,律师赚点钱是真不容易啊!做律师赚不到钱,有的开始去翻《刑法》了!
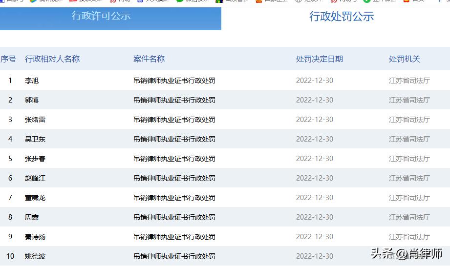
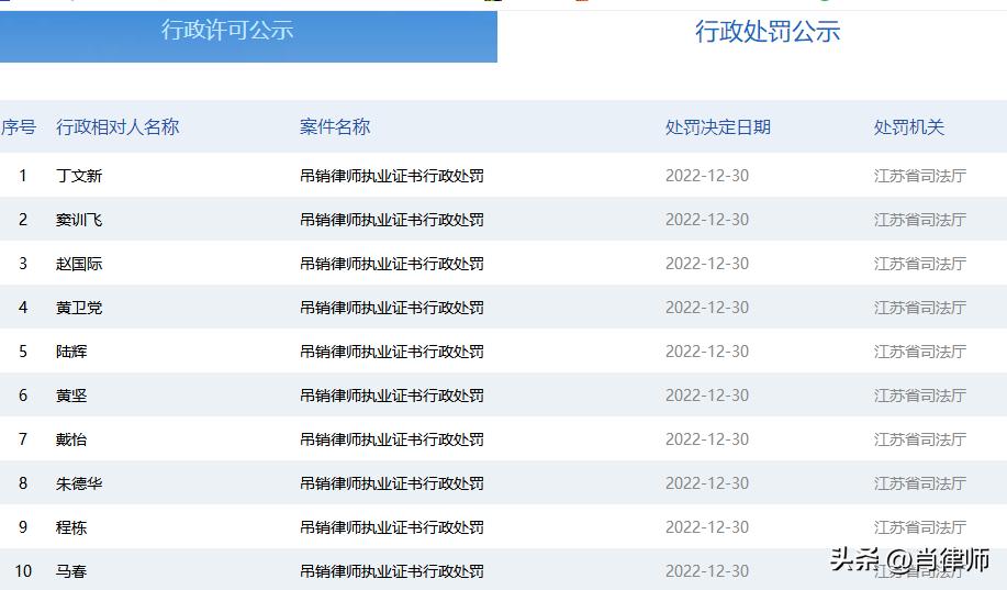
不过,这并不是令人震惊的,政府网站的公开信息显示,2022年12月30日,江苏省司法厅在官网公布行政处罚公示中,一天之内一口气共吊销23位律师的执业证。



有网友找到并梳理了其中部分律师公开可查到的违法事实后,称让人大跌眼镜——
组织卖淫罪

盗窃罪

非法拘禁罪

诈骗罪

根据(2019)苏1311刑初9号判决书显示, 被告人张绪雷原系法律工作者、律师 ,自2015年12月至2017年11月期间,因个人经济纠纷无力解决,在代理他人诉讼案件中,以收取诉讼保全保证金、执行费、拍卖费等费用为由, 采用虚构申请财产保全需要交纳保全担保金等的事实,隐瞒其在代理案件过程通过保险公司保函担保,或者未立案、未申请财产保全等真相 ,先后骗取被害人朱某、王某甲、臧某、周某现金776155元;被告人张绪雷又以为被害人蒋某丙儿子蒋某甲找工作协调关系、培训收费为由,骗取被害人蒋某丙现金127600元。
以上骗取他人现金合计903755元 ,实际用于自己偿还个人债务。最终法院以犯诈骗罪,判处张绪雷有期徒刑八年,并处罚金人民币十万元。
介绍贿赂罪

虚假诉讼罪

辩护人伪造证据罪



据裁判文书网显示,此二人均系江苏信棠律师事务所律师,曾共同代理过原南京钢铁股份有限公司安全能源环保部副部长李炜贪污罪案。
行贿罪



律法帝国,赞215
危险驾驶罪(8人)

丁文新,江苏港人律师事务所律师。2017年10月11日22时31分,被告人丁文新酒后驾驶苏G×××**号小型轿车,从连云港市海州区桃园宾馆南侧沿苍梧路由西向东行驶至科苑路路口时被执勤民警查获。经现场呼气测试,其酒精含量为139.7mg/100ml。民警将丁文新带至连云港市公安局监管中心医院抽取静脉血。经鉴定,丁文新血液中检出乙醇成分,含量为132mg/100ml。



陆辉,男,1993年3月1日生,汉族,大学本科文化,江苏鸿永律师事务所律师。2019年3月27日凌晨,醉酒驾驶苏E×××**小型轿车,行经苏州市南环路高架、独墅湖大道高架,行驶至苏州工业园区文萃路葑谊街路口,被公安机关查获。经鉴定,被告人陆辉血液中乙醇浓度为93mg/100ml。
帮助伪造证据罪,虚假诉讼罪

被告人程栋,男,1965年3月1日出生,汉族,大学文化,徐州市红衫树律师事务所主任,原徐州市第十五届政协委员。公诉机关指控的帮助伪造证据第1、2起事实及虚假诉讼第1、3、4起事实,被告人程栋作为执业律师,其根据周化侠提供的资料进行诉讼,其无能力审核材料真假,且周化侠与债务人存在债务关系,其系正常执业行为,上述指控的犯罪事实不能成立。经查认为,被告人程栋明知上述案件中的相关借款合同系事后伪造、证实借款事项的借条系拼凑而非与诉讼相关联的借款、捏造虚假的租赁合同、或诉讼双方系周化侠实际控制等情况,而被告人程栋利用作为律师的工作经验仍指导相关人员制作虚假合同等材料,为诉讼双方安排代理人或其作为代理人参与诉讼,通过上述伪造的证据帮助周化侠等人谋取了非法利益。
律法帝国,赞377
拒不执行裁定罪,虚假诉讼罪

2015年至2016年期间,在苏州工业园区人民法院执行的申请执行人陆某等人与被执行人祝丽新、苏州工业园区大地景观工程有限公司(以下简称大地景观公司)民间借贷纠纷一案中,被告人郭艾兴伙同祝丽新、田王磊(均已判刑)、张某(另案处理)经事先预谋,通过对已被法院另案查封的所有权为祝丽新夫妇的苏州工业园区星湖街833号荣域花园X幢XXX室、苏州工业园区湖左岸花园X幢XXX室、苏州工业园区翠园路181号商旅大厦X幢XXX室三处不动产分别设立20年、20年、9年的虚假租赁合同妨害执行。被告人郭艾兴受田王磊指使拟定三份虚假租赁合同,并指使其妻子奚某作为承租人与祝丽新签订商旅大厦的虚假租赁合同,并代表祝丽新参与法院具体执行程序。
2015年至2016年期间,经田王磊安排,被告人郭艾兴拟定虚假借款合同并代表祝丽新出庭应诉,张某凭与祝丽新签订的该380万元的虚假借款合同向苏州工业园区人民法院起诉,非法获取人民币58.71265万元后交由田王磊用于还贷等。
2018年7月13日,被告人郭艾兴至公安机关投案,并如实供述上述拒不执行裁定、虚假诉讼的犯罪事实。2020年11月23日,被告人郭艾兴在值班律师在场的情况下,自愿签署认罪认罚具结书,表示认罪认罚。