
今天要分享的材料内容,跟小编学生时代粉的建筑师弗兰克·欧·盖里有关,或许有的小伙伴可能猜测是金属钛,毕竟他有大量知名的建筑以钛为主要饰面材料。
但是,今天咱们要聊的不是这个国内基本上用不到的“极奢”钛,而是它的亲戚,也是盖里在维特拉设计博物馆建筑中所应用的主要材料—— 钛锌板 。

那么,今天我们就从以下几个方面一起来聊一聊 钛锌板 吧!
1、 什么是钛锌板?
2、 钛锌板的类型及材料对比
3、 钛锌板的施工工艺
一、什么是钛锌板?

1、钛锌板的定义
钛锌板 (英文为Zinc-Copper-Titanium Alloy),也称为钛锌合金板、锌铜钛合金板、钛金板等。
由高纯度的Z1级别的金属锌与少量的金属钛(约0.06~0.2%)、金属铜(约0.08~1.0%)及金属铝(约≤0.015%)熔炼而成合金,经辊轧处理成片、条、板或卷状的建材板。

虽然叫钛锌板,但其实它的主体金属为锌,而钛的加入可以改善合金的抗蠕变性,铜的加入用以增加合金的硬度,超过了传统锌金属易弯折等局限的性能。


2、钛锌板的特点
a、 装饰性强
①板材具有丰富的表现力,其延伸率和抗拉强度高,可塑性好,可满足各种各样造型设计(如弧形、曲面、球面、凹面等)的要求。
②本身天然的金属色泽,可与多种材料完美搭配 ,充分满足多种设计风格及个性需求。

b、 绿色环保
①钛锌板可以通过再次熔化而被 100% 的回收利用,不会分解散发有害物质,所以不污染环境。
②钛锌板的使用不会对周围环境产生任何不良影响,冲刷钛锌板表面的水用来浇灌植物都无任何副作用。

c、 性能优越
①材料耐腐蚀性和耐磨耗性极强,耐侯性好。
②有划伤后自动愈合不留划痕、免维护等特点。同时具有独特的抗菌抑菌功能。
③属于不燃材料,防火性能优异。
④可作为避雷闪接器,同时还可以防止电磁辐射。
⑤使用寿命长,约80~100 年。
⑥反射率低,不会造成光污染。

d、 施工多样
①表面不打胶、无明钉,可通过咬合、搭接、翻折等机械操作完成安装施工。
②可直接焊接,表面无需做任何预处理。

e、 价格昂贵
在众多金属材料中,钛锌板的价格相对昂贵一些,但是因其优越的材料性能,综合来看,其性价比也在中高范围内。

3、常用参数
钛锌板的常用参数如下:
大部分产品为卷材,最大长度可现场成型确定,宽度多为400mm~1000mm或定做。施工安装可选择现场制作为板材或片材,也可以在工厂预制成成品板材或片材。
基材厚度:多为0.65mm、0.7mm、0.82mm、0.9mm、1.0mm、1.2mm、1.5mm等。
基材重量:多为3.5~7.5kg/㎡,如0.82mm厚的钛锌板屋面板重量仅为5.7kg/㎡,是一种极轻材料。
(以上均为材料的市面上大部分产品常用参数,仅供参考)
4、价格区间
钛锌板主要受尺寸、颜色、厚度、品牌等因素的影响,售价约为500~1250元/㎡。
(以上价格仅为市场普通中端价格,材料价格根据其不同项目,不同品牌,以及定制等多方原因会有较大浮动,仅供参考。)
二、钛锌板的类型及材料对比
1、钛锌板的类型
钛锌板通常可以根据材料形状的不同以及板材颜色的不同来分类。
a、 根据材料形状的不同分类
根据材料形状的不同,钛锌板通常可以分为卷材、板材和片材三类。
①卷材
指连续成卷的钛锌板。通常现场制作施工构建会从工厂直接采购钛锌板卷材。

△材料示意
②板材
外形扁平,宽厚比大,单位体积的表面积也很大的钛锌板,多为矩形或板材经加工折边后的形态。

△材料示意

△材料示意
③片材
多指单片表面积相对较小的钛锌板,有方形、矩形、菱形和平行四边形等带折边的类型。

△材料示意

△方形片材示意

△方矩形片材示意

△菱形片材示意

△平行四边形片材示意
b、 根据板材颜色的不同分类
根据板材颜色的不同,钛锌板通常可以分为原色(天然钝化)和预钝化色两类。
①原色(天然钝化)
酸洗后的钛锌板,表面会形成蓝灰色或者石墨灰的碱式碳酸锌层。使其接近自然环境中的氧化状况,并通过预处理而加速了氧化,呈现出接近天然氧化效果的色泽。

△材料示意

△色彩效果示意
②预钝化色
表面非涂漆,而是通过在钝化层中添加少量的矿物颜料形成的。常见的颜色偏绿、红、蓝、棕、黑色系。特别是随着光线变化,会显出不同颜色,给人以奇妙的视觉美感。


△材料示意

△色彩效果示意
2、材料对比
钛锌板广泛应用于建筑屋面及外墙,下面就从材料组成、材料性能及材料应用三个方面,比较一下钛锌板与同类型常用的金属板铝镁锰板的材料差异。
a、 材料组成
钛锌板: 以Z1级锌为主基金属,再加入少量铜、钛及铝金属元素熔炼而成。

铝镁锰板 :以铝为主基金属,再加入少量镁、锰金属及其他允许的少量金属元素熔炼而成。

b、 材料性能
钛锌板 :具有极高的耐腐蚀性及耐磨损性,屋面及外墙的持续寿命可达80~100年,表面处理工艺使得其色泽自然、质感极佳,具有复原性,划痕会自动复原,无需维护,属于环保材料。

铝镁锰板 :耐腐蚀性很好,耐磨损性相对较低,材料本身的使用寿命约30年,表面处理工艺以涂装为主,色泽及质感相对较差一些,不具有复原性,表面涂装破损或剥落后需重新维修,属于环保材料。

c、 材料应用
钛锌板 :多用于具有历史性、纪念性、代表性的重要建筑物,如:纪念馆、博物馆、体育馆、机场等。其价格相对较昂贵,通常售价为500~1250元/㎡。

铝镁锰板 :适用于各大型公共建筑,也可应用于中小型建筑及家用别墅等。价格适中,通常售价为200~500元/㎡,性价比优于钛锌板,价格优势使得铝镁锰板具有更广泛的应用性。

三、钛锌板的施工工艺
钛锌板主要应用于建筑的屋面系统、幕墙系统、落水系统、室内装饰、屋顶装饰物等方面。特别适合公共建筑(尤其是标志性建筑)如机场、会展中心、文化中心、体育场馆、高级住宅、高级写字楼等。

钛锌板施工工艺多样,主要可分为 屋面系统 和 墙面系统 两大类,下面咱们就从这两个方面聊一聊钛锌板最常用的几种施工工艺。
1、屋面系统
钛锌板屋面系统主要可分为直立锁边系统和平锁扣系统两类。
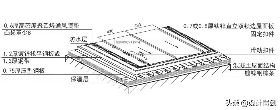
a、 直立锁边系统
此系统为传统钛锌板安装系统,采用单锁或双锁重叠后立边,通常屋面用双锁边。
a) 施工流程
①前期准备、测量放线
②安装镀锌钢檩条
③铺设保温层
④安装压型钢板支撑层
⑤安装镀锌钢板找平层
⑥安装山墙及檐口附件(若没有山墙或檐口可取消此项)
⑦铺设防水层
⑧铺设通风膜空气垫层
⑨安装钛锌板屋面板及扣件
⑩修边收边收口、清洁整理


△节点构造
b) 适用范围
①适合于大面积的屋面以及恶劣气候地区的建筑,比如经常遭受强风、暴雨和降雪的地区(山区或大陆性气候)
②适用于所有造型屋面,如平面、曲面、内凹、外凹、圆锥、球形和双曲面等
③屋面坡度需≥5%(即3º)
c) 工艺特点
①世界范围内广泛适用的传统系统
②灵活性和简洁性适合多种建筑设计要求
③具有最佳的抗风性能
④安装快速、简单经济

b、 平锁扣系统
此系统将板材的四边采用简单的折边相互咬合,使用隐蔽式的扣件及螺丝安装。
a) 施工流程
①前期准备、测量放线
②安装镀锌钢檩条
③铺设保温层
④安装压型钢板支撑层
⑤安装镀锌钢板找平层
⑥安装山墙及檐口附件(若没有山墙或檐口可取消此项)
⑦铺设防水层
⑧铺设通风降噪网
⑨安装钛锌板屋面板及扣件
⑩修边收边收口、清洁整理


△节点构造
b) 适用范围
①适合于平面或曲面造型屋面
②屋面坡度≥60%(即30º)
c) 工艺特点
①可设计不同的版型排布产生不同的肌理效果
②多样性和韵律感适合多种建筑设计要求
③表面平整,没有凸出部件

PS:注意事项
①钛锌板的适用坡度为3º~90º,几乎是从很低的坡度开始一直到垂直的各种坡度都可以采用。
②屋面系统工程施工是在钢筋混凝土结构或钢结构之上完成,要求屋面系统施工前必需具备施工工作面。
③施工安装时建议使用成型机和锁边机,可以节省了大量的施工时间和人力成本,同时保证施工精度。
④安装时,屋面屋檐应留有进气口,屋脊处应留出气口,不得封死;屋面系统的通风层厚度不得低于40mm。
2、墙面系统
钛锌板墙面系统主要可分为直立锁边系统、平锁扣系统及内锁扣系统三类。
a、 直立锁边系统
此系统为传统钛锌板安装系统,采用单锁或双锁重叠后立边,通常墙面用单锁边。
a) 施工流程
①前期准备、测量放线
②安装镀锌钢龙骨
③铺设保温层
④安装压型钢板支撑层
⑤安装镀锌钢板找平层
⑥铺设防水层
⑦铺设通风降噪网
⑧安装钛锌板墙面板及扣件
⑨修边收边收口、清洁整理


△节点构造
b) 适用范围
①适合于恶劣气候地区的建筑外墙,比如经常遭受强风、暴雨和降雪的地区(山区或大陆性气候)
②适用于所有造型立面,如平面、曲面、内凹、外凹、圆锥、球形和双曲面等
c) 工艺特点
①较低的立边高度,使屋面和墙面呈现出独特的统一方向的韵律感和现代感。
②在处理更加复杂的立面设计时表现出更先进的技术优势
③多变性和安全性适合多种建筑设计要求
④安装技术成熟,易操作

b、 平锁扣系统
此系统将板材的四边采用简单的折边相互咬合,使用隐蔽式的扣件及螺丝安装。
a) 施工流程
①前期准备、测量放线
②安装镀锌钢龙骨
③铺设保温层
④安装压型钢板支撑层
⑤安装镀锌钢板找平层
⑥铺设防水层
⑦铺设通风降噪网
⑧安装钛锌板墙面板及扣件
⑨修边收边收口、清洁整理


△节点构造
b) 适用范围
适合于平面或曲面造型墙面
c) 工艺特点
①板型灵活多变,有长条板、方形板、菱形板、多边形板等。
②板材拼接方式有浮雕式和嵌入式两种,满足不同的立面设计效果

c、 内锁扣系统
此系统是开放式幕墙体系,墙板用隐蔽式扣件及螺丝安装于框架结构上。
a) 施工流程
①前期准备
②测量放线
③安装主龙骨(镀锌钢龙骨或铝龙骨)
④铺设保温层
⑤铺设防水层
⑥安装次龙骨(镀锌钢龙骨或铝龙骨)
⑦安装钛锌板墙面板及扣件
⑧修边收边收口及嵌缝处理
⑨清洁整理


△节点构造
b) 适用范围
适合于平面造型墙面
c) 工艺特点
①类似普通金属板幕墙体系,适用性更强
②与不同材料或尺寸规格的板材组合,形成更丰富的装饰效果
③表面平整顺滑,安装便捷

注意事项
①钛锌板内锁扣系统施工时,可横向、竖向、斜向铺设于平直表面上。
②墙面系统工程施工是在土建主体结构之上完成的,且需设置预埋件或后置埋件。
③内锁扣系统的支撑框架可以是最小1.5mm厚的镀锌钢龙骨或最小2mm厚的铝龙骨;龙骨宽度不应低于50mm,间距不得超过600mm。
④安装时,墙面在墙底与墙头都应留气口,墙面通风层厚度不得低于20mm。
当室内装饰中的内墙及吊顶应用钛锌板时,施工工艺可参考钛锌板墙面系统。
(本文图片来源均自网络,版权均归原作者所有)