北京时间5月23日,中超第9轮结束第一个比赛日的4场比赛。与上一轮比赛不同,本轮前4场比赛,有3支主场作战的球队取得胜利,只有南通支云遭遇惨败。上海申花客场不敌成都蓉城,赛季不败金身被打破,武汉三镇则在客场狂屠升班马南通支云。

成都蓉城与上海申花的比赛是本轮的焦点大战。本场比赛前,两支球队均保持着不败金身。比赛第16分钟,刘涛就利用定位球机会头球破门,帮助主队取得领先。比分落后的上海申花提前进行调整,并在第34分钟,由曹赟定助攻刚刚替补出场的马莱莱扳平比分。比赛最后时段,晏新力手球送点,艾克森一蹴而就锁定胜局。不过,对于这次点球判罚,申花队球员表达了强烈不满,此后更是引起了大规模冲突,门神马镇更是因拳击罗慕洛吃到红牌。这场焦点之战打到最后极为惨烈。



相比之下,武汉三镇客场与南通支云的比赛则非常从容和轻松。在阿齐兹突然领到足协的罚单后,愤怒的武汉三镇把情绪全部发泄到了对手身上。这场比赛,武汉三镇虽然轮休了多名外援,但全华班的攻击线还是令升班马难以招架,凭借陶强龙的帽子戏法,以及谢鹏飞和韦世豪的进球,武汉三镇在客场开启暴走模式,5-0胖揍南通支云,在4连平后迎来一场爆发式的胜利。


与武汉三镇同时开启暴走模式的还有坐镇工体主场的北京国安,他们以6-2的大比分力擒沧州雄狮。比赛开始阶段,沧州雄狮还打得有声有色,奥斯卡第8分钟就帮助球队取得领先,此后张稀哲扳平了比分,朱可夫打进赛季首球,再次超出。接下来,就到了北京国安的表演时间,王子铭上演梅开二度,姜祥佑、高天意、杨立瑜纷纷取得进球。7次射正球门的北京国安高效地取得了6粒进球,取得了一场大胜。

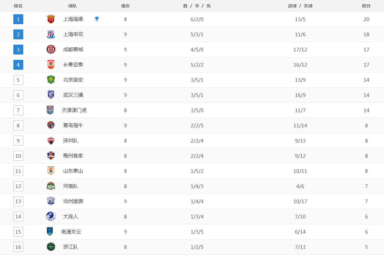
另外一场比赛中,长春亚泰坐镇主场,凭借谭龙上半场的头球破门,1-0小胜青岛海牛,取得两连胜。此役过后,迎来赛季第5胜的长春亚泰已经攀升到积分榜第4名。成都蓉城击败上海申花后,同积17分排在第3,依旧保持不败战绩。武汉三镇和北京国安凭借大胜,积分也达到了14分,分列积分榜第6、第5位。