最近,我们的一位用户想购买他朋友的一部二手车,卖家是一名做二手车中介交易的老板,双方也谈定好了二手车的价格。考虑到双方是朋友关系,买家也希望在我们的协助下对车辆做第三方的二手车的鉴定,算是买卖双方在交易之前的车辆“婚前检查”。
这台车买家实出的费用是4.8万(含过户费用,卖家的交易佣金),我们接下来看看这台二手车值不值!我们也坚持用实际的案例来呈现给大家买卖二手车的要领!

车型:阳光 2011款 1.5XE 手动舒适版
行驶里程:67549公里

新阳光是一款专为中国市场打造的紧凑型家庭用车。在它的身上已经没有了前九代“日产阳光”的气魄,以小尺寸、大空间和低油耗为主要卖点,变成了一台“居家过日子”的家用车,大空间、省油、经济是它的卖点,同时在二手车市场也非常受青睐,有朋友做过一次非正式的调查,购买新阳光二手车的用户,很大一部份用来跑“黑的”。

我们打开左前车门柱的部位,这个生锈的螺丝引起了我们的怀疑。经过仔细鉴定,生锈的原因并非来自于拆卸,而是用料,因为接下来这部车生锈的地方更多.......

新阳光通过缩短发动机与油箱等机械配件的占位,使其拥有同级最长的2600mm轴距,造就了636mm最大后排腿部空间,确实是这个级别的翘楚。

通过仪器和经验判断,这部车的左前翼子板,左前车门,左后车门,后翼子板都经过喷漆处理,尤其是后车门钣金比较严重,进行了拆卸修复。

我们可以很明显的看到左后门门栓的螺丝有拆卸的痕迹。

左后车门的漆面厚度最高超过600微米,说明钣金后,腻子打得比较厚。




这部车内饰的成新度还不错,关键部位如:方向盘,门扶手、音响及空调旋钮等摸索都不大,符合5年年限的使用标准,结合保养记录查询和其他部位鉴定,可以排除车辆调表的嫌疑!


这台手动变速箱的档位很清晰,不过入挡有些生涩,档位也不够紧凑,挡把在入挡后左右还有一些空量。离合器的调校比较舒服,接合点的位置略低,在市区内频繁起步时的“油离配合”非常容易。

新阳光搭载的是日产HR15DE系列发动机。这台发动机首次应用了燃油双喷射系统、双C-VTC连续可变气门正时智能控制系统两项技术。整体发动机舱结构完整,没有重大事故的痕迹,接下来,我们继续看细节。

我们可以看到,发动机机脚垫螺丝已经生锈,和刚才提到的那颗左前门螺丝一样,属于自然生锈,并非拆卸引起的。


我们可以看到,这部车的空调散热器特别新,据了解,是因为这部车不久前空调漏氨不制冷而更换的。

可以看到和空调散热器一并更换的还有空调的高压管。

下防撞梁有轻微碰撞的痕迹,同样,也锈迹斑斑,不过并不影响日常使用。

可以看到电瓶接头有明显的氧化现像,对付这样的问题,我们可以用开水烫一下,再涂抹点黄油就可以解决问题


打开后备厢,我们可以看到后备箱锁扣生锈,这是尾部撞击修复的痕迹!

钣喷残留痕迹

钣喷残留痕迹

后备箱盖因轻微的追尾撞留下的整形及焊点痕迹。


没有经过底盘检测的二手车,我建议用户慎重购买,因为一款车底盘部份是值得推敲地方。

尾部底边可以看到这部车因追尾而修复的痕迹,并且已经生锈。


后桥的内部有轻微生锈腐蚀。

元宝梁因拆卸而生锈。

左右下臂也是刚刚更换不久的,从生产批次和新旧程度就可以很直观的看出来。

这个油渍是原车主更换机油格留下的,并非漏油。

前轮胎刚更换不久。

而后轮胎还是原厂 胎,并且已经老化非常严重,需要马上更换。

*哥涛**总结:
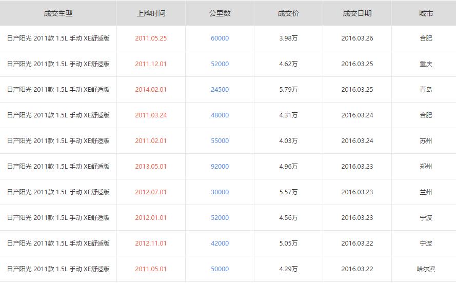
这款阳光 2011款 1.5XE 手动舒适版是当年的最低配置,我们从上图中这款车型近期的交易数据来看,2011-2012年份日产阳光舒适版的二手车交易价格普遍在4-5万之间。按这台车的具体车况,含过户,中介等费用,实际买家出价4.8万,裸车价在4.5万左右。这个价格,这个成色,我个人认为是有些偏贵。不过,这台二手车并没有什么太大的问题,价格贵一些车主也可以接受,毕竟买二手车也需要缘分,你觉得是便宜还是贵了呢?
-----------------------------------------------------
如有汽车问题,*哥涛**无偿为大家提供咨询和服务(微信号 pingguwt)
买靠谱二手车,欢迎关注优艾卡好车猎手(微信号 uicar_)