直升机机载电子设备AD851CR导航接收机虚拟化仪表试验器设计-3
直升机机载电子设备AD851CR导航接收机工作原理-B
编写:贺军

概述:
AD851 CR导航接收机是可以通过控制安装在直升机上仪表板中内置的导航指示器进行辅助导航的MF导航接收设备,“直升机机载电子设备AD851无线电罗盘虚拟化仪表试验器”是对“AD851 CR导航接收机”各项技术指标进行检测的检测试验设备。
检测的AD851 CR导航接收机制造商零件号:0901010102。
直升机机载电子设备AD851无线电罗盘虚拟化仪表试验器系统组成如图所示;

直升机机载电子设备AD851无线电罗盘虚拟化仪表试验器屏幕显示如图所示:

直升机机载电子设备AD851CR导航接收机虚拟化仪表试验器设计-3
直升机机载电子设备AD851CR导航接收机工作原理-B
2、工作原理:
A、无线电罗盘系统的理论说明:
无线电罗盘是一种用于中短程导航的飞机仪器。
这种导航的基本方法是沿着气道飞行,气道的每一段在两端都有一个无线电信标,可以进行角度测量。
这个无线电信标是一个简单的中频( MF )发射器,这意味着在距离空间站相同的距离上,天线发射的能量是相同的,无论飞机的方位角如何。
这种空间站发射包括一个纯载波(非调制),它在飞机上产生连续的声音信号。在有规律的时间间隔内,连续的信号被构成无线电信标识别码的莫尔斯码字母的发射所中断。
无线电信标在200-2000kHz频带内运行,有三种类型的使用决定了位置、范围和名称。它们是:
- “L”(*位器定**):位于机场的无线电电着陆装置,通常不沿跑道轴移动。其分布范围约为50公里,其莫尔斯码标识符一般由2个字母组成;
- “NDB”(非定向信标):这是一个标记气道的无线电导航辅助设备。它的范围非常高(400公里),其标识码包含3个字母;
- “BS”(广播系统):这些都是广播发射机。
发射频率为1020Hz。
一般的调幅方式为A1或A2型,但其为A3型的广播发射机除外。
适当的机制根据基站的莫尔斯码标识符编码排列。
标记气道的两个无线电信标之间的距离可以相差很大,根据路线和密度,从几十公里到几百公里不等空中交通。
在飞机上,飞行员有一个指示器(CADF指示器),上面有一根针显示他要遵循的路线,以便重新加入的无线电信标。因为飞行员知道两个无线电信标和他的飞机的速度,他很容易估计出这个新的到达辐射探测器标记所需的时间。
当他在相关的控制箱上选择了所需的频率时,指示针会自动指示飞机的发射无线电信标的方向。
无线电信标的方向与飞机的方向之间的夹角是轴承(g)。
为了重新加入这个无线电信标,只要没有风,它就足以保持针头在零。
为了到达基站而选择的磁航向(QDM)是磁航向的总和(Cm)在测量和测量的轴承的时刻。
即: QDM = Cm + g
如下图所示。

如果有风,飞机假定一个航向,使指示器的针头为零,飞机将保持其航向,但漂移,并假设一个位置,使它需要再次改变航向或方向,以保持针头在零。
以这种方式导航的飞行员无法以最短的路线到达空间站,因为他的飞机会遵循所谓的航行曲线。然后,他必须保持飞机的漂移,并选择一个轴承,使飞机将保持在其直线轨迹上。
B、AD851CR接收机的一般操作
(1)、安装:
AD851CR接收机设计用于使用以下设备:
- 一副CA 851型天线,

- 一个控制盒(例如,BRR655类型),

- 一个ADF指示器(例如,RMI IVA510类型)。

*注意:请参考设备相关项目的文件。
它由两个电压供电:
- + 28 V,
- 26 V -400 Hz.
接收机安装的方框图如图4所示。
图4:

(2)、输入-输出
AD 851 CR接收机:
- 从控制盒来:
。开关命令,
。操作模式命令,
。无线电信标频率的选择。
。收听海上遇险频率的命令(f = 2.182MHz );
- 在飞机上:
。+28V电压(由2A断路器保护),
。26V-400Hz的电压,
。NAV禁用停用信号,
这些信号在41针脚插座上被接收到。
从空中出发:
。环路+天线或天线信号,
该信号在三轴插座上被接收到。
它提供:
- 到空中:
。其电源(±12V LOOP和 +12V天线),
。两个正弦(SIN MOD)和余弦(COS MOD)调制信号;
- 到指示器:
。以同步的形式承载信息的无线电信标或遇险信标。
- 到飞行员:
。一种具有浮动输出功能的音频信号;
该信息由接收器通过41针连接器输出。
图5给出了各功能部件与接收器连接的方式示意图。
图5:

(3)一般原则:
接收器打开,其工作模式和它应锁定的频率被编程使用控制框。
一般来说,通过接地相应的电平线,使这些顺序有效。
当打开时,接收器以以下选定模式之一运行:
- ADF: 自动测向,指示器将发射器的轴承到接收器切换的频率。
- ANT.:无线电排列表(A1、A2、A3)。
LOOP功能已停用。
指示器的指示针位于270°标记上。
注意:- BFO(节拍频率振荡器)可以叠加在这两种模式上。
- 针对这两种模式的命令,使用相同的离散级别,有以下方式:
。在ADF模式下,离散级别为打开。
。在ANT.模式下,离散电平是接地。
- 测试:测试AF和仪表链。指示针在90°标记上被阻塞,只要命令被激活,就会保持在那里。
- BFO:1020Hz的信号叠加在ADF和ANT.模式。
这意味着音频输出功率(耳机)的增加。
注:这两种模式通过接地相应的离散电平而有效。
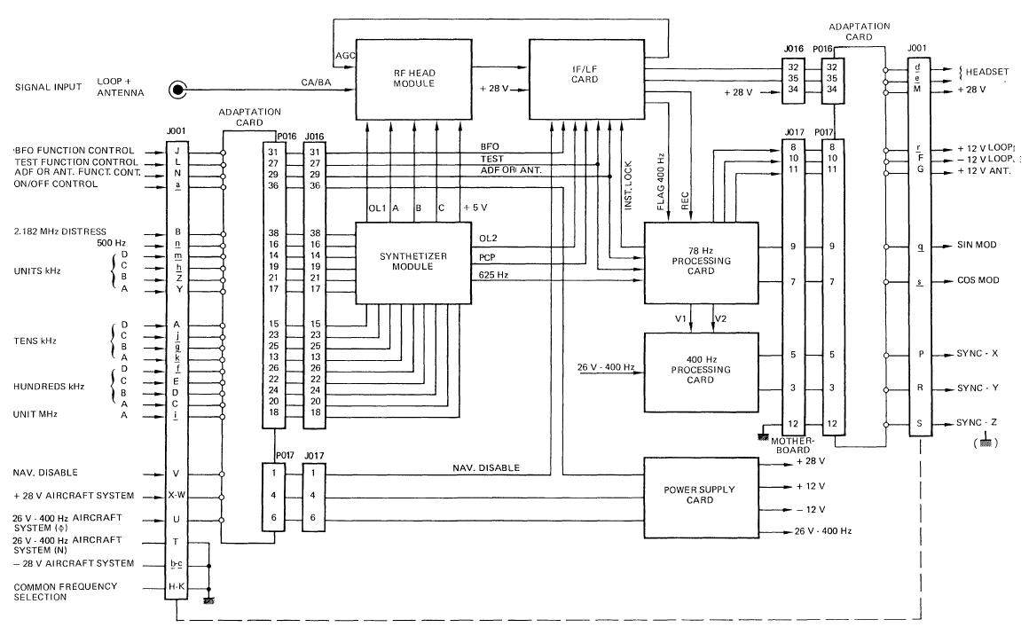
图6给出了接收机的功能方框图。
图6:

注意:通过41针插座进入或离开的所有数据都要通过自适应卡。
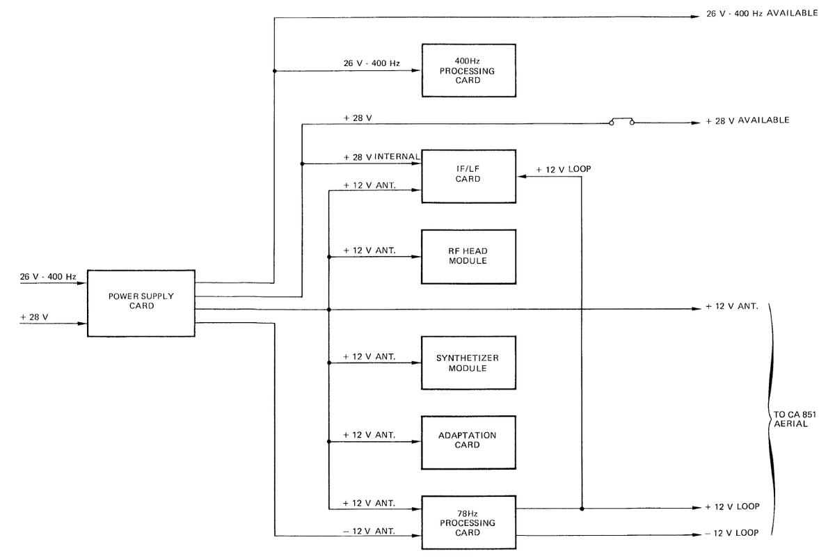
(a)、开关接通
接收器由安装在电源卡上的继电器的激励而通电。
在接通位置,继电器触点切换接收器内部的+28V和26V-400Hz飞机电源电压。
这些电压为:
- 由电源卡设置,以产生操作接收器(和天线)所需的+12DC电压,
- 通过此卡传输到IF/LF (+28V)和400Hz处理( 26V - 400Hz )卡。
电源分布情况见图7。
图7:

(b)、工作模式
接收器是基于两个功能卡:
- 由RF HEAD模块和IF/LF卡组成的音频接收卡,
- 由78Hz处理卡和400Hz处理卡形成的仪表链。
这两个卡,同时切换到ADF、ANT.和TEST模式,并单独切换(第一卡)到BFO模式,由合成器模块驱动。
由控制盒通过自适应卡传输的BCD频率选择数据激活,此模块产生:
- 用于射频头:
。振荡信号(OL1),其频率超过天线给接收机的信号10.7MHz,
。一种编码命令(A、B、C、+5),允许选择该滤波器,其带宽对应于所选择的工作频率;
- 对于IF/LF卡:
。一个恒定频率为14.3MHz的振荡信号(OL2),
。一个振幅的相位比较脉冲(PCP)12V,防止在工作频率编程时停用接收卡;
- 对于78 Hz的处理卡:
。一种频率为625 Hz的参考脉冲信号。
第一个功能卡接收来自78 Hz天线的信号(CA/BA),由两个SIN MOD和COS MOD信号调制,并携带轴承数据。
它的性能:
- 激活相关的输入过滤器,
- 通过激活局部振荡信号OL1和OL2来降低信号频率,
- 信号放大和自动增益控制(AGC),
- 由一个PLL电路进行解调,
- 音频重现,
- 如果信号不可用(太弱或缺失),仪表报警(400Hz FLAG)。
输入滤波器通过解码器接收编码命令(A、B、C、+5V)而被激活。
信号频率降低:
-首先,在RF HEAD模块中,该频率与局部OL1的频率跳动。这产生了10.7MHz的频率。
- 其次,在IF/LF卡中,10.7MHz频率与局部振荡OL2频率为14.3MHz。这就产生了一个3.6MHz的频率。
其他功能则在JF/LF卡中执行。AGC也应用于射频头模块。
音频信号以所谓的“不固定”形式传递。
以下功能被传送到第二个功能卡:
- 78Hz调制处理信号(REC),
- 仪表报警器( 400Hz FLAG )。
利用前一卡传输的REC信号、合成器模块输出的625 Hz参考信号和26V-400Hz飞机电压,第二功能卡执行:
- 产生两个交流信号,一个是正弦(SIN MOD),另一个是余弦(COS MOD),调制射频载波(见天线)并给它一个轴承值,从而在接收机输入产生CA/BA 78Hz调制信号,
- 正常运行时将仪表关闭确认信号传输到先前卡(+12V的反馈),
- 以两个同步的形式控制指示器,电压同步。X和同Y步。,使用可变直流电平生成,它镜像SINMOD和硫化羰MOD信号。
1、ADF模式:
辅助的。离散电平为开路状态。
接收器的行为就像一个自动测向器。
开关切换:
- 或根据所使用的无线电信标的频率,
- 或根据2.182兆赫的海洋遇险频率(这抑制了所有其他的先前选择的频率)。
该天线的电源是:
- +12V和 -12V LOOP电压,
- +12VANT.电压,
- 由仪表卡产生的正弦(SIN MOD)和余弦(COS MOD)78Hz调制信号。
通过三轴卡路,它传输一个复合LOOP + 天线信号。
该模式的特点是:
- 存在音频信号(例如,在耳机上可听到的无线电信标的莫尔斯码标识符),
- 指示器上指示针与发射器轴承的偏差(地面无线电信标、遇险船只)。
2、ANT.模式
- ADF/ANT.离散线的电平为接地线。
天线不再接收+12V LOOP电压。因此,该循环被停用,而+12V ANT.持续。
该设备的行为就像一个简单的广播接收器,此时存在音频信号。
位于78Hz处理卡上的触发器通过+12V ANT触发“1”。
指示针显示270°,并保持在此位置( FLAG )。
3、BFO模式:
- BFO模式实际上总是用于A1。
它叠加在前两种模式上。
BFO离散电平是接地。
BFO功能由IF/LF卡(1020Hz振荡器)执行。
它可使音频信号放大约4dB。
4、测试模式
- 测试模式用于检查以下设备的正确操作:
- 音频电路,
- 仪表卡。
测试离散电平是接地的。
测试功能由IF/LF和78 Hz处理卡执行,指示针显示90°,并在测试按钮被激活时仍保持在此位置( FLAG TEST )。
BFO信号是输出1020 Hz音频信号。