测量电气设备的绝缘电阻是绝缘试验中最基本、最简便的方法。在现场普遍使用兆欧表测量绝缘电阻,其型式有手摇式、晶体管式和数字电子式,其输出直流电压等级有100V 、250V 、500V 、1000V 、2500V 、5000 V ,对于不同电压等级的电气设备应使用不同电压的兆欧表,最常用的是500 V、1000 V 和2500V 电压等级的。一、绝缘电阻
绝缘电阻是指在绝缘体的临界电压以下,施加的直流电压
时,测量其所含的离子沿电场方向移动形成的电导电流,应用欧姆定律所确定的比值。即
如果施加的直流电压超过临界值,就会导致产生电子电导电流使绝缘电阻急剧下降。这样,在过高电压作用下绝缘就遭到了损伤,甚至可能击穿。所以一般兆欧表的额定电压不太高,使用时应根据不同电压等级的绝缘选用。测量绝缘电阻时,采用兆欧表的电压等级:
(1)100V 以下的电气设备或回路,采用 250V 50MΩ 及以上兆欧表;
(2)500V 以下至 100V 的电气设备或回路,采用 500V 100MΩ及以上兆欧表;
(3)3000V 以下至 500V 的电气设备或回路,采用 1000V 2000MΩ 及以上兆欧表;
(4)10000V 以下至 3000V 的电气设备或回路,采用 2500V 10000MΩ 及以上兆欧表;
(5)10000V 及以上的电气设备或回路,采用 2500V 或 5000V 10000MΩ 及以上兆欧表。
二、测量原理
在直流电压的作用下,绝缘中将通过电流,其变化是开始瞬间通过一个很高的电流,并很快地下降,然后缓慢地减少到接近恒定值为止。总的电流组成如下:
(1)电导电流 iL 。电导电流是由离子移动产生的,其大小决定于电介质在直流电场中的导电率,所以可以认为它是纯电阻性电流。绝缘介质内部导电粒子增加,或者是表面漏电增加,都会引起电导电流增加,因而其绝缘电阻就减小。它基本上和时间无关。
(2)电容电流 ic 。它是由快速极化(电子、离子极化)过程而形成的位移电流,快速极化是瞬时完成,因此这种电流瞬间即逝,直至零。
(3)吸收电流 ia 。它是由缓慢极化而形成的(自由离子的移动),也是时间的函数,随时间的增长而缓慢地减少,其值取决于电介质的性质、不均匀程度和结构,这部分电流可以看成电源经过一电阻向电容充电的电流。
这三种电流的合成便是总电流 i 。在下图中表示了绝缘在直流电压作用下通过的电流和时间的关系曲线。

三、测量接线
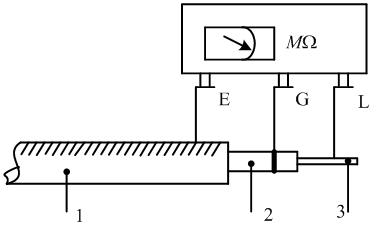
兆欧表有三个接线端子:线路端子(L),接地端子(E),屏蔽(或保护)端子(G),被试品接在L和E之间,G用以消除绝缘试品表面泄漏电流的影响,其试验原理接线如图下图所示:

四、吸收比和极化指数
不同的绝缘设备,在相同电压下,其总电流随时间下降的曲线不同。即使对同一设备,当绝缘受潮或有缺陷时,其总电流曲线也要发生变化。当绝缘受潮或有缺陷时,电流的吸收现象不明显,总电流随时间下降缓慢。一般将60s和15s时绝缘电阻的比值R60/R15,称为吸收比。绝缘受潮时吸收比下降,其最小值为1。变压器的绝缘要求吸收比值大于1.3,吸收比试验与温度和湿度有关,必要时可按
进行温度换算。
对于吸收过程较长的大容量设备,如变压器、发电机、电缆等,有时用吸收比尚不足反映绝缘介质的电流吸收过程。为了更好第判断绝缘是否受潮,可采用较长时间的绝缘电阻比值进行衡量,即10min和1min时绝缘电阻的比值R10min/R1min,称为绝缘的极化指数。
极化指数测量加压时间较长,测定的电介质吸收比率与温度无关,变压器极化指数一般应大于1.5,绝缘较好时其值可达到3-4。
五、测试方法1、试验前应拆除被试设备电源及一切对外连线,并将被试物短接后接地放电1min,电容量较大的应更应充分放电,以免触电。
2、用干燥清洁的柔软布擦去被试物的表面污垢,必要时可先用汽油洗净套管的表面积垢,以消除表面的影响。
3、将兆欧表放置平稳,驱动兆欧表达到额定转速,此时兆欧表的指针应指"
",再用导线短接兆欧表的"火线"与"地线"端头,其指针应指零。然后将被试品的接地端接于兆欧表"E"上,测量端接于"L"上。如遇被试品表面的泄露电流较大时,为避免表面泄露的影响,必须加装屏蔽。屏蔽线应接兆欧表"G"上。接好线后,火线暂时不接被试品,驱动兆欧表至额定转速,其指针应指"",然后兆欧表停止转动,将火线接至被试品。
4、接好线,如用手摇式兆欧表时,应以恒定转速转动摇柄,兆欧表指针逐渐上升, 待1min后读取其绝缘电阻值。
5、试验完毕或重复进行试验时,必须将被试物短接后对地充分放电。这样除可保证安全外,还可提高测试的准确性。
6、测量吸收比或极化指数时,先驱动兆欧表达额定转速,待指针指"
"时,用绝缘工具将火线立即接至被试品上,同时记录时间,分别读取15和60s或10min时的绝缘电阻值。7、读取绝缘电阻值后,先断开接至被试品的火线,然后再将兆欧表停止运转,以免被试品的电容在测量时所充的电荷经兆欧表放电而损坏兆欧表,这一点在测试大容量设备时更要注意。此外,也可在火线端至被试品之间串入一只二极管,其正端与兆欧表的火线相接,这样就不必先断开火线,也能有效地保护兆欧表。8、在湿度较大的条件下进行测量时,可在被试品表面加等电位屏蔽。此时在接线上要注意,被试品上的屏蔽环应接近加压的火线而远离接地部分,减少屏蔽对地的表面泄漏,以免造成兆欧表过载。屏蔽环可用保险丝或软铜线紧缠几圈而成。9、若测得的绝缘电阻值过低或三相不平衡时,应进行解体试验,査明绝缘不良部分。
10、记录被试设备铭牌、规范、所在位置及气象条件等。
六、注意事项
1、绝缘试验应在良好天气且被试物及仪器周围温度不宜低于 5℃,空气相对湿度不宜高于80% 的条件下进行。对不满足上述温度、湿度条件情况下测得的试验数据,应进行综合分析,以判断电气设备是否可以投入运行。
2、试验时,应注意环境温度的影响,对油浸式变压器、电抗器及消弧线圈,应以被试物上层油温作为测试温度。
3、绝缘电阻测量,应使用60s的绝缘电阻值;吸收比的测量应使用60s与15s绝缘电阻值的比值;极化指数应为10min与1min的绝缘电阻值的比值;用于极化指数测量时,兆欧表短路电流不应低于2mA。
4、多绕组设备进行绝缘试验时,非被试绕组应予短路接地。
5、测量大容量电机和长电缆的绝缘电阻时,充电电流很大,因而兆欧表开始指示数很小,但这并不表示被试设备绝缘不良,必须经过较长时间,才能得到正确结果,并要防止被试设备对兆欧表反充电损坏兆欧表。
6、屏蔽环装设位置。为了避免表面泄漏电流的影响,测量时应在绝缘表面加等电位屏蔽环,且应靠近E端子装设,即屏蔽环应装设在被试品的中、下部。
7、对于同杆双回架空线或双母线,当一路带电时,不得测量另一回路的绝缘电阻, 以防感应高压损坏仪表和危及人身安全。对平行线路,也同样要注意感应电压,一般不应测其绝缘电阻。在必须测量时,要采取必要措施才能进行,如用绝缘棒接线等。
8、兆欧表的L和E端子接线不能对调,兆欧表与被试品间的连线不能绞接或拖地。
9、采用兆欧表测量时,应设法消除外界电磁场干扰引起的误差。
引起误差的原因:
1、磁耦合;
2、电容耦合。
消除外界电磁场干扰的办法是:
1、远离强电磁场进行测量。
2、采用高电压级的兆欧表,例如使用5000V或10000V的兆欧表进行测量。
3、采用屏蔽端子G进行屏蔽。
10、为便于比较,对同一设备进行测量时,应采用同样的兆欧表、同样的接线。
11、电源电池能量的影响,对晶体管兆欧表,电池不足,会使测得绝缘电阻增大。
七、影响绝缘电阻的因素
1、湿度的影响。当空气相对湿度增大时,绝缘物(特别是极性纤维所构成的材料〕,由于毛细管作用,将吸收较多的水分,使电导率增加,降低了绝缘电阻的数值,尤其对表面泄漏电流的影响更大。
2、温度的影响。一般情况下,绝缘电阻随温度升高而减小。这是因为温度升高时,加速了电介质内部离子的运动,同时绝缘内的水分,在低温时与绝缘物结合得较紧密。
3、表面脏污和受潮的影响。由于被试物的表面脏污或受潮会使其表面电阻率大大降低,绝缘电阻将显著下降。
4、被试设备剩余电荷的影响。对有剩余电荷的被试设备进行试验时,会出现虚假现象,当剩余电荷的极性与兆欧表的极性相同时,会使测量结果虚假地增大。当剩佘电荷的极性与兆欧表的极性相反时,会使测量结果虚假地减小。这是因为兆欧表需输出较多的异性电荷去中和剩余电荷之故。
5、兆欧表容量的影响。试品容量较大时,容量不同的兆欧表测得的极化指数有差异,这时兆欧表的容量对测量结果的影响较大。这是因为兆欧表容量不同,则试品电容分量充电至稳定值所需的时间不同,并影响测试电压在试品上的建立时间,从而试品内部的介质极化强度不同,试品视在绝缘电阻值、吸收比或极化指数的读测值也将出现差异。可以认为兆欧表容量愈大愈好。
八、绝缘电阻测试项目及标准
(一)电力变压器
1、测量与铁心绝缘的各紧固件(连接片可拆开者)及铁心(有外引接地线的)绝缘电阻:
(1)变压器,所有安装工作结束后应进行铁心和夹件(有外引接地线的)的绝缘电阻测量;
(2)铁心必须为一点接地;对变压器上有专用的铁心接地线引出套管时,应在注油前测量其对外壳的绝缘电阻;
(3)采用 2500V 兆欧表测量,持续时间为1min,应无闪络及击穿现象。
2、测量绕组连同套管的绝缘电阻、吸收比或极化指数:
(1)绝缘电阻换算至同一温度下,与前一次测试结果相比应无明显变化,一般不低于上次值的70%;
(2)35kV及以上变压器应测量吸收比,吸收比在常温下不低于1.3;吸收比偏低时可测量极化指数,应不低于1.5。
绝缘电阻大于1000MΏ时,吸收比不低于1.1或极化指数不低于1.3。
主绝缘及电容型套管末屏对地绝缘电阻
主绝缘的电阻值一般不低于下列数值:
110kV及以上:10000MΏ;
35kV:5000MΏ;
(2)末屏对地的绝缘电阻不应低于1000MΏ
(二)互感器
1、测量绕组的绝缘电阻:测量一次绕组对二次绕组及外壳、各二次绕组间及其对外壳的绝缘电阻;绝缘电阻不宜低于1000MΏ 。
2、测量电容式电流互感器的末屏及电压互感器接地端(N)对外壳(地)的绝缘电阻,绝缘电阻值不宜小于1000 MΏ。若末屏对地绝缘电阻小于1000 MΏ时,应测量其tanδ; 绝缘电阻测量应使用2500V兆欧表。
3、电容式电压互感器
(1)极间绝缘电阻:一般不低于5000MΏ;
(2)低压端对地绝缘电阻:一般不低于100MΏ(采用1000V兆欧表);
(3)中间变压器一次对二次及地绝缘电阻:大于1000MΏ。
(三)真空断路器的绝缘电阻值
(四)电力电缆线路
1 、对电缆的主绝缘作耐压试验或测量绝缘电阻时,应分别在每一相上进行。对一相进行试验或测量时,其它两相导体、金属屏蔽或金属套和铠装层一起接地。
2、对额定电压为0.6/1kV的电缆线路应用2500V兆欧表测量导体对地绝缘电阻代替耐压试验,试验时间1min。
3、测量各电缆导体对地或对金属屏蔽层间和各导体间的绝缘电阻,应符合下列规定:
1)耐压试验前后,绝缘电阻测量应无明显变化;
2)橡塑电缆外护套、内衬套的绝缘电阻不低于0.5MΏ/km。
4、主绝缘绝缘电阻:陆地电缆:一般应大于1000MΏ。
(五)电容器
1、框架式并联电容器成套装置
(1)极对壳绝缘电阻:不低于2000MΏ;
(2)放电线圈绝缘电阻:不低于1000MΏ。
2、集合式并联电容器成套装置
(1)相间和极对壳绝缘电阻:不小于1000MΏ。
(六)避雷器
1、金属氧化物避雷器绝缘电阻测量,应符合下列要求:
(1)35kV以上:用2500V及以上兆欧表,绝缘电阻不小于2500MΏ;
(2)35kV及以下:用2500V及以上兆欧表,绝缘电阻不小于1000MΏ;
2、底座绝缘电阻不低于5 MΏ(用2500V及以上兆欧表) 。