前言
注塑模具是属于注塑生产主要设备之一,故制定模具点检与保养之方法,为有效维护模具的精密度和稳定生产作业,保证成型产品质量,减少生产过程中故障的发生,并确保注塑车间的模具能正常生产,降低模具的故障和产品的质量问题,使模具能保持最佳的性能状态和延长使用寿命,以确保生产的正常进行。
一、注塑模具的定义
塑料注射成型所用的模具称为注塑成型模具,简称注塑模。注塑模能一次成型外形复杂、尺寸精确高或带有嵌件的塑料制品。
“七分模具,三分工艺”。对注塑加工来说,模具和注塑机一样对成型品的质量有很大的影响,甚至可以说模具比注塑机所起的作用更大;在注塑成型时如果对模具不充分了解,就难以得到优良的成型品。
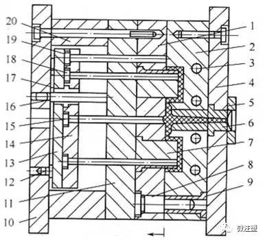
二、常见塑料模具部件名称

1-动模板;2-定模板;3-冷却水道;4-定模座板;5-定位圈;6-浇口套; 7-型芯板;8-导柱;9-导套;10-动模座板;11-支承板;12-限位钉;13-推板;14-推杆固定板15-拉料杆;16-推板导柱; 17-推板导套; 18-推杆; 19-复位杆;20-垫块
三、注塑模具的结构和组成
注塑模的结构由注塑机的类型和塑件的结构特点所决定,每副模具均由动模和定模所组成。动模安装在注塑机的移动板上,而定模则安装在注塑机的固定板上;注塑时,动模与定模闭合后构成浇注系统及模腔,当模具分开后,塑件或啤件留在动模一边,再由设置在动模内的脱模机构顶出塑件。根据模具中各个部件的作用不同,一套注塑模可以分成以下几个部分:
1、成型零件
赋予成型材料形状、结构、尺寸的零件,通常由型芯(凸模)、型腔(凹模)以及螺纹型芯、镶块等构成。
2、浇注系统
它是将熔融塑料由注射机喷嘴引向闭合模腔的通道,通常由主流道、分流道、浇口和冷料井组成。
3、导向部件
为了保证动模与定模闭合时能够精确对准而设置的导向部件,起导向定位作用,它是由导柱和导套组成的,有的模具还在顶出板上设置了导向部件,保证脱模机构运动平稳可靠。
4、脱模机构
实现塑件和浇注系统脱模的装置,其结构形式很多,最常用的有顶杆、顶管、顶板及气动顶出等脱模机构,一般由顶杆、复位杆、弹弓、顶杆固定板、顶板(顶环)及顶板导柱/导套等组成。
5、抽芯机构
对于有侧孔或侧凹的塑件,在被顶出脱模之前,必须先进行侧向抽芯或分开滑块(侧向分型),方能顺利脱模。
6、模温调节系统
为了满足注射成型工艺对模具温度的要求,需要有模温调节系统(如:冷却水、热水、热油及电热系统等)对模具温度进行调节的装置。
7、排气系统
为了将模腔内的气体顺利排出,常在模具分型面处开设排气槽,许多模具的推杆或其它活动部件(如:滑块)之间的间隙也可起到排气作用。
8、其它结构零件
是指为满足模具结构上的要求而设置的零件(如:固定板、动/定模板、撑头、支承板及连接螺钉等)。
四、模具保养的重要性及其意义
一副经过良好保养与维护的模具,可以缩短模具装配、调试时间,减少生产故障,使生产运行平稳,确保产品质量、减少废品损失,并降低企业的运营成本和固定资产投入,当下一个生产周期开始时,企业能够顺利生产出质量合格的产品。因此,对注塑制品加工来说,在当前市场竞争激烈的情况下,养护良好的模具,可以助企业一臂之力.
注塑模具作为注塑制品加工最重要的成型设备,其质量优劣直接关系到制品质量优劣。而且,由于模具在注塑加工生产成本中占据较大的比例,其使用寿命直接左右注塑制品成本。因此,提高注塑模具质量,并维护和保养好,延长其使用周期,是注塑制品加工企业降本增效的重要课题。
注塑制品加工由于产品品种多,模具更换较频繁,在完成一个生产周期后,模具一般入库保存直到下一生产周期来临时再拿出使用。如对模具保存不够重视,会使模具在保存期内发生锈蚀、表面光洁度下降等现象,造成产品质量下降、废品率高,有些模具甚至难以再用,需重新投入大量资金另置新模,造成极大浪费。
五、模具上模前保养作业图示

六、模具生产前模具点检作业图示
1.用慢速分阶段將模具打开, 查看模芯、行位定位珠、导柱、边锁、行位、斜边是否异常;模具是否漏水、分型面是否有料屑等

2.如发现型芯或型腔有油污,先用模具清洗剂喷在棉花上,然后用棉花对油污部位擦拭,再用气枪吹干
注意事項
镜面或电镀模严禁用布擦洗,必须用干凈棉花轻轻擦,晒纹模芯更是严禁用硬物刮洗.

3.把行位、导柱、顶针、复位杆擦干凈, 均匀的擦上黄油, (注:如需用热模生产必须用耐高温油脂).
4.模具连续开、合多次,观察模具是否异常(如有异常及时通知车间管理人员处理);如无异常则将模具合模(注意不能升高压),清理周边水渍,油污及工具。
七、模具生产中保养作业图示
在正常生产中,模具的分型面要保持干净,在生产中,上下模工要 每5---8小时擦拭模面一次;避免胶丝,异物压伤模面和保证产品排气顺畅。

机台在生产的模具,每12小时,操作员工须对自己的模具进行润滑,以保证模具的正常生产,避免活动部位咬死死,从而影响正常生产。
停机(不落模)时的模具保护:
主要避免模具生锈(主要考虑当模具太冻时,空气中的潮气会再在模具表面产生冷凝水,时间过长会导致模具钢材生锈):
短时停机(短时指停机5分钟~1小时)关闭冷却水,料温降低、关闭马达下班、短期放假停机,关闭水阀,吹干净模具内外,上下的残留水;然后再生产几模,使模具发热;再喷足量的蜡性防锈剂,停机时前后模具要处于合模状态,但不能使用高压锁模,前后模保持1-3厘米距离,然后关闭马达。
对于长时间停机或者要下模的模具,先在模具表面均匀的喷洒防锈剂,特别是筋骨位要喷到,避免模具生锈。
交接班/顶岗
主要在于分清责任,免交接班中若模具有人为损坏出现扯皮现象, 所以要进行以下对证检查工作:
1.对首模样品检查,产品有无飞边毛刺等异常;
2.模具上、下模有无模伤、 锈迹;是否有漏水、漏油等情况;模具开模、合模、顶出等动作是否有异响;若有缺陷要及时通知车间管理人员确认
3.接班后,必须检查模具的各活动部位的润滑状况,对于润滑不足的部位,要涂刷润滑油,避免损坏模具。
噴防銹油
必須分清兩种防銹油,應該在哪些時候使用:
A.短期防銹油,是在模具只是临时停用几天,不超過一星期;
B.長期防銹油,是在模具停用最少超過一星期以上。
打开模具,把模芯内处用洗模水清洗,将模芯和水口板,行位均匀喷上防锈油(注:喷防锈油前摇动罐身,距被喷物约20CM-30CM处喷射,保证每个角落都均匀喷到,不可太厚)
模具连续生产一个月以上时, 因运动部件磨损,润滑油变质,漏水腐蚀,胶料分解腐蚀,胶渍压伤等问题,需要拆下模进行模具保养.
模具保养内容包括:
A.除锈(外观,PL面,模腔,型芯,顶出,行位等)
B.重新加油(顶出机构,行位等)
C.更换磨损件(弹弓、拉机、螺栓、芯棒、压头等)
D.维修缺陷(披峰,顶白,拖伤等)
E.其它.
模具是注塑车间的关键生产工具,是企业的饭碗,具有专用性、精密性、易损性,所以作好模具的安全保护非常重要!