来源:金融虎网 作者:雄飞
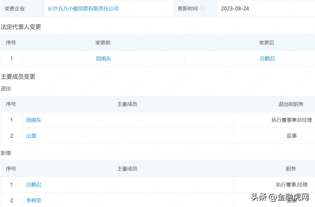
近日,58同城旗下小贷公司进行了重要的人事调整。工商信息显示,长沙五八小额*款贷**有限责任公司(简称:五八小贷)工商变更,法人、执行董事兼总经理均由周甫东变更为吕鹤召,监事由山盟变更为李树荣。此次变更意味着,五八小贷完成了自成立以来的第二次“换帅”。据了解,吕鹤召的公开身份是58数科旗下58小微金融业务负责人。

公开资料显示,五八小贷成立于2017年7月20日,8月9日正式开业,注册资本3亿元,由姚劲波名下的北京城市网邻信息技术有限公司全资控股。城市网邻同时参股了湖南长银五八消费金融股份有限公司,持股比例为33%,系第二大股东。2018年5月31日,五八小贷曾发生过一次高管变更,周甫东接替杨进出任法人、执行董事兼总经理的职务。去年8月10日,持股5%的潇湘资本集团股份有限公司退出股东行列。
五八小贷拥有面向全国经营*款贷**的资质牌照,其主要产品58好借系58同城旗下消费信贷品牌,系58数科目前最为重要的经营主体之一。58数科涉及业务包含汽车金融、消费信贷、互联网保险等多个领域。据官网介绍,58好借经营范围为通过网络平台面向全国办理自营*款贷**业务,在长沙市范围内发放小额*款贷**、提供财务咨询,以及经省政府金融办批准的其他业务。
58小贷公司设有总经理办公室、风控中心(分别设立贷前、贷中、贷后及征信部)、产品管理部、网络信贷部、技术研发部、财务部、合规监察部、综合管理部等11个部门。今年8月,湖南省地方金融监督管理局官网发布湖南省小额*款贷**公司2022年度分类监管评级结果公告显示,42家A类小贷公司中,五八小贷位列其中。根据评级办法,对评级结果为A类的小额*款贷**公司,市、县级监管部门可以适当减少现场检查的频度。
去年10月17日,58小贷母公司城市网邻仍身处债务纠纷引发业内关注,该公司新增的两条被执行人信息,累计被执行金额达1.23亿元。其中,城市网邻旗下被冻结的9567万元涉及湖南长银五八消费金融股份有限公司的股权已于2022年9月9日解冻。此前有分析认为,该解冻或与其参股的长银五八消费金融当时正计划发行ABS有关。

*款贷**利率上限”隐藏“ 收费是否充分告知用户存疑
业务层面,58好借APP中内设有58好借、58快借和车抵贷三类产品。其中,“58好借”是自营产品最高可借20万元,58快借为其推荐产品预估额度为19.8万元,两款产品的年化利率均为7.2%起。车抵贷最高可借100万元,年综合融资成本为10.88%-24%之间,实际以审批为准。值得一提的是,与去年11月时相比,58好借和58快借的最低利率均有所下降,当时这两款产品的年化利率最低10.8%起。
需要指出的是,金融虎网*载下**58好借APP发现,目前,58好借自营产品、58快借以及58好借官网首页均未明确展示出产品的*款贷**利率。在去年9月时,58好借APP自营产品还显示其年化利率为7.2%-24%,明确了最高利率,但如今则已隐去了当时24%的利率上限的展示。


2022年9月份时展示情况
央行早在〔2021〕第3号公告中明确要求所有*款贷**产品均应明示*款贷**年化利率的规定,所有从事*款贷**业务的机构,在网站、移动端应用程序、宣传海报等渠道进行营销时,应当以明显的方式向借款人展示年化利率。此外,银保监会消费者权益保护局也曾在《关于警惕过度借贷营销诱导的风险提示》中指出,诱导消费者办理*款贷**、信用卡分期等业务,侵害消费者知情权和自主选择权。具体表现为,价格公示不透明,不明示*款贷**或分期服务年化利率等。不少借款产品营销广告包含“最高可借20万”“快速到账”“最低年化利率xx起”“最长xx天免息”等推广语。
58好借产品“隐藏”最高年化利率展示的原因不得而知。但从表面来看,58好借的营销广告或涉嫌侵害消费者知情权。*款贷**利率不透明的背后,无疑更容易引发平台与用户之间的借贷纠纷。业内此前曾披露,部分58快借用户的*款贷**收费明细中,出现了服务费、权益费等额外收费。这使得用户的实际*款贷**利率上升并突破了30%,逼近36%。担保费、服务费等收费项也均推高了用户借贷的综合成本。
另一方面,消费者投诉信息显示,不少发起投诉的用户声称他们的实际借款年化利率都达到了30%以上。据金融虎网观察,黑猫平台显示,58同城旗下金融品牌58好借和58金融的累计投诉量已超过1.17万条。
其中,58好借累计投诉量为9591条,已完成9117条;近30天投诉量为294条,已完成仅58条。58金融累计投诉量2605条,已完成1799条;近30天投诉量为31条,已完成2条。除了*款贷**类平台普遍被用户投诉的催收问题,58金融有关“担保费、变相收费、违规收取解压费、服务费、手续费”等相关投诉频频出现。今年7月,有用户诉称:“车贷还完后,58金融告知邮寄绿本要支付500元服务费”。

关于收取咨询费、担保费等费用的原因。58金融方面曾在去年2月对媒体回应称,客户通过该公司平台向资金方借款,同时由平台合作的持牌融资担保公司为客户提供增信服务,向合作资方进行全流程风险兜底,提供连带担保责任,从而让客户可以顺利通过资方的*款贷**审批。所以合作融担公司会向客户收取融资担保服务费、咨询服务费。对于58快借收取咨询费、担保费等费用的原因及钱款去向,58金融方面则称,该公司的快借业务只是向合作机构导流,不会向客户收费,并表示:“相关费用不明之处可联系具体借款机构咨询。”
对于“相关收费是否充分告知用户”的问题,58金融方面当时回复称,关于费用的收取,在客户申请*款贷**确认好借款期限及金额后,系统界面会在客户还款计划表中向客户清楚的展示对应的每期费用明细;并且客户在确认借款时,也会设置让客户阅读融担合同的时间限制。担保合同上对所有涉及费用种类、费率的字眼均以显著字体加粗加黑。
若按上述回应,用户贷前知情,但却在*款贷**后投诉其“利率高、乱收费”要求免除额外费用,平台方实属”无辜“。但在并非个例的大量投诉质疑下,58金融及业务推销人员是否完全履行了”所有费用“的告知义务,恐怕要打上一个问号。
2021年4月时,有用户向地方监管投诉“长沙五八小额*款贷**有限责任公司违规*款贷**,虚假宣传”,主要因为平台当时宣传日息低至百分之0.02(年化利息就是百分之7.3),但签了*款贷**合同以后,发现实际还款年化利息高达21.5%。去年5月6日,地方监管在回复该投诉时指出:“经查,长沙五八小额*款贷**有限责任公司与你签订的*款贷**合同真实有效,利率合规,因当时国家未对*款贷**年化利率作明示要求,故不追究,现公司已按照要求明示年化利率。”。
金融虎网注意到,今年7月26日,一名用户在投诉中提到:”2023年7月26日在58好借借款7000元用来周转,翻看总待还金额的时候发现利息高达1443,我想提前还款免去太多利息,结果通知借款当天不允许提前还款,我要求允许我提前将7000元归还,拒绝多付担保费和服务费。“。针对该条投诉,58好借的回复内容多数为”隐藏“状态。同时,针对涉及收取”服务费“类的投诉,回复内容也大多为”隐藏“。


随着行业监管的不断完善,大型互联网平台涉金融业务的合规性也在不断升级。依托58系强大的流量场景,58金融的*款贷**类业务影响着众多的用户群体。58小贷在此番”换帅“之后,相关的用户投诉问题和潜藏的争议风险能否进一步改善,仍有待后续观察。
或曲线拿下“支付牌照”?58同城不予置评
去年11月,2022年卡塔尔世界杯的足球赛事吸引了万千瞩目,58同城在央视转播期间的全程广告投放也随着赚足了眼球。不过,58同城旗下的金融业务在宣传上显得颇为“低调”,通过自身场景优势自营放贷和助贷导流*管双**齐下,无疑也将推动58金融*款贷**业务借此热点在获客上受益。据开甲财经此前披露,赶集直招、招财猫直聘、安居客、快狗打车均为58数科引流,天鹅到家暂未上线金融业务,转转二手交易平台则上线了自营信贷产品发条借钱和发条分期。通过旗下多款APP引流,58数科或是58同城最赚钱的公司。
另一方面,58同城有可能进一步扩大其金融布局。今年8月10日,第三方支付机构圣亚云鼎支付有限公司(简称:圣亚支付)登记了两条股权出质信息,质权人均为58同城旗下公司。信息显示,圣亚支付3000万被其股东黑龙江金鼎通信科技集团有限公司出质,质权人为五八小贷。此外,另一则信息显示,圣亚支付750万股权被金鼎集团出质,质权人为天津五八数字信息服务有限公司。去年6月,圣亚支付的另一个股东亿利资源集团有限公司也曾将其持有的2250万股权质押给五八小贷。

今年7月公布的非银行支付机构《支付业务许可证》续展公示信息(2023年7月第六批)显示,圣亚支付因存在《中国人民银行行政许可实施办法》第二十四条规定的情形,被决定中止续展申请的审查。
此前,有分析认为,58同城或有意曲线拿下支付牌照,这张支付牌照最终能否被58同城拿下,仍有待考证。不过,58同城相关负责人近日对媒体回应称:“对该事件不予置评。”。
从业务新布局来看,今年2月,58数科联合多家金融机构推出“58小微贷”,率先接入了58同城旗下商家专用招聘工具招才猫直聘APP,拟为58同城业务生态上下游小微商家提供金融服务。58小微金融业务负责人吕鹤召当时表示,58数科将挖掘58集团内商户交易行为及需求信息,将大数据转换为普惠金融“源头活水”,联合合作金融机构为广大集团商户及时提供精准的*款贷**支持,有效助力稳大盘稳主体,让小微企业的创业和复苏之路有更多信心和底气。
今年5月,58数科发布保险业务新战略,推出了针对中小企业的保险平台“58保险伙伴计划”。58同城CEO姚劲波表示,58同城将充分发挥平台数字科技力量,联合广泛的生态合作伙伴,与保险行业实现“双向奔赴”,共同为广大奋斗者提供有温度的保险保障服务。
此外,与58数科业务密切相关的天津五八数字信息服务有限公司(原天津五八金服有限公司)今年以来发生较大调整,其经营信息中也去除了与金融相关的业务。今年1月7日,持股30%的湖南潇湘恒远咨询有限公司退出股东行列。2月2日,股东宁波软银稳定成长投资合伙企业(有限合伙)和共青城凯昌投资管理合伙企业(有限合伙)退出,新增上海澜正百醍企业管理有限公司、天津凯昌企业管理有限公司为股东,分别持股1.4620%和1.2713%。常利刚、庄建东、湛炜标和周浩等4名董事退出,新增梁铭枢和余训培为董事。

4月6日,天津五八数字信息服务有限公司再度工商变更,姚劲波卸任法人、董事长,由余训培接任。公开资料显示,余训培系58数科副总裁,他也是湖南长银五八消费金融股份有限公司的董事。
今年7月,58同城因一封内部信散发的盈利急迫,登上风口浪尖。CEO姚劲波在内部信中表示,要求砍掉年内不能实现盈利的业务。他在信中表示,年后58同城的业绩以及业务发展上不及预期。“不好的业务要收缩,该关停并转要关停并转。58 同城今年的目标是要实现12个业务基本上盈利,要“深挖洞、广积粮”。
姚劲波还在信中表示,至少要准备用三年的时间来过冬,而且要完成产业化升级,达到合格的水平,至少还需要三年。这三年里,做好充足的准备,抓紧时间继续修炼内功、做强业务,沉下心来去建设根本能力,完善团队,改变行业,完成产业化升级。