#2021生机大会# 【作者语】:距2022年虎年还有一个多月的时间,希望讨厌的新冠病毒在虎年的威慑下灰溜溜地尽快滚蛋,还我们地球人一片清静之地。

2022年愿望之一
转眼间在家休假已经3个月了,小日子平平淡淡,寒冷的冬季中时刻享受着家庭的温暖,感觉生活中收货最大的就是和儿子的感情加深了,尽管生活中的家庭琐事层出不穷,隔三差五和媳妇小打小闹是家常便饭,偶尔也会出现摔碟子砸碗的战斗氛围,烦恼异常......,家庭生活也许和热播的电视剧一样,没有矛盾和曲折起伏故事情节,收视率肯定不高,算不上一部好电视剧,生活也许亦如此!

2021亲子合影留念
国家的“双减”政策我觉得非常好,不仅可以减轻孩子的学习压力和减轻家庭的经济负担,也腾出更多家庭亲子教育的时间。家庭教育是社会教育中最重要的一个环节,我认为比学校教育还要重要,家庭教育对孩子唱“白黑脸”必不可少,不仅能充分开发孩子的智商,而且还能培养孩子的情商,我就是那个唱“白脸”的老好人,唱黑脸的“女庭长”非媳妇莫属,生气时最拿手的是少林七十二绝技之一“狮子吼”,清啸之下,犹如迅雷疾泻声闻数里,令“敌”肝胆俱裂,心惊胆战,震慑人心的不可思议,其威力足以我们爷俩都要躲起来面面相觑,半天不敢大声说话。

搞笑Gif插图
言归正传,最近比较懒,一直都在看历史题材的书籍,好久没有更新文章了,如标题内容接下来我们学习以下有用的科普知识吧,本文7800多字,可以收藏慢慢学习!专业同行可以直接看第三、四部分,必定对你工作有很大的帮助!
一、何为“T”即T/C=废气涡轮增压器

V型6缸发动机心脏
经常可以听到虚荣心极强的“女司机”夸耀自己的爱车发动机牛B,非常自豪地说,我家“豪车”发动机2.0排量带T的贼有劲,重点语气在于“T”感觉好像汽车一旦带“T”就像打了鸡血一样,浑身都是劲牛逼的一塌糊涂。

图片来源于网络
确实带T的发动机的功率确实比同排量非T的发动机功率大,为啥带T发动机就牛逼了很多,这个"T"到底是什么东东,对于不懂机械的小伙伴们来说,估计大部分不知道这个“神器”是什么,至于长什么样更没几个知道了,也许扔在在大街上就是废铜烂铁一个只有收废品的大爷“认识”它,今天我们就来抽丝剥茧彻底了解这个“T”。
所谓“T”英文名称为“ T urbo C harger”或者“Exhaust gas turbocharger”,其中文名称:废气涡轮增压器或 透平 (英文音译),车用"T"结构比较小巧,不是专业的人事估计打开发动机盖你也找不到在那个位置。如下图为车用发动机和那个"T":

车用发动机T
单独把“T”分离出来,这个神器全世界基本上都长一个样子,外观有点像“蜗牛”的外壳,所以才称呼这玩意为“涡轮增压器”,其外观见下图:

废气涡轮增压器外观
工作原理动如下,具体牛逼在哪里我会在在下文详细的介绍,认真读下去你不想懂都很难!

废气涡轮增压器工作原理图
二、废气涡轮增压器原理及作用
在此不得不感慨一下,我们的老祖宗在农业生产方面绝对是全球 “南波湾” ,但在科技领域太落后了,尤其是老外的工业革命以后,大清帝国迂腐的脑袋被老外摁在地板上不停地摩擦还不清醒,直到被揍的头破血流才有所觉悟,终于在1905年废除了科举制度,紧接着推广新学堂,向西方的先进科学文化知识学习,当时老外的脑子确实很牛逼,小小的瑞士小国科技牛人层出不穷,艾尔弗莱德·布奇(Alfred Biichi)就突发奇想在1905年提出了涡轮增压的构想,并对当时早期的柴油机定压增压及脉冲增压系统进行实验,1925年取得成功并获得专利,我作为使用者维修者对此不得不服!此时我们中国人在干什么,各派军阀正在如火如荼地在富饶的土地上掐架,相互打得头破血流,老子怕谁!生死看淡,不服就干!

搞笑插图
此后瑞士的布朗·保弗利(BrownBoveri)公司首先在 船用发动机 上采用了废气涡轮增压技术,此后技术相对成熟以后,又把增压技术扩大应用在航空活塞式发动机上面,当时汽车用的发动机涡轮增压技术一直没有应用,老外也是持之以恒摸爬滚打的研究实验,直到20世纪50年代后期,增压技术才广泛应用到车用柴油机上,并逐步推广到车用汽油机中。主要原因是车用发动机比较小,对涡轮增压器的要求较高,不仅要求效率高,流量范围宽,能满足车辆发动机变工况的要求,而且还要求结构简单,体积小,质量轻,价格便宜。
马儿不吃草,还想跑得快是不可能的, 发动机(内燃机) 也一样但是发动机的耐力 (最大功率) 受汽缸内能燃烧喷入燃料数量的限制,为了燃烧充分发出最大的马力其燃料数量又受每循环汽缸内能吸人空气量的限制。

拖拉机农田耕作
有农村生活经验的小伙伴都应该知道,秋收后为播撒小麦种子做准备,炎炎烈日下农田里邻居二大爷驾驶四轮拖拉机,拖着犁耙在田地里耕地,除了砰砰......,发动机的轰鸣声外就是面前耸立的烟囱不时浓烟滚滚,小时候我太特别喜欢追着拖拉机跑闻这个浓烟味,因为香气逼人 (后来学化学才知道是芳香烃的味道) ,二大爷为了加快耙地速度,顺便能回家吃个晚饭猛踩油门,但是拖拉机速度还是没有快多少,反而被滚滚浓烟熏的睁不开眼镜,香味肯定是闻够了!

为啥呢?正如前文刚说的,猛踩油门供油量是跟上去了,但是燃油燃烧三要素之一(自然吸气) 空气量 跟不上呀,燃烧不充分必然冒黑烟,此时拖拉机就像一个快攀爬到珠峰顶的小火子,身体素质是杠杠的,没有足量的氧气维持,体力是跟不上的,只能吸氧才能以精神焕发,所以此时拖拉机也是一样,虽然猛踩油门可以稍微提高耕作速度,但是费油啊,伤机器啊!此时没有增压器的拖拉机真是受苦了,一旦给他配备废气涡轮增压器,由于废气能的再利用,在每次踩油门发动机转速提高的同时,必然空气在进入汽缸前受到压缩,其密度增大提高了进气量,所以同样汽缸工作容积就可以容纳更多的新鲜充量,此时可以供给更多的燃料,得到更大的输出功率,此时发动机劲更大,还不会冒黑烟。
所以废气涡轮增压器结构、作用和原理:
废气涡轮增压器主要结构就是 废气涡轮 和 压气机叶轮 安装在同一根轴上,如下图:

船用废气涡轮增压器实物剖切图

废气涡轮增压器结构剖面图
工作原理通常可以这样解释: 因为自然吸气的发动机 (不带T的发动机) 在整个燃烧过程中释放的能量,大约会有1/3的能量进入了冷却系统和环境进行热交换,1/3的能量用来推动曲轴做工,而最后1/3则随废气排出,但排出的是 高温高压的废气 具有一定的能量,如果平白无故的排入大气中是非常浪费的,而废气涡轮增压器的动力来源主要就是这些废气 。

废气涡轮增压器工作原理动图

车用发动机废弃涡轮增压器原理示意图
当废气气流冲击 废气涡轮 时,涡轮高速旋转,同时带动 压气机叶轮 以相同的速度旋转,经空气滤清器滤清的洁净空气被吸入压气机室,压缩后压力升高, 通过管道进入增压空气冷却器冷却,而后进入气缸,从而提高了发动机的充气效率。

发动机废气涡轮增压器原理动图
没有机械常识的小伙伴应该得明白了吧,举例和生动的图片已经说得非常详细了!以下两部分就主要针对同行的专业人士了。
三、船用T/C我碰到的几种型号
俗话说,“麻雀虽小五脏俱全正”,废气涡轮增压器也是这个道理,尤其是车用柴汽油机的“T”结构非常小巧,但是其材料和制造工艺确实比船用的大家伙还要非常复杂,所以废气涡轮增压器在1905年被老外发明后,最开始应用在船用发动机和飞机发动机上面,50多年后在逐步扩大应用到车用发动机上面,对于现在来说几乎是我们家用轿车的标配了,科技无声无息在城市中方便了我们的生活,在野外中越野飙车中给我们带来愉悦刺激的快感,在商业的海陆运输中牵引笨重的铁家伙跑的更远、更快!
目前船用发电柴油机常用的废气涡轮增压器多为以下几种品牌:
(1)瑞士的ABB TURBOCHARGER SERIES: TPC49 , TPS48、TPS50 , TPS52等等系列型号,如下图为我工作过的瓦锡兰发电机配备的 TPS48废气涡轮增压器:

TPS48废弃涡轮增压器结构图

TPS48废气涡轮增压器检修
(2)瑞士巴顿BBC公司 VTR SERIES:
VTR250 ,VTR250/1 , VTR320 ,VTR320/1 , VTR400等等系列,如下图为我工作过的船舶大发发电柴油机配备 VTR250废气涡轮增压器:

VTR250废气涡轮增压器蜗壳

VTR250废气涡轮增压器转子
(3)德国MAN B&W SERIES:
TCA33 ,TCA44,NR20/S,NR24/S,NR29/S, NR34/S等等系列,如下图为我工作过的船舶MAN发电柴油机配备 NR29/S 废气涡轮增压器:

废气涡轮增压器解体
另外还有日本的MET / MITSUBISHI系列、IHI系列的废弃气涡轮增压器多为苏尔寿和曼恩等等船舶主机使用。
由于本人近几年碰到的多是MAN发电柴油机组,其多配备NR29/S型废气涡轮增压器,本人也多次参与解体大修保养,所以下文详细介绍该型号废气涡轮增压器的检修过程,希望对同行的小伙伴有所帮助,由于前半部分都是理论性的知识介绍简单易懂,针对大部分群体,下半部分内容专业性稍强,主要针对远洋船舶轮机管理人员学习,如果您感兴趣见识、学习一下还是很不错的!
四、详述曼恩发电机MAN L32&40配备的NR29/S检修程序
以下主要记录MAN L32&40配备的NR29/S检修程序,对于船上服务该型号发电机的轮机员非常有帮助,每次我参与检修该型号的透平,也是离不开这检修程序和说明书部件结构图,就像航天员或者飞行员每次执行任务一样,尽管在陆地上训练的很熟练,还是必须随身携带应急操作手册。归根结底还是安全第一,毕竟这种精密高速旋转的东西,万一漏装、螺栓上紧力矩不合适或者装错任何一个部件都可能会导致严重的机损事故。

MAN L32&40配备的NR29/S透平
曼恩NR29/S废气涡轮增压器解体步骤:
Ⅰ.(拆除)Removing The Connections of Turbocharger
(1).Removing Air intake casing空气滤清消音器 (1)

NR29/S废气涡轮增压器外观结构总图
将透平压气端水洗装置——Fitted tank(Cleaning of Compressor)橡胶管移除(有些老船可能早就拆扔一边去了),将固定座架螺丝松开并取出来,再将V-profile clamp(专用V型喉箍)松开拆除,并用葫芦及绑带提前固定并牵引住Air intake casing ,用扁口螺丝刀及榔头轻轻敲击Air intake casing (1) 和Attaching parts(2) 结合面或葫芦来回受力及松弛,或用手或用两脚踹开即可分离Air intake casing,用吊具将Air intake casing 从轴向方向移出来,并吊置于地板上。
操作步骤见下图:

空气滤清消音器的拆除
(2)Removing Attaching parts(2)
将Attaching parts(2) 底座固定螺丝螺丝松开并取出来,将V-profile clamp松开拆除,就可用吊具将Attaching Parts (2) 由轴向方向移出,并吊置于木板上。
操作步骤见下图:

Attaching parts(2)的拆除
(3).Removing Compressor Casing (3)

Speed transmitter转速传感器拆除接线
首先将Speed transmitter接线盒之接线拆除并最好标记,将Diffuser与压缩空气出口端螺丝拆除,并用破布把气道口封死防止异物进入气道腔室内,然后再将V-profile clamp松开拆除,就可用吊具将Compressor Casing 由轴向方向移出,并吊置于木板上。
操作步骤见下图(1):Removing Attaching parts(2)拆除后

Removing Attaching parts(2)拆除后
操作步骤见下图(2):Compressor Casing (3)

Compressor Casing (3)
Ⅱ.拆除Cartridge(转子总成)

拆除Cartridge
(1).将滑油润滑冷却油管拆除。
操作步骤见下图:

(2).拆除Two-part plate(隔热防*棉火**部分)。
操作步骤见下图:

拆除Two-part plate
(3).拆除Casing foot(支撑地脚)。
(4).拆除Hexagon nut sets。
操作步骤见下图:

拆除Hexagon nut sets
(5).用特殊工具将Cartridge顶出来。
这一步稍微有点麻烦,这个整个检修过程的难点,顺利的话半个小时就可以顶出啦,不顺利的话估计半天都搞不出来,按照我以往的经验拆这个玩意,没有几次是顺利的,都是废了九牛二虎之力才拔出来,还有甚者实在拔不出来的情况,只能装上不搞了!
首先咱们先把专用工具找出来,没有这个专用工具,神仙也搞不下来,说明书也标明得很清楚,如下图:

专用工具使用图解
实物图就是长这样(如下图)结构很简单,这玩意如果是原厂的螺杆硬度等级比较高,还能多使用几次,尽管这样但经常进行透平的保养检修,这工具还是很容易损坏,大部分船上都是船上按模样自己DIY多套,批量生产不值钱的东西供粗糙*力暴**使用,反正坏了也不心疼!

拆卸专用工具
将四组特殊工具平均置放于Gas-admission casing对称周围,再用开口板手平均将四个Hexagon nut慢慢往内锁,就可将Cartridge顶出来。期间可能会用到除锈水或者火烤等等辅助办法协助,直至彻底松动慢慢顶出来。
注意要移出Cartridge时要缓慢,避免伤到Turbine Rotor,可先用管子套上Under bolt来支撑Cartridge,再调整吊具,使其达到平衡状态后,再用吊具以及手拉将Cartridge慢慢从Gas-admission casing横向出来。
操作步骤见下图:

专用工具的使用和Cartridge的拆除
(6).用吊具将Cartridge移至工作间再做细部分解、清洁及组装。
操作步骤见下图:

Cartridge的拆除

Cartridge的拆除
Ⅲ.Compressor Wheel(分解转子总成:压气端)
转子总成压气端结构如下图:

(1). 拆卸前最好用马克笔做好标记,松开Undercut Bolt,并将Magnetic Shaft取出来。
操作步骤见下图:

Magnetic Shaft拆卸
(2). 将Carrier块取出来(可用2个螺丝将其顶出)。
操作步骤见下图:

Carrier块拆除
(3). 将Feather Keys(叶轮键)拆下来,小心注意别伤其表面。
操作步骤见下图:

Feather Keys(叶轮键)拆除
(4).沿轴向方向将Compressor Wheel抽出来,此时Compressor Wheel很难用手取出来的,必须用瓦斯枪用小火将Wheel 周围表面烤热,然后可以用手轻松的滑顺取出来。用火时要小心并且迅速,温度不可超出80℃以免伤及Aluminum材质的Compressor Wheel。
操作步骤见下图:

火烤Compressor Wheel拆除
Ⅳ.拆除Sealing Cover and Labyrinth Ring
压气端密封盖和迷宫环结构如下图:

Sealing Cover and Labyrinth Ring结构图
(1).将六角螺帽松开后并取出Lock washer pairs。
操作步骤见下图:

Lock washer pairs拆除
2 用三支M10六角螺丝,平均上紧可将Sealing Cover顶出。
操作步骤见下图:

Sealing Cover顶出
(3). 将Labyrinth Ring 由轴向方向取出。
操作步骤见下图:

Labyrinth Ring
(4). 检查Sealing Cover 和Labyrinth Ring迷宫迫紧,并量测Labyrinth Ring外径D值, 如果D值≦87.8mm表示磨耗程度太大,需给予换新。
操作步骤见下图:

检查Sealing Cover

Labyrinth Ring测量检查
Ⅵ.拆卸Locating Bearing(定位轴承)
压气端Locating Bearing结构如下图:

(1). 将六角丝松开后并取出Lock washer Pairs。
操作步骤见下图:

Lock washer Pairs拆除
(2). 用三支M8六角螺丝,置于Bearing Casing处,再平均上紧就可将Locating bearing顶出。
操作步骤见下图:

Locating bearing拆除

Locating bearing拆除
(3). 检查Locating bearing(参照WorkCard 500.60)
操作步骤见下图(1):检查Locating bearing

操作步骤见下图(2):测量Locating bearing

测量Locating bearing
操作步骤见下图(3):测量Locating bearing

测量Locating bearing
Ⅶ.Thrust Ring and Turbine Rotor
压气端推力环及转轴结构如下图:

Thrust Ring and Turbine Rotor结构图
(1) .将Distance Sleeve从轴向方向取出。
操作步骤见下图:

(2). 将Thrust Ring 从轴向方向取出。
操作步骤见下图

(3).将Turbine Rotor从另一边取出来。
操作步骤见下图:

要点:如果Distance Sleeve 和 Thrust Ring或是两者其中之一卡住,或是不好拆,可以使用木槌将Turbine Rotor从另一方向给敲出来(敲时需小心注意,锤子对正轴中心点后,再示情况依大小力来敲),这样Distance Sleeve和Thrust Ring就可以顺利拆下来。
(4).检查Distance Sleeve, Thrust Ring和Turbine Rotor及测量相关数据。

Ⅷ.拆卸涡轮端Covering Disk and Sealing Cover
涡轮端密封盖相关结构如下图:

Covering Disk and Sealing Cover结构图
(1). 先将四个螺帽戴上Studs(以保护螺牙),再使用木槌平均敲击戴上螺帽的Studs,就可将Covering Disk从轴向方向取出。
操作步骤见下图(1):

Covering Disk拆卸
操作步骤见下图(2):

(2). 用三支M10六角螺丝,平均上紧,将Sealing Cover顶出来。
操作步骤见下图:


Covering Disk
(3). 取出Seal(517.031)。
操作图示如下:

(4). 检查Sealing Cover的迷宫迫紧状况。
Ⅸ.拆卸Bearing Bushes
涡轮端轴承布司相关结构如下图:

Bearing Bushes结构图
(1). 将四个内六角螺丝(517.051)松开,并取出washer pairs。
操作图示如下:

(2). 将Cover取出来。
(3). 将Bearing Bush取出来。

(4). 检查Bearing Bush,参照Work Card 500.06。
Bearing Bush尺寸标准如下:

Bearing Bush尺寸标准
测量数据如下图:

Bearing Bush测量
(5). 检查Bearing Sleeve,量测D1,D2值。当D1≧65.03mm D2≧65.03mm将Bearing Sleeve换新.

检查Bearing Sleeve
Ⅹ.拆卸Turbine Nozzle Ring
废气端 Turbine Nozzle Ring结构如下图:

(1). 如果Nozzle Ring需要换新且黏粘的比较牢靠,必须用如下方法拆除,用乙炔切焊器,调置适当火焰,将Nozzle Ring表面周围烤热,使碳渣熔化,以利拆解。
操作图片如下:

Nozzle Ring拆卸
(2). 用轴承拆卸器,将Nozzle Ring拔出来。
操作图片如下:

Nozzle Ring拆卸
(3). 检查Turbine Nozzle Ring。

检查Turbine Nozzle Ring
當Lm≧14mm,或者发现裂纹、吹蚀的比较严重,需要將Turbine Nozzle Ring換掉。

检查Turbine Nozzle Ring

Turbine Nozzle Ring数据测量标准
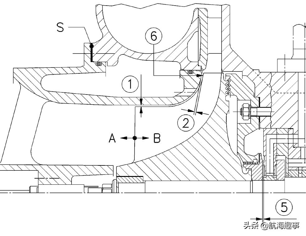
ⅩⅠ.Gaps and Clearances检查测量
废气涡轮增压机是高温下高速运转的精密机械,为了保持正常运转,必须严格控管运动件与固定件之间的配合间隙。间隙太小将引起摩擦碰撞,如叶片与壳体、密封装置与壳体相碰,间隙过大,则漏气损失增大,使得增压机降低其效率。所以每次解体检修后尽可能测量相关数据,方便和说明书对比。
下图为废气涡轮增压器相关测量点及标准数据范围:

(1). 鼓风机端导风轮与壳体的径向配合间隙:使用厚薄规量测其周围四个点,求出其值。

(2). 鼓风机叶轮前面与壳体之间的轴向间隙:将Rotor往B侧方向推到底后,使用Lead wire量测其周围三点,并将此三个值,减掉轴向间隙值⑤,经计算过后就可得到②值。可调整Balance Ring之厚度,使②值符合其规定。

测量示意图
(3). 涡轮叶片与喷嘴外环之间的径向间隙:使用厚薄规量测其周围四个点,求出其值。

测量示意图
(4). 涡轮叶片与喷嘴与喷嘴叶片之间的轴向间隙:将Rotor往B侧方向推到底后,使用Lead wire量测其周围三点,并将此三个值,减掉轴向间隙值⑤,经计算过后就可得到④值。
(5). 鼓风机叶轮背面与气封板之间的轴向间隙:用分厘卡量测Locating Bearing外径得到B值,用光标卡尺量测Distance Sleeve轴向距离求得 K5值,再将K5值减掉B值后得到⑤值。

测量示意图

相关数据测量示意图
(6). 鼓风机叶轮前面与壳体之间的间隙:由于安装时,各部间隙测量不易,故特别重视可以量测的①②⑤值,。当各间隙值符合说明书要求时,则表明对中性良好,否则应查明原因,经过调整后再做测量,使其符合规定要求。
曼恩NR29/S 装复注意事项:
该型号透平各部分零件在拆卸及测量、清洁保养后,其部件数量相对还是比较多的,装复时必须参数说明书零件细节图及拆卸时标注的马克最好原样装复,切勿不能漏装或者顺序装错。
下图为两段轴承端相关零部件:

下图为该型号废气涡轮增压器结构全部,两端细节图需要参考说明书,装复时最好把图纸打印出来方便对照查找:

当然装复的过程基本就是拆卸过程的逆顺序,这里不再啰嗦详细介绍,仅仅说明几处要点,足以保证安全正确的装复。
(1).Bearing Bushes盖子在安装时Cylindrical Screws(517.051),锁紧之磅数为6-[Nm]。


上紧Cylindrical Screws(517.051)
(2).在组装Covering Disk and Sealing Cover 组件时,装Seal纸板床(517.031)时要注意有没有对好,并将所有孔洞(密封空气和滑油)确清洁干净后,再依序将Sealing Cover,Covering Disk装上。


Covering Disk装复
(3).在安装Turbine Rotor时,需要Turbine Shaft表面涂上Molykote后,再将Thrust
Ring以及Distance Sleeve依序组装上去【记得Balancing Mark(“W”)要对齐】。


Turbine Rotor相关部件装复
(4).安装Locating Bearing时,其Cylindrical Screws(517.006),锁紧之磅数为25-[Nm]。


上紧Cylindrical Screws(517.006)
(5).安装步骤与拆除步骤相反,安装时记得要将Turbine Rotor和Labyrinth Ring之Balancing Mark对齐,再依序组装,此六角螺帽(517.032)上紧之磅数为34-[Nm]。


六角螺帽(517.032)上紧之磅数为34-[Nm]
(6)压气机涡轮的安装,这一步比较重要,需要严格按照说明书要求装复,相关步骤如下:

压气机叶轮端结构及安装力矩图
(6-1) 在Rotor Shaft表面涂上Molykote,装上FeatherKeys。
(6-2) 将Compressor Wheel推入至Labyrinth Ring(Wheel 表面可先用小火烤,使 Compressor Wheel能很滑顺的装入)。

安装压气机叶轮火烤
(6-3) 将Carrier装上(注意Compressor Wheel, Carrier,和Turbine Rotor都有Balancing mark W,在安装时要将此W对在一致)。

马克W对其位置
(6-4) 将Undercut Bolt 装上(先在螺牙表面涂上Molykote)并依照说明书上规定磅数来上紧,此分为三个步骤。
第一步:先将Bolt上紧至180-Nm,再将其松开。
如下图:

压气机叶轮安装
第二步:在Bolt螺帽上做记号再将Bolt上紧至60-Nm。
如下图:

压气机叶轮安装
第三步:检查Undercut Bolt有无转到60度也就是1/6圈,没有的话,再将Undercut Bolt上紧至60度。
如下图:

压气机叶轮安装
(7). 安装各个部分锁紧片需要特别注意,由于Lock washer pairs 都有一定的装配位置,在安装Lock washer pairs时,要特别注意其方向位置。
相关正确安装图片如下:

Lock washer pairs安装示意图
【结束语】:以上就是MAN 发电机NR29/S废气涡轮增压器检修的全部过程,我想说的是本文对于轮机员非常有用!非常有用!非常有用!
写文章确实比较累,怪不得头条上业内相关文章确实不多,即使有也是质量很一般,实际应用中参考的意义不是很大,至少目前我还没有在上面发现让我值得收藏的意义的文章不多,还是那句话心态太浮躁,批量生产绝对无法产生让大伙共鸣的文章!
我就要做一个与众不同的黄老轨,用心做笔记和大家分享我的科普技术类文章,做最好的轮机业务实用性精品文章!