
耳机也许是上下班路上最常见的物件之一。时代日新月异,电子设备的快速发展也提升了人们对品质的追求,如今人们对耳机的音质、品牌都有所提升。
近年来各家手机厂商及互联网企业也不断推出自有耳机产品,电子消费展上也都有耳机的身影。广阔的市场前景,让小小耳机成为音乐器件、手机厂商们的重点关注地。
除了品牌,你还可以怎样认识耳机
1937年的8月18日,Eugen Beyer发明了一种微型动圈换能器,并把它镶嵌到一根可戴在头上的带子内, 诞生了世界上第一只耳机Beyerdynamic DT48。
从最早应用于军事情报的耳机,到热衷于walkman的随声听耳机,再到由消耗品转换为消费品的MP3,耳机大势兴起。

根据驱动器的类型,耳机可分为动圈式、动铁式、等磁式等。动铁式耳机是通过一个结构精密的连接棒传导到一个微型振膜的中心点,从而产生振动并发声的耳机。动铁耳机的设计复杂,成本较高,售价方面也比较昂贵。
对于世界顶级的耳机,例如森海塞尔的奥菲斯耳机 ,作为耳机中的传奇,它采用静电发音单元,但是该发音单元的技术只被少数厂商所掌握,市面上的静电耳机售价都在万元之上。

森海塞尔奥菲斯耳机系统,市价可达20万元
互联网介入,带来行业格局的变化起势
在全球耳机市场中,中高端产品基本是由德国、美国、日本的品牌把守,如AKG、森海塞尔、铁三角、索尼、Beats等。
在我国,早在上世纪90年代,珠三角就涌现多家耳机企业的代工厂,形成了产业链。但不论是国产品牌的耳机,还是代工厂生产的耳机,都利润微薄。例如,2014年,全球耳机销售额达到66亿美元左右,耳机品牌商毛利率超50%,而中国的OEM厂商则不足10% 。
这样的格局多年未变,但是最近随着国内手机厂商、互联网公司的大势介入,变化趋势明显。以动铁耳机市场为例,动铁耳机总是给人价格不菲的印象,专业度高,动辄上千、上万的价格,而随着非传统耳机厂家的加入,出现诸多高性价比的中高端耳机,价格从原先的几千元降至接近千元,例如Vsonic 代工研发的锤子耳机,小米圈铁耳机,魅族头戴式旗舰耳机,歌尔耳机等等,国内厂商也逐渐占领部分市场份额。

随着人们对耳机品质要求的提高,动铁的市场前景也是巨大的。2013年全球共销售入耳式耳机约7亿副,而动铁耳机约占1%,且基本都为高端耳机,动辄上千、上万元,就算是目前大势涌入的中高端耳机,相对价位低一些,若以每个动铁单元50元计算,仍利润可观。
动铁从最初的发展至今已有十几年的历史,但生产厂商仍较少,看来面对新的市场契机,*途征**也是阻碍重重。
重重门槛
动铁单元的技术门槛较高,研发需要较成熟的科研技术,音频调试要求高,除了这些原因之外,作为知识产权相关的从业人员,对知识产权部分也是额外关注,是否知识产权保护也是原因之一?
在动铁相关领域中,楼氏及声扬两家公司一直占据着主要市场份额,在专利申请中,主要的申请人也还是集中在这两家。
相比而言,国内的申请量虽也不少,但主要集中在实用新型,发明较少,且基本都是最近几年申请的。例如江苏恒听、常州阿木奇、东莞泉声等申请量排名虽靠前,但申请的专利基本从2005年开始,国外起步早的在1960年前后已开始申请相关的动铁专利。
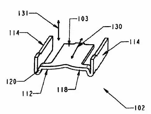
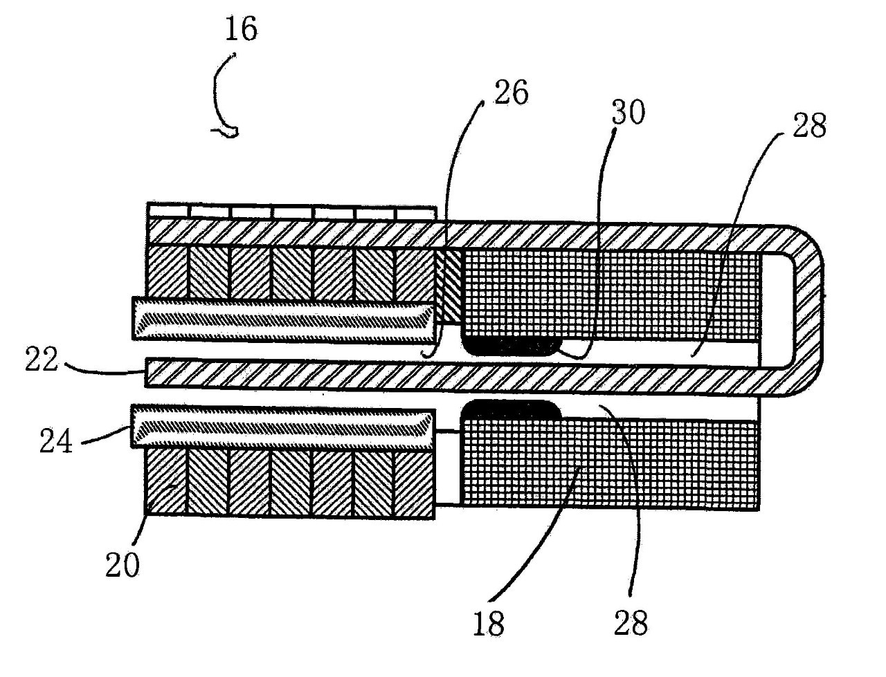
且几大厂商对一些未来发展路径上的技术,都有相应的保护,例如楼氏的防摔技术、改良式电枢等,如下图所示,都是改进目前动铁单元的主要方向,对于其他厂家都是大大小小的障碍。

对应于专利的保护,相应的诉讼案件发生较多,近几年更为突出。例如楼氏电子与歌尔声学专利侵权诉讼案件,即是国内后起的高新企业与传统大厂商的对抗。
综上,反映出动铁领域的技术门槛是目前市面上仅有少数企业存在的重要原因之一。
借助专利,突出重围
对应逐渐追求高质量体验的用户,动铁耳机有其优良的性能优势。对于动铁的发展,大势涌入的新兴企业也从侧面印证了这一趋势。
而作为动铁领域的门槛,除了有技术上的突破外,对于起步较早的具有成熟技术及较完善知识产权保护的大厂商,他们的专利布局保护也是国内大部分企业需要考虑的门槛之一。
但是,另一方面,楼氏作为目前动铁单元市场上最大份额的企业,在互联网新兴企业等夹击下,与歌尔的专利纠纷以和解告终,也印证; 格局的变化趋势起到的市场催化作用。一方面可能的原因是,楼氏与歌尔进行深度合作有稳求发展之意;另一方面,楼氏也不愿冒着诉讼后专利可能被无效的风险。
综上,这小小耳机背后的丰厚回报就在不远处,但门槛却也不低,知识产权布局也应该是关注点之一。但值得一提的是,目前行业格局改变的趋势已明显,将会对市场进行新的刺激。在未来,动铁、圈铁领域将会出现更多的新面孔,多方面的深度合作也会逐渐增多,相信这是这是主要趋势之一。
注:封面、文中图片均来源于网络