厂长的话
自2015年开始就风波不断的宝塔石化,终究还是坍塌了。根据上市公司宝塔实业的公告,宝塔集团的实控人孙氏父子,已经被采取了强制措施。而这背后,是宝塔集团高达175亿的票据无法兑付。厂长还记得,2015年的时候,宝塔就传出有资金危机的消息,一款由华鑫信托发行的产品延期。不过后来宝塔填上了窟窿,还差点抱上了中植系的大腿。靠着票据融资,宝塔集团硬拖了三年,终究还是酿成了一个更大的灾祸。

首富变首负
早在今年5月,宝塔财务公司就出现了票据逾期风险。7月11日,公司公告称是因为工作失误,没有安排好,还给出了兑付方案:
1、10万内的承兑汇票,1周内兑付完
2、10-50万的承兑汇票20号前兑付
3、其他承兑汇票8.20日前兑付
但是宝塔财务并没能实现承诺。如今,宝塔集团的实控人,曾经的宁夏首富孙珩超,陷入了人生最绝望的时刻。
11月16日宝塔集团旗下上市公司宝塔实业发布公告表示,公司实际控制人孙珩超涉嫌刑事犯罪。
11月19日,宝塔财务公司官网公告,宝塔集团董事局主席孙珩超、宝塔财务公司董事长孙培华等人因涉嫌刑事犯罪被公安机关采取强制措施。

11月26日,宁夏回族自治区人民政府进驻宝塔集团工作组发布第一次公告,为依法稳妥解决宝塔财务公司到期票据相关问题,将对逾期票据开展登记工作。公告还称,宝塔财务公司有关票据活动涉嫌违法犯罪,公安机关正在调查取证。
孙珩超曾于2014年和2016年两夺“宁夏首富”称号,根据今年的榜单,身家达到155亿元。孙培华则是孙珩超儿子,妥妥的富二代。

然而,现在大家才发现,这些都是纸糊的。据财新网报道,宝塔集团旗下宝塔集团财务公司目前未兑付的票据达到175亿元。也有债权人称,"到期应该无条件支付的汇票大约50亿元。"
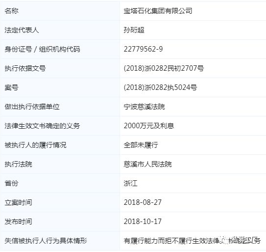
而宝塔集团已被列入"老赖"名单中。

早在今年8月3日,银川市中级人民法院就已对宝塔集团所持有的甘肃银行股份进行了司法冻结,并且将于2018年12月27日10时至2018年12月30日10时对宝塔集团持有的甘肃银行10054.1667万股份进行拍卖,起拍价约为2.22亿元。

曾经的500强企业
根据天眼查的信息,宝塔的大股东是孙珩超,持有43.79%的股份。二股东是宁夏泰瑞智本投资管理有限公司,持有32.1%的股份。

孙珩超本是兰州大学的一名教师,1992年,他离开象牙塔,创办了甘肃省商务代理公司。1997年,孙珩超收购了一家濒临倒闭的小型炼油厂,逐步把它打造为西北最大的民营炼化企业。
在2018中国企业500强排行榜上,宝塔集团以524.78亿元的营业收入位列第306位。手握保险经纪、小额*款贷**、商业保理、融资租赁、银行、基金销售等多个金融牌照。
财报显示,今年1~9月,宝塔集团实现营业收入331.69亿元,净利润为48.39亿元。而截至2018年9月底,宝塔集团总资产为668.50亿元,总负债为340.56亿元。

宝塔集团的这340多亿负债里,有将近260亿的流动负债,主要是应付票据和短期借款。债主包括了10多家金融机构,以银行、信托为主,包括农业银行、交通银行、包商银行、重庆银行、甘肃银行、*藏西**信托等。
资本游戏玩砸了
这几年,资金链紧张一直是宝塔集团挥之不去的阴影。2015至2017年,集团流动负债分别高于同期账面资金1.23倍、2.19倍、66%左右。
厂长梳理后发现,从2014年开始,宝塔集团就不断出现兑付危机。涉及的产品包括新华信托发行的“华惠119号·珠海宝塔流动资金*款贷**集合资金信托计划”、全唐投资发行的“金瑞福泰—宁夏宝塔”项目、万家共赢发行的“万家共赢—宝塔石化集团流动资金*款贷**一、二期”、华鑫信托发行的的“融鑫源4号”、上海华富利得发行的“华富资管-宝塔石化”等等。
这些产品规模在2亿到3亿不等,很多产品至今仍未实现足额兑付。厂长还注意到,有些产品是把票据作为融资来源之一。

当时,该公司在宁夏、珠海和*疆新**三地共计有10个在建项目,总投资高达166.93亿元,其中*疆新**一地的500万吨/年重油制烯烃芳烃项目及配套工程就占了103亿元。
有意思的是,宝塔集团一边想尽办法融资,一边却在资本市场买买买。
2014年1月、2015年3月,宝塔石化及其控股子公司南方宝塔,曾试图参与李河君的汉能薄膜发电定增。第一次钱不够没成,第二次,宝塔按每股5.38港元的价格,掏了近60亿港元。
同时,宝塔旗下的宝塔实业开始了资产重组之路,交易对手正是资本市场赫赫有名的“中植系”。宝塔实业公布的重组方案为:公司拟收购江苏润兴融资租赁有限公司75%股权,宝塔石化拟认购部分配套融资用以支付本次收购的现金对价。
江苏润兴的股东香港兴世投资和北京世通达世,都属于中植系。后者是上海首拓投资管理有限公司的全资子公司,上海首拓的股东为两名自然人,其中一人便是解植锟。
解直锟方面对润兴租赁的业绩承诺为,2015年~2017年承诺业绩分别不低于2亿元、3亿元、4亿元。交易若完成,解直锟将间接持有宝塔实业19%股权,成为其第二大股东。宝塔集团也将获得一个强大的外援。
不过,2016年6月,宝塔实业披露,拟终止收购江苏润兴融资租赁有限公司75%股权。相应的,宝塔实业8.95亿元的配套资金募集亦随之终止。原因是“无法就现金对价支付细节达成一致”。
值得注意的是,交易终止前的2016年4月,宝塔财务公司成立。孙珩超曾称,财务公司的组建,将大大缓解集团的短期资金缺口。
然后我们就看到,2016年、2017年底,宝塔集团应付票据余额分别为72亿元、146亿元,一年间猛增了74亿元,增幅超过1倍。而2018年三季度末,应付票据余额也比上年底增加近13%。同时,宝塔集团的银行*款贷**却出现断崖式下降。
如今,被寄予厚望的财务公司却成为了一个导火线。融资手段的创新,并没有真正解决宝塔集团的资金链紧张的问题。只是把风险给“滚雪球”了。
除了财务公司,宝塔集团还涉猎银行、保险、小贷、私募基金等各类金融业务。仅入股的银行就达到5家,其中包括甘肃银行、宁夏银行、锦州银行等多家城商行。
宝塔财务公司网站文章中称,宝塔集团曾五年规划实现金融对集团的利润占到35%~40%的目标。
理想很丰满,现实却是满盘皆输。