三相鼠笼式异步电动机实验

一,实验目的
1,了解三相鼠笼式异步电动机结构和铭牌数据的意义
2,学会测定三相鼠笼式异步电动机绝缘电阻的方法
3,判断三相鼠笼罩异步电动机定子三相绕组的首尾端
4,掌握三相鼠笼式异步电动机直接起动和改变转相的方法
二,实验原理
1,在使用三相鼠笼式异步电动机式,不仅要注意电动机的额定电压是否和电源相符,还要注意电动机定子三相绕组的连接方法。有关电动机的额定电压和连接方法都标注在电动机铭牌上。
电动机的连接方法有,星形和三角形两种

2,对放置很久重新投入运行的电动机和新电动机通电运行之前,应该用兆殴表测量电动机绝缘电阻,在一般情况下,不论电动机绕组与绕组间,还是绕组与电动机外壳之间,只要它们之间的绝缘电阻大于0.5兆殴,则可以认为这个电动机可以安全使用。
3,兆殴表的使用方法与检查

a,检查兆殴表外观完好无损,无划痕,无摔伤
b,兆殴表做开路短路实验
两人操作,开路实验
一人摇动兆殴表手柄,每分钟120转,表笔打开,指针显示无穷大
短路实验
一人摇动手柄,以每分钟120转,一人将两表笔搭接,瞬间断开,指针显示读数为0
以上实验说明兆殴表是好的
4,电动机定子三相绕组首尾端的判断
定子三相绕组首尾端一般都有标志,如果标志不清楚,则需要测量来分清各相绕组的首端和尾端。
a,用万用欧姆档先确定电动机那两个绕组头是同一相绕组
b,三相绕组中任选一个头连接在一起,再把剩余余三个头连接在一起,然后将万用表的毫安档连在节点之间,用手转动电动机转子,(1),若表针不摆动,表示测量两端两个节点分别为各相绕组的首端和尾端。
看下图

(2),如果表针摆动,表明节点中有首尾端混在一起,此时,我们可将任意相绕组的两个头对调,再测一次。若表笔仍摆动,再将另外一相绕组的两个头对调,再测。若表笔还摆动则两第一次对调的两个绕组头对调回来,就可以。(一直到表针不摆动为止)
看下图

三,摇测电动机电动机相间绝缘和相对地绝缘和铭牌数据解读
1,用兆殴表检测电动机各相绕组之间和绕组机壳之间的绝缘电阻
经检查兆殴表完好无损可以使用
A,各相绕组间的绝缘电阻为
A—B,相间绝缘电组是200欧姆。B—C,相间绝缘电阻是180欧姆,C—A,相间绝缘电阻是190欧姆。相间绝缘电阻值合格可以使用。
B,绕组与机壳间的绝缘电阻
A—地,绝缘电阻是150欧姆,B—地,绝缘电阻值是155欧姆,C—地,绝缘电阻值是160欧姆,电动机绕组与机壳间的绝缘电阻值合格。
2,观察并记录电动机的铭牌数据,明确在额定电压下定子三相绕组的接线方法。

电动机型号解读
LA,为名称简称
TYPE,T代表同步电动机,Y代表异步电动机,PE代表接地
Y355L2—4,Y代表三相异步电动机
355代表机座中心高度是355'm
L代表长机座,L2,代表L,型铁芯中的第二种规格
4代表磁极对数,为4极电动机,2对磁极
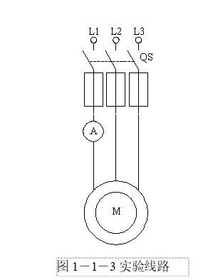
四,电动机直接起动和反转

1,根据电动机铭牌上要求的接法,将电动机进行连接后,接入三相电源,看上图
2,经万用表检查接线是否有有短路现象,检查没有问题后,合上电源开关,观察电动机转向,经检查为电动机正转
3,切断电源,将电动机的任意两根线对调,然后,合上电源开关,观察电动机转动方向,与正转方向相反。
五,注意事项
1,在使用兆殴表测量电动机的绝缘电阻时,应边遥边读数,不能在电动机停转后再读数。测量过程中,切勿用手触摸电动机和兆殴表的测量导线,也不能让两根测量线发生短路。
2,接通电源后,如果电动机不转,应立即切断电源,查明原因后,再继续实验。
3,通电操作时,要防止电动机轴缠绕导线,禁止用手触摸电动机转动部分,注意人身安全。
关注,转发,评论,点赞,私信获取电工资料,电工基础课程,高低压成套技术公开课 #电工交流圈# #电工基础# #电气知识圈# #工控分享# #通用电气# #高压设备# #电气识图#