出自蜂鸟网-器材频道,原文链接:https://m.fengniao.com/document/5360623.html
在目前的佳能RF系统中,已经有了三支F1.2的大光圈定焦镜头,分别为RF50mm f/1.2L与RF85mm f/1.2L和RF85mm f/1.2L DS。而近日根据外媒曝光,佳能再度提交了两支同为该焦段的F1.2镜头的新专利。值得一提的是,其中85mm f/1.2镜头的专利中显示其并未来用佳能的BR镜片。下文我们来看看佳能这几只新镜头的专利。
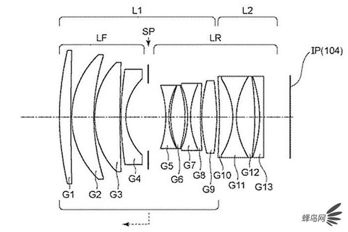
·RF 85mm f/1.2

佳能RF85mm f/1.2专利图
焦距:83.20mm
光圈值:1.24
半视角:14.58
图像高度:21.64mm
镜头长度:121.31mm
·RF 50mm f/1.2:
焦距:51.10mm
光圈值:1.25
半视角:22.95
图像高度:21.64mm
镜头长度:111.01mm
值得注意的是,这两支镜头在长度上都略比现款镜头略长一些,而除了这两支镜头外,外媒同期还曝光了佳能两支变焦镜头的专利。
·RF 24-150mm f/4

佳能RF24-150mm f/4专利图
焦距:24.70-58.34-145.80mm
光圈:4.12-4.12-4.12
半视角:38.43-20.35-8.44
镜头长度:116.35-134.13-162.90mm
·RF 13-21mm f/2.8

佳能RF13-21mm f/2.8专利图
焦距:13.40 17.30 21.20mm
光圈:2.88-2.88-2.88
半视角:58.23-51.35-45.58
图像高度:21.64-21.64-21.64 m
镜头长度:150.15-136.89-130.04 mm
·编辑观点
这几个镜头专利都各有特点,但佳能为何会再度带来全新的50mm和85mmf/1.2镜头,这让人有些匪夷所思,难道是仅仅为了带来全新的镀膜升级?而RF13-21mm f/2.8镜头从数据上则更为令人咋舌,或许将引领未来“大三元”镜头的广度。不过,值得好奇的是这些镜头会最终转化为实物吗?让我们期待吧。
欢迎关注 蜂鸟网微信公众号:fengniaoweixin