电动车用久了慢慢的小毛病会越来越多,隔三差五就得往修理店跑,而且价格还不便宜,下面教大家一些技巧,能减小电动车故障的发生率,面对一些电动车常见的故障问题也能自己轻松解决!

电动车零部件多,维修从本质上说是零件的维修与更换,所以下面从关键的零部件阐述可能出现的故障。
1、电动车车架检测
车架可谓是一部车子的安全核心,如发现整车骑行时总往一边歪,可能是车辆整体有倾斜;如果整车有较严重的内凹,可能是过负载并在路况较差的地方骑行,导致整车有变形,发生变形的可能之处是前立管与前三角焊接处有裂纹或鞍管平叉与车架的结合部有裂纹。如有嗒嗒的金属敲击声,可能是某些接片的强度或焊接问题。
2、电动车后平叉检测维修

当我们在骑行的时候出现后轮摆动,刹车时严重摆尾,高速骑行时车辆摇晃,脚蹬用力时掉链等情况时,那就是后平叉螺丝松动。出现上述问题时需要拧紧螺母后退回半圈,这样反而不容易出现松动的情况了。
3、电动车前叉问题检测维修
前叉比较容易受损,一般的碰撞及强大的俯冲都会使前叉弹簧受损,损伤会直接导致前轮泥板与前三角相碰或前轮与塑件相碰,电动车就会转不过弯。那么这个问题如何解决?很简单,只需用较大的力压前叉看间隙决定是否换前叉,或者增大间隙。
4、把手与立管问题维修
长时间使用会使把手和立管生锈,此时不能强拧螺丝,应该先用松绣水处理一段时间,再用铁榔头小心敲打前立管外部,在拧螺丝时最好用梅花扳手或套筒扳手,一般不用呆板手或活络扳手。
5、电动车线缆问题检测

线缆损害一般很少,但是一旦碰到就会变得很难解决,因为原因很难找到。那么在维修时,可以先根据控制器或显示器的功能查找可能发生问题的区域,再按对应颜色查找线缆的连接,找出问题线缆。
6、电动车控制器检测维修
控制器的损坏一般比较常见,表现为电机不转、转动噪声大、时转时不转、时正转时反转、控制器温升快、电机无力等,对控制器而言,电机不转可能是刹把断电信号的干扰或单片机复位有问题,转动噪声大可能是CMOS管的续流有问题或相位搞错,时转时不转可能是控制器供电电源的接触不良,时正转时反转可能是控制器内控制正反转的引脚有虚焊,控制器温升快可能是控制器本身消耗的电流增加,一般消耗电流在30-40mA,或者是CMOS管工作有问题;电机无力可能是检测过流的康铜丝焊接不良,导致无法通过大电流所致。
7、电动车电机性能检测及维修

我们在判断电机的性能时主要有如下几个指标:
(1)电机噪声。噪声每个电机均有,但不能有金属等碰撞、弹珠挤压、摩擦的噪声,允许有均匀电磁噪声,这些噪声可以通过空心的金属听棒在电机轴上监听。
(2)电机空载电流。检测电机的空载电流主要反映电机的退磁,机械的磨损损耗,如果电流加大,电机空载转速提高,一般情况下说明退磁现象较明显。
(3)电机负载电流。检测电机的负载电流主要反映电机的实际运行效率,如果负载电流加大,但实际力矩较小,说明电机效率很低,有必要检查磁钢的磁能积,另外线圈内部的焊接牢固也要引起重视;如果为有刷电机,需要检验换向器是否有短路的现象。 无刷电机霍尔常用开关型,在线检测时主要检验霍尔信号的变化是否正确,一般为高低电压轮流变化,变化次数为磁钢数目的一半。如果仔细查看各线电压的变化,可以发现它是有规律的6次重复循环,对于120度的电机变化应是100、110、010、011、001、101,对于60度的电机变化应是100、110、111、011、001、000。
另外,在修理无刷电机的霍尔时需注意霍尔的型号,在焊接时必须戴防静电的手套或护腕,电烙铁最好离线焊,并注意霍尔的正反面。
在修理有刷电机装碳刷时,先把碳刷放入刷握,把碳刷的软铜引线拉紧并固定在引线槽中,待内定子完全放入外传子后放松碳刷并检查碳刷的灵活度。
8、电动车电池检测维修

现在一般使用的是铅酸电池和锂电池。
铅酸电池的正规检测必须检测实际容量,一般以0.5C为标准放电,C为2h率的容量值,如果没有达到厂家规定的容量值,在包修期内可以调换。
在检修铅酸电池时可以通过如下方式简单检测:
(1)测量电池的端电压,试验电池的短路电流;如果电池的端电压较高,但在短路时火花很小,说明电池有开路等情况发生,一般内部极板焊接断裂的情况比较少,注意检查外露端子的虚焊及极片的严重腐蚀。
(2)充满电后立即测量电池端电压,然后放置5h以上,再次检测端电压,如果电压下降幅度很大,而且再测量过程中仍以较大的幅度下降,说明电池自放电很严重,一般需更换。
(3)在充电过程中,电池发热严重,但电池还没有变形情况下,需检查充电器的充电电流,一般10-14Ah电池充电电流是1.6-1.8A左右,17Ah-20Ah以上充电电流在2.5-3.0A左右。电池会因为发热严重而散失水分,所以需补充水分。简易操作如下:打开电池的面盖,旋下电池6个安全阀,给每单格加纯净水或蒸馏水6mL左右,加液结束,采用脉冲式充电器深充一次,0.5C放电,再循环一次,应该有较大改善。
锂电池相对于铅酸电池就比较简单,而锂电池保护就体现在日常,现在很多锂电池电动车都装有智锂狗电动车电池管理系统,它能实时监控电池的充电装态,当出现过充/过放/过温/短路等情况都能第一时间通过手机告诉车主,对于锂电池的充电电压,电流,温度都能实时掌握,在平时使用中有了这个系统的检测,电池就不会那么容易损坏,这也是锂电池耐用的原因之一!
9、灯泡

不要小看电动车灯泡这一块,现有的双丝灯泡的公共极不一样,如果与线缆未匹配好会导致灯泡的工作不正常,严重会导致一开大灯整车不动的情况,这一块要重视一下。
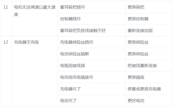
电动车常见小故障维修表格:




电动车常出的状况小编就总结了这些,希望能帮助到大家!