在阅读此文前,为了方便您进行讨论和分享,麻烦您点击一下“关注”,可以给您带来不一样的参与感,感谢您的支持。


文 |夙烨
编辑 | 夙烨
引言
掘进截割减速器是连接驱动电机与截割头的重要传动部件, 其行星齿轮传动结构强度特性对截割工作装置工作状态有重要影响,是保证整机作业可靠性的重要因素。

载割减速器主要传动及承载结构为行星架及齿轮,由于齿轮传动结构受装配状况,以及变速器整体轴系工作状态的影响。
因此,在对减速器进行结构设计时,应对齿轮传动的结构强度进行结构分析,以保证齿轮结构强度,有效降低传动结构失效故障率,使减速器传动结构具有较高的可靠性。

现阶段对于掘进机截割减速器的研究,主要集中于减速器内部轴承工作的可靠性问题,对减速器壳体及其行星架的结构动态特性以及结构设计也有一些成熟的研究成果,对于减速器齿轮传动特性主要关注结构。

比如,轮齿的校核和验证,在结构受力分析过程中多采用行星机构传动理论进行载荷求解,对传动过程中,特别是重载工况下的减速器内部轴系的结构变形关注较少。
并且对行星排齿轮传动系统,整体齿轮传动结构,来进行精确的齿轮结构强度分析研究很少见。

于是我们以 EBZ120型纵轴式悬臂掘进机截割减速器 为研究对象,在其行星齿轮的传动结构设计中,探究能否提高掘进机截割装置的传动系统。
截割减速器的结构组成
掘进机截割部主要由驱动电机、减速器、截割头和悬臂筒组成,其结构组成如下图所示:

减速器是组成截割工作装置的重要部件,用于传递驱动电机所产生的转矩,通过截割工作装置切割岩石或煤炭来完成隧道掘进作业,那么, 行星齿轮的传动结构设计,能否提高掘进机截割装置的传动系统?
行星齿轮减速器传动机构理论设计
行星齿轮传动机构具有传动转速高、传递转矩大、齿轮受力平衡好及可靠性高等优点。根据掘进机截割结构特征。
为保证减速器整体结构更加紧凑,采用双级行星齿轮传动,由两个2Z-X基本传动类型串联结构,即单个行星排中有2个中心轮和1个转臂构件。

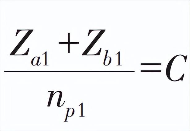
根据减速器输入、输出转速要求,确定其总传动ip为29.4,初步选定高速级传动比ip1=5.88,低速级传动比ip2=5。
根据各级传动比及减速器安装结构尺寸,初选高速级太阳轮齿数Za1=17,行星齿轮数np1=3,根据传动比及行星排配齿关系,由式(1)计算获得高速级行星排齿圈齿数Zb1=83。

由2Z-X型行星传动的装配条件:

故齿圈齿数取Zb1=85,内齿轮齿数进行圆整后,传动比误差△i可由式(2)计算得出, 其计算值为2%,满足设计要求。

根据式(3),行星排齿轮传动设计的同心条件可求得行星齿轮的齿数Zc1为34。

依此方法可确定截割减速器低速级行星排各传动齿轮参数,分别为:低速级太阳轮齿数Za2=23,行星齿轮数np2=3,低速级行星排齿圈齿数Zb2=91,行星齿轮的齿数Zc2=34。
行星齿轮传动系统设计完成后,根据其工作工况进行结构分析验证。
齿轮模数参数确定
行星齿轮传动系统各齿轮均采用高强度合金渗碳钢,中心齿轮的材料20Cr2Ni4,该材料具有良好的承受冲击和耐磨的性能, 材料硬度58~60HRC ,根据文献可知材料齿轮的接触疲劳极限σHlim=920N/mm2,齿轮齿根弯曲。

疲劳极限σFlim=340N/mm2,行星齿轮与内齿圈的材料为20CrMnTi,材料硬度为50~52HRC, 材料齿轮的接触疲劳极限为σHlim=750N/mm2, 齿轮齿根弯曲疲劳极限σFim=310N/mm2,齿轮的加工精度为7级。
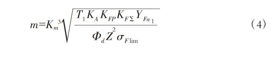
根据齿轮设计参数,按弯曲强度的计算公式,计算获得减速器两级行星传动的齿轮副模数。以低速级行星机构为例,应用式(4),计算齿轮副的齿轮模数。

式中:Km为齿轮传动类型系数,对于直齿轮传动系数取值为12.1,T1为齿轮副中小齿轮的传递转矩,根据高速级传动比以及相应传递功率和传动效率,计算得转矩为1497.44N·m,KA为齿轮的使用系数,因减速器的工作工况为中等冲击,取值为1.6。
KFP为行星轮间载荷分布不均匀系数,因行星轮个数为3个,取值为1.54,KFΣ为综合系数,因行星轮个为3个,取值为1.8,KFa1为小齿轮齿形系数,取值为2.42。

Φd为齿轮齿宽系数,取值为0.8,σFlim为齿轮的弯曲疲劳极限,根据材料特性可知其值为340N/mm2,Z为齿轮的齿数,低速级太阳轮齿数为23。
计算获得低速级行星齿轮传动的齿轮模数m2为6mm,高速级行星齿轮传动的齿轮模数m1为4mm。
齿轮传动强度的验算
掘进机截割减速器的两级行星传动中, 低速级行星传动机构所受的转矩载荷大 ,因此以低速级行星齿轮传动的齿根弯曲强度,校核计算为例进行分析。
在行星齿轮传动的啮合齿轮副中,其齿根弯曲应力σF可按式(5)及式(6)计算。

式中:KV为动载荷系数,考虑齿轮的制造精度及运转速度对轮齿内部附加动载荷影响的系数,取值为1.04,KFβ为齿向载荷分布系数,经计算得值为1.105。
KFa为齿间载荷分布系数,取值为1.1,KFP为行星轮间载荷分配系数,因行星轮个数为3个,故取值为1.54,σF0为齿根应力基本值,N/mm2。

Ft为齿轮名义切向力,由低速级输入转矩、行星轮个数及齿轮参数可计算其切向力为7234N,YFa为载荷作用齿顶时齿形系数,由齿轮副参数可得太阳轮为2.69,行星轮为2.45。
YSa为载荷作用齿顶时应力修正系数,由齿轮副参数可得太阳轮为1.575,行星轮为1.65,Yε为重合度系数,由轮旋角参数取值为0.723,Yβ为螺旋角系数取值为0.83,b为工作齿宽,取值为78mm。

由上述公式,可根据选取参数计算获得低速级行星减速机构太阳轮的齿根应力σF1为122.4MPa,行星轮的齿根应力σF2为116.8MPa。
根据截割减速器的工作要求,确定齿轮传动最小安全系数SFmin=2, 进一步确定齿轮应力修正系数YST=2.0,弯曲强度寿命系数YNT=1。

齿根圆角敏感系数YδrelT太阳轮和行星轮分别取值为1和0.95,齿根表面状况系数YRrelT太阳轮和行星轮均取值为1.043,弯曲强度的尺寸系数Yx为0.99。
通过齿根许用应力计算式(7),可计算减速器低速级行星传动机构的太阳轮以及行星轮的结构许用应力数值太阳轮σFp1为351.1MPa,行星轮σFp2为304.1MPa。

由计算结果可知,在满足要求的安全系数前提下,减速器行星齿轮传动机构的太阳轮和行星轮的齿根弯曲应力计算值均小于所选材料的许用应力值,理论上满足齿轮齿根弯曲强度设计要求。
以上减速器行星传动机构结构强度分析,引入经验设计参数较多,没有考虑行星传动机构齿轮及轴系的结构影响。
同时对减速器工作过程中的轴承游隙,以及齿轮哄合过程中的载荷不均匀性,考虑的不够全面。

因此,有必要对减速器传动系统进行动力学分析, 以获取减速器内部构件的载荷信息,提高减速器行星齿轮结构强度计算的准确性 ,为行星减速器设计提供参考。
截割减速器三维建模与载荷分析
掘进机截割减速器主要由输出端盖、输入端盖、减速器箱体以及内部两级行星式齿轮传动系组成,建模过程中优先确定减速器内部轴承定位支撑结构,以及内部结构工作空间。
减速器壳体部分根据内部结构确定外形尺寸,减速器行星排是主要传动结构,可根据理论设计计算获得其结构参数,下图所示为掘进机截割减速器三维实体模型。

减速器行星排齿轮传动动力学分析
掘进机截割减速器是传递转矩与功率的关键传动部件,限于空间要求减速器采用双级行星齿轮传动。
输入转矩从输入轴传递到高速级太阳轮,太阳轮转动带动与之啮合的行星轮转动,行星轮受固定的内齿圈的约束绕着太阳轮运动,所传递的转矩借助3个行星轮轴,由行星架输出传到低速级行星传动机构的太阳轮轴。

依上述传动方式,由低速级行星减速机构的行星架输出转矩驱动截割头进行掘进作业。
截割减速器内部是具有多齿轮副、 多传动轴及支撑结构的柔性传动系统, 其内部传动件所受的载荷往往是动态的。
因此,在对齿轮传动分析时应根据传动工况计算获得行星架结构所受转矩及行星排传动输入部件的转速,为后续分析提供边界条件。

因此,采用RomaxDesigner传动系统多柔性体机械传动分析平台,综合考虑减速器工作中的影响因素,将减速器润滑油参数与齿轮及各轴构件的热处理工艺参数输入软件。
同时设定齿轮轮齿的表面粗糙度及齿轮轮齿的结构工艺参数,以实现齿轮传动过程中轮齿接触特性。

通过上述参数设置,实现减速器结构件弹性特征与接触特性的耦合处理,进而获得减速器作业工况下的载荷信息。
掘进机减速器动力学模型如上图所示,截割减速器工作参数如表1所示。

根据截割减速器额定工作参数,由减速器动力学传动系统通过计算可获得行星传动结构整体所受转矩载荷平衡图,如下图所示:

由低速级行星架转矩载荷平衡图可知,低速级行星排行星架左侧转矩为10594N·m,右侧转矩为12588N·m,行星排输出轴转矩载荷为11591N·m。
因此,可知低速级行星传动系统行星架传动的转矩峰值为12588N·m,行星轴输入转速为245r/min,行星架输出转速为50r/min, 以此为载荷边界条件施加于行星传动有限元结构动力学分析中。

截割减速器行星排齿轮传动建模过程中最大化地保留其齿轮齿形结构特征。为提高计算效率,对太阳轮及行星轮结构进行结构简化。
由于齿轮为圆柱齿轮,因此采用六面体单元进行网格划分,其中轮齿部分结构的单元长度为1.5mm,所建立的低速级行星传动系统单元数为261030个。

太阳轮结构材料采用20Cr2Ni4,密度为7.80×103kg/m3,弹性模量为2.06×105MPa,屈服强度σs为850MPa,抗拉强度σb为1175MPa,泊松比为0.3。
行星轮与齿圈结构材料为20CrMnTi,材料密度为7.86×103kg/m3,弹性模量为2.12×105MPa, 屈服强度σs为835MPa,抗拉强度σb为1080MPa, 泊松比为0.289。
建立的截割减速器低速级行星齿轮传动结构有限元模型如下图所示:

计算边界条件
根据截割减速器低速级行星架结构装配关系,行星轮通过行星轮轴承支撑安装在行星轮轴上,将行星轮所受的转矩传递给行星架,并由行星架通过花键向外部传递。
因此,在行星齿轮传动系统中,在齿圈外端施加固定约束, 各行星轮轴进行节点耦合并施加转矩载荷, 太阳轮设置为转速输入,行星轮在计算过程中可绕自身轴线做自转运动。
齿轮传动结构强度计算
应用ABAQUS有限元分析软件,对减速器低速级行星齿轮传动结构进行动态分析求解,获得行星齿轮传动结构齿轮齿根弯曲应力以及齿面接触应力,如下图所示:

由上图可知,由于低速级所传递的转矩较大,所以低速级行星齿轮结构整体应力水平较高,最大应力发生在齿轮轮齿接触位置。
由于行星排采用三行星轮传动形式行星轮间传动载荷存在一定差异,所以轮齿轮齿接触应力区面积不同。

由低速级太阳轮齿轮应力云图可知,对于直齿轮传动,轮齿啮合接触为线载荷,最大接触应力为179.0MPa,齿根弯曲强度为129.1MPa。
由下图所示的低速级行星轮齿轮应力云图可知,行星轮齿面接触应力270.6MPa,齿根弯曲应力141.9MPa。

根据设计要求,其齿轮传动安全系数ns为齿轮齿根弯曲应力与齿轮材料弯曲疲劳极限的比值, 可知行星排太阳轮、行星轮的安全系数分别为2.6和2.1, 高于行星齿轮传动经验设计的安全系数,太阳轮结构存在一定的设计优化空间。
因此,该低速级行星齿轮传动结构强度满足设计要求,齿轮传动安全可靠。
结论
通过建立EBZ120型纵轴式悬臂掘进机截割减速器三维模型,对减速器进行传动动力学分析,获得有限元计算边界条件。

采用动力学求解方法对减速器低速级行星齿轮传动系,进行有限元分析后可以得出结论:
应用多体动力学分析方法,可精确获得减速器行星架齿轮传动系统的转动状态,获得行星架负载转矩,为齿轮传动系统结构强度计算提供精确的边界条件。
进行整体行星齿轮系计算,可有效降低计算过程中太阳轮与多行星轮接触载荷的相互影响,提升计算边界条件与实际齿轮传动的相似程度。

并且由齿轮结构强度计算结果可知,低速级行星齿轮传动结构太阳轮齿根最大弯曲应力值为129.1MPa,与传统计算结果相近, 行星轮齿根最大弯曲应力为141.1MPa, 高于传统计算结果。
两种方法获得的数值均小于材料的弯曲疲劳极限许用值,且太阳轮安全系数为2.6,尚有进一步优化空间,行星传动齿轮强度满足设计要求,并能保证齿轮传动的可靠性。
参考文献
1.佟金玉,徐坤EBH350 进机截割减速机中轴承寿命计算川.煤矿机械,2016,37(6):9-10.
2.韩斌慧,孙大刚,冯家鹏,等. 式进机截割减速器壳体固有动特性研究D. 煤炭科学技术,2014,42(1): 76-79.
3.罗汉. 采煤机截割部行星减速器关键部件有限元分析与改进D1. 太原:太原理工大学,2018.