
随着社会的进步与全民健康意识的增强,有机食品的概念在国内倍受关注,食品消费的观念由当初“吃得饱”正在向“吃得好”转变。与此同时,部分商家也利用“有机”做文章,炒作概念,明目张胆割韭菜。在此的背景下,大量的“有机”项目出现在我们的视野,比如中国有机谷平台。那么,中国有机谷究竟是个什么样的平台?飓风新干线观察员对此展开深入调查。
人去楼空,文东有机谷(中国)有限公司被列入经营异常名录

据了解,“新中国有机谷”的公众号上显示平台的运营主体为文东有机谷(中国)有限公司。目前公众号上更新时间截止到3月29日,内容是中国有机谷CEO刘坚被任命为深圳市商品交易市场联合会副会长。
据企查查显示,文东有机谷(中国)有限公司成立于2015年2月5日,法定代表人为刘坚,注册资本为10000万,实缴资本为20万。社保信息为0人,大股东为香港文东商贸有限公司,占股60%,其他两位股东有中耀能供应链管理(东莞)有限公司,占股30%,及东莞市润钰堂实业有限公司,占股10%。

“企查查”信息显示2022年8月23日,文东有机谷(中国)有限公司因通过登记的住所或者经营场所无法联系的原因被东莞市市场监督管理局厚街分局列入经营异常名录。
据“新中国有机谷”的公众号宣传,中国有机谷创始人为郭文东,以“中国有机农业之父”自诩,其公众号还有专门介绍郭文东的文章,称郭文东辞去在北京的重要岗位以及千万富翁的身份,最终在湖北省襄阳市南章县开始了有机稻米的种植尝试;在2007年到2010年郭文东的技术研发团队研发了有机肥、植物农药;2012年,郭文东企业的有机稻米的企业标准成为国家标准; 2013年7月中国有机谷列为襄阳市市级战略;2014中国有机谷年被列为湖北省省级发展战略等。

此外,据企查查显示,郭文东曾经是文东有机谷(中国)有限公司的董事长,与2019年9月退出公司的董事长职务。

(图片来源:企查查)
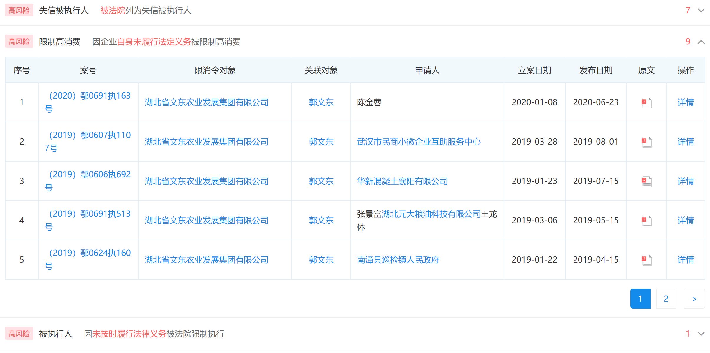
据调查,郭文东旗下有6家企业,其中包括湖北省文东农业发展集团有限公司。该企业自身风险不断,在2020年度襄阳市食品生产企业双随机监督抽查中被抽查发现问题。而郭文东作为该企业的法定代表人,多次被列为失信执行人,且因企业自身未履行法定义务被限制高消费,还因未按时履行法律义务被法院强制执行。



(图片来源:企查查)
SYJ版通全球首创
据调查,2021年8月9日,中国有机谷(文东有机谷(中国)有限公司)成功在深圳文化产权交易所挂牌,成功发行了数字资产,SYJ版通的横空出世,宣称是中国有机谷品牌以旗下400亿元落地的农耕艺术文化版“版通质押品”,与在深文所上拍发行的SYJ版通结合,是全球首创“为消费者买单”的项目模式。

但是,文东有机谷(中国)有限公司在深圳文化产权交易所的挂牌成功,并不代表公司主板股票上市,企业挂牌代码和企业的股票代码是不一样的。但是文东有机谷(中国)有限公司却披着众筹的外衣向社会公开募集资金,保证高回报。我国相关法律早已规定:企业通过公开发行股票、企业债券等形式进行有偿集资,必须依照有关法律、行政法规的规定,经国务院主管部门批准。
此外,根据中国有机谷推出的数字化货币APP显示,被邀请成为中国有机谷APP注册会员后即可参与中国有机谷众筹预售,每日限时可参与多次众筹。

但是,从中国有机谷众筹群得知,在商城众筹充值钱的收款付款账户是曼地有机谷(广东)有限公司,并不是文东有机谷(中国)有限公司。

据企查查显示,曼地有机谷(广东)有限公司成立于2022年4月13日,法定代表人为王显杰,那么曼地有机谷(广东)有限公司与文东有机谷(中国)有限公司是什么关系,值得我们深入考究。
泰山众筹,击鼓传花
通过中国有机谷经销商,我们了解到中国有机谷目前最新的运营模式与制度具体如下:
一、众筹预售模式
被邀请成为中国有机谷APP注册会员后即可参与中国有机谷众筹预售,每轮可众筹100-5000元,每个预售订单需消耗参与金额2%的贡献值,每期众筹间隔48小时左右,每期众筹预售均以30%速度递增,采用进4出1制度,第4期众筹款满,结算第1期订单;第5期订单结束,结算第2期订单;第6期订单结束,结算第3期订单;结算时返还本金+利润70%现金+利润30%产品积分(在积分商城兑换有机产品,均为实价,价格对标京东淘宝实体超市)以此类推,当某期订单没有在规定时间内满额,系统自动熔断,当期订单的参与会员,所有资金原路返回;当期的前三期会员70%订单金额原路退回+100%产品积分+30%贡献值。
以10000元参与众筹举例:
支付10000元,扣除200贡献值,成功参加订单;
未熔断订单得到10000+(1200x0.7)≈1840元现金+360元积分(1200x0.3);若第100期订单没有在规定时间内满额,即熔断,第100期订单的参与会员,10000元现金返回账户;
第99期、98期、97期会员,7000元现金返回账户+10000元产品积分+3000元贡献值。


二、代理制度
代理共有四个级别分别为区代、市代、省代和合伙人,有效客户为在中国有机谷APP商城成功众筹1千元,即视为有效客户:
1级区代:直推5位有效客户,拿团队流水2%;
2级市代:直推5位区代,团队累计30位区代,拿团队流水5%;
3级省代:直推10位区代,团队累计300位区代,拿团队流水7%;
4级合伙人:直推2位省代,额外多拿2%;
其中平级奖10%,直推奖充值流水2%的商城贡献值;


事实上中国有机谷的众筹预售模式并不是中国有机谷独创,而是近期大名鼎鼎的“泰山众筹”模式。泰山众筹简而言之就是一个拿着*币特比**做互助资金盘的项目,而中国有机谷的模式几乎和“泰山众筹”一模一样。

商城产品以次充好
作为标榜自己“中国有机标准制定者”的中国有机谷,在其官网、公众号和APP上多处宣传自己商城产品优质与健康,并且前面也提到在积分商城兑换有机产品,均为实价,价格对标京东淘宝实体超市。

我们在积分商城中随机挑选了两款产品分别为寒地硒米及高寒燕麦片,进行了产品信息查询,中国有机谷积分商城中寒地硒米价格为5000g产品1250元;高寒燕麦片价格为1000g产品189元。但是我们在阿里巴巴电商批发平台找到的同款产品,在阿里巴巴上寒地硒米价格为5000g产品13.9元,高寒燕麦片价格为1000g产品8.5元。



在中国有机谷的官网中我们也看到寒地硒米、高寒燕麦片这两款产品都是属于中国有机谷的产品。但是这些产品的实际售价甚至低于普通食品,而中国有机谷将其堂而皇之的称为有机食品并且标上溢出数十倍的价格,先不谈这样的价格买到的有机产品的真假,这样以次充好的情况是否与中国有机谷自诩的大健康理念背道而驰。
我国《广告法》第二十八条第二款第二项中就指出“商品的性能、功能、产地、用途、质量、规格、成分、价格、生产者、有效期限、销售状况、曾获荣誉等信息,或者服务的内容、提供者、形式、质量、价格、销售状况、曾获荣誉等信息,以及与商品或者服务有关的允诺等信息与实际情况不符,对购买行为有实质性影响的”广告以虚假或者引人误解的内容欺骗、误导消费者的,构成虚假广告。
后记
最近几年,各种各样的以“投资”、“众筹”、“原始股”、“致富梦想”为噱头的金融*局骗**在互联网上此起彼伏地出现,这些“糖衣炮弹”总是让人应接不暇,“操作简单,稳稳躺赚”的字眼也变得随处可见。在这些项目推广人员的鼓吹与渲染下,全民投资的浪潮是一浪高过一浪,被割下来的韭菜也是一茬接着一茬。但无论这些项目的名目如何繁多不同,这些*局骗**的本质无非都是抓住了人们“不劳而获”的心态。总而言之,不轻信不法分子所承诺给予的高额回报,认清“你贪图的是别人的利息,别人想要的是你的本金”的现实,才能避免上当受骗,才能守护好自己的钱袋子,才能不成为被不法分子随意割的韭菜。
至于中国有机谷在今后会如何发展?其商城产品的以次充好能否得到有关部门的整改?对此,飓风新干线将继续保持关注。