自古以来,微距无弱旅。在佳能EF来说,最知名的就是红圈百微了。还有诸多更专业的微距镜头。到了RF时代,虽然重量级大光腚不少,但纯粹的微距头还没有。

在佳能或将产品中心向无反转移的大背景下,镜头群的完整性显然更重要。此时若顺势推出几款微距镜头,将会使EOS R系列变得更好玩,更好用了。
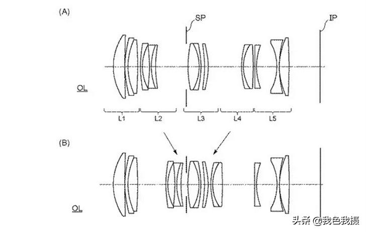
以下是相关专利信息:

佳能RF 65mm f / 2.8
- 焦距:65.13mm
- F数:2.92
- 视角:18.38°
- 图像高度:21.64mm
- 镜头长度:135.78mm
- 后焦距:21.40mm
佳能RF 90mm f / 2.8 Macro
- 焦距:87.04mm
- F数:2.92
- 视角:13.96°
- 图像高度:21.64mm
- 镜头长度:135.86mm
- 后焦距:19.58mm
佳能RF 100mm f / 2.8 Macro
- 焦距:97.62mm
- F数:2.92
- 视角:12.50°
- 图像高度:21.64mm
- 镜头长度:123.21mm
- 后焦距:18.86mm
佳能RF 180mm f / 2.8 Macro
- 焦距:189.96mm
- F数:2.92
- 视角:6.50°
- 图像高度:21.64mm
- 镜头长度:185.34mm
- 后焦距:23.95mm
看起来似乎没有IS,但估计应该有。以前佳能没有65mm全画幅自动微距头,我倒是很希望有这么一款类似尼康60 2.8G的微距头,日常挂机,拍个景物,不错。
