在猪周期的下行期,谁受益?
答案简单,屠宰卖肉的。
要说这个话题,绕不开双汇发展。
作为国内无可置疑的肉业一哥,今年的双汇,已入多事之秋。
不到一年,市值从猪周期的顶点2000多亿缩水到800多亿。
然而,比市值缩水更劲爆的是双汇的宫斗大瓜。
这幕父子反目剧,集路线之争、利益输送、男女关系、父权*制专**、侵吞国资、中美关系于一体,从公域到私德,从国企改革到国际关系......
以至于从资本市场成功出圈,搞的满城风雨,路人皆知。
在偏左的环境下,舆论似乎普遍同情“弱小”的万洪建。
但众多关注此事的媒体,对生猪养殖屠宰行业,可以说在一知半解的情况下发表观点。
这是相当不负责任的。
先不说这里的事实真伪问题,事情的是非曲直,不能用实力地位来评判。
所以我们准备为双汇,而不是万某人,说一些好话。
1
不知诸位看过万洪建写他爹的长文没有。
我仔细看了,有几点看法:
1、深谙中式举报精髓,“损中肥美”、“观看YouTube”、“听取海外政经言论”。
2、除了进口猪肉关联交易的价格问题涉及事实陈诉,其他多围绕道德层面,同时讲的云山雾绕,故意罩上一层神秘色彩。
3、对他爹称呼的多变,隐秘揭示了其内心的矛盾和复杂心态,一面不愿彻底撕破脸,另一面又想借更大势力来增加筹码。
4、虽被外界认为是“储君”,但他实际上没进入双汇的核心权力层,万某人未传位于他,说明老头并不糊涂,但也不能证明老头有多英明。
长文发出后,市场为之震动,深交所很快就下发了关注函,问了六个问题。
当然,深交所不会管你的家庭伦理剧,六个问题中最重要的是前两个:
一是关联交易进口猪肉的决策合理性,以及定价的公允性。
二是上半年末鲜冻猪肉存货跌价准备的测算。
这两个问题,前者关系到双汇的长远经营,后者牵扯到短期业绩表现。
尤其是第一个问题,是理解双汇发展本身,以及其经营特点的关键。
双汇的关联交易,本质是什么?
就是双汇每年年报都会津津乐道的“中美协同”,简单点说,就是利用中美猪肉价差搬砖套利。
这个套利结构又是如何形成的?
关键是双汇的股权架构,但说起来是个Long Story。
早年的双汇是家破落的地方国企,漯河肉联厂。
1983年,连年亏损的肉联厂已资不抵债,一年中有半年“烟囱不冒烟”,处在倒闭的边缘,发工资还得靠银行*款贷**。
时任厂长调离,坚持要把位子传给万隆,他一开始是拒绝的,摆摆手,说还是另请高明吧。
但人民群众已经决定了......
次年,全厂职工“票选”厂长,44岁的万隆以全票当选。
民主程序赋予他无与伦比的合法性。
一朝权在手,便把令来行,他强硬的一面开始显露。
上台后,便开始了大刀阔斧的改革,从打破铁饭碗到铁腕正风肃纪,从干部能上能下到清理关系户。
力挽狂澜,挽大厦于将倾。
铁道兵出身的万隆,被老职工评为“手硬”,他最痛恨迟到和不守规则。
除了工作,他没有其他任何享乐及爱好,不抽烟,不喝酒,不唱歌,也从不参加各类社会活动。
他专断独裁,心直口快,从不怕得罪人,也不在乎外界的批评和看法。
就算有看法又怎么样?
双汇除了为漯河提供大量就业,还贡献50%以上的税收。
曾经的中国有无数的肉联厂,但双汇只有一个。
漯河人都说双汇是万隆的王国,但却是无冕的国王。
随着双汇成为中国肉制品龙头,不可避免要触及改革中最核心、最隐秘也最惊心动魄的部分——产权。
但与同辈的褚时健、李经纬相比,万隆是幸运的。
他抓住了国企改制最后的窗口。
通过一系列极为复杂和隐秘的资本运作,由国企变民企,民企变外资,外资又整体上市。
最后万隆终成双汇的真正主人。
也让双汇的股权架构变得异常复杂。
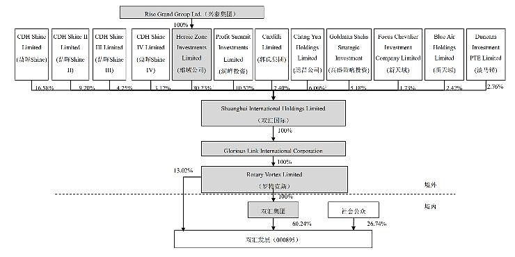
2
下图是2012年报披露的双汇股权架构。

一个读书不多的杀猪匠,和如此多的华尔街大佬眉来眼去,要是看了万某人当年的一系列操作。
你会感叹这个看打印版2号字网文的老头。
比你想象中精明百倍。
正是这场极为经典的MBO,让他和国际资本拉上关系,也正是外资身份背后的英美法系,让中美两国的企业能说相同的商业语言,为2013年收购Smithfield铺平了道路。
要知道,Smithfield是美国排名第一的生猪养殖/生鲜猪肉/肉制品市场企业。
分别拥有15%/26%/18%的市场份额。
什么概念?
2013年出栏量约2000千万头。
是2020年两个牧原的出栏量(剔除仔猪和*猪种**),是2013年的10个牧原。
2013年屠宰量约3200万头。
相当于双汇2018年屠宰巅峰的2倍多。
2013年肉制品销量130吨。
是双汇2020年肉制品销量的81%。
这笔收购对价是71.2亿美元,按照当时的汇率计算,约430亿,加上交易费用,不超过450亿。
而牧原目前的市值是2900亿,同志们,你说这笔收购值不值?
千值万值。
但可惜,和双汇并没有多大关系。
那到底和谁有关系?
2012年,双汇营收是397亿,净资产125亿,账上现金40.8亿。
很显然,双汇吃不下Smithfield。
当时是华尔街在区区4个月之内,给万隆弄到42亿美元的银团*款贷**融资。
也就是说,是美国的资本家们,不仅牵线搭桥,还鞍前马后到处借钱,然后帮中国企业家买下美国的核心资产。
接着又帮助万州国际在港上市,融资还债。
万隆这波操作,堪称空手套白狼的典范。
当然,钱的问题,只是一方面。
万大公子的文中,硬要拐着弯说集团高层有“美分”倾向。
说实话,君临很难评论,也觉得匪夷所思。
众所周知,任正非常常说美国好,是世界的科技灯塔,要虚心向人家学习等等。
人们对此的评价往往是“中肯、务实、理性”。
要是其他人说呢?
任说的,其他人难道就说不得了?
所以说钻资本主义的空子,也要既讲方*论法**,也讲价值观。
在外资身份掩护下,美国的肉饭碗都能弄到手。
你想想,中美要是对调,在“饭碗牢牢端在自己手上”的语境下,这种交易还能成功?
所以这样的股权架构,是由历史和现实等多种因素交织影响而形成的。
从股权关系上来说,Smithfield和双汇互不隶属,一样都是万州的子公司。
万州是“中央”,Smithfield和双汇都是“地方”。
下面是最新版的股权架构图:

Smithfield经营绩效好坏和双汇无关,但可以在母公司的协调下,进行中美协同。
但很明显,由于不在一个经营主体内,这种协同不是完整意义上的协同。
所以协同中的利益分配问题,如何端平一碗水,就是一个很难评价的问题。
不然万大公子也不会借题发挥,还说当年他反对购买Smithfield,和父亲闹的不愉快。
因为在绝大多数人看来,买Smithfield只是为了套利吃差价。
如今差价没吃到,反而“肥美损中”,这套模式似乎倒是成了万家人向美国输送利益的工具?
要我说,不在其位不谋其政,难懂当家难,不知油盐贵。
如果真要怎么看,说明还是对肉业了解不深,格局小了。
3
早在2006年,万隆就已不甘做一个地方国企龙头。
这年他就提出了国际化构想,但彼时双汇不具备这个能力,也没有找到合适的标的。
现在如日中天的牧原,2014年上市那会,出栏量也才200万头。
2006年的双汇一年可要杀523万头猪。
要知道,*国猪中**肉消费差不多占到全球一半市场,市场还在不断成长,产业集中度提升空间巨大。
但以当时的水平看,仅依靠国内资源来支撑发展,肯定后劲不足。
任正非说过,对中国的企业来说,不知道前路怎么走了,就要抬头,看看灯塔。
农牧业,美国无疑是世界第一。
就食品安全、产业链条、成本竞争力、工业化程度等方面论,中国和美国有很大差距。
最直观的是成本差距,通常而言,中国活猪平均价格是美国的1.6倍左右。

来源:万洲年报
更重要的是集中式、一体化的工业生产经营方式。
美国的肉企,都是生猪养殖/生鲜猪肉/肉制品三位一体,全产业链覆盖。
一旦企业能在某区域养出足够的猪,意味着对区域市场的把控,可以逐步打造品牌优势,吃到品牌溢价。
美国的肉业集中化已经完成,绝大多数超市卖肉,只卖Smithfield、泰森、荷美尔。
因为这种集中式的企业,可以达到供应链最短、最新鲜、量大可控,包括提供各种标准化服务。
从而紧紧抓住下游餐饮、工厂、批发市场。
对中国而言,供应链最短这条又极为重要。
不同于美国人以冷鲜肉/肉制品消费为主,运输半径长,屠宰产能可以围绕养殖产能布局。
中国人以热鲜肉消费为主,运输半径短,这就要求屠宰产能必须围绕销售区域布局。
双汇屠宰产能都是围绕销售区域分布

来源:年报
而屠宰不是简单的杀猪,关键是杀完猪后卖肉,有渠道大规模快速销售。
所以在上游养殖环节集中度不高的时候,双汇屠宰对分散的上游有较强的话语权。
但养殖集中度一旦变高,话语权的天平就会往上游摆动。
更极端一点,卡屠宰的脖子都不是问题。
终端没有肉卖,双汇建立的渠道壁垒就算再高大,都会被一夜颠覆。
所以万大公子说牧原进军屠宰,将成为双汇未来最大竞争对手,并非张口就来。
那么2013年,在牧原、温氏连夜赶制IPO申报稿,国内生猪养殖走向加速集中的前夜。
万隆蛇吞象拿下Smithfield,是极具战略眼光和非凡魄力的正确决定。
站在这个角度上,你就能理解为什么管理层要调高六分体的进口价格。
Smithfield在双汇发展六分体采购中占80%以上。
这就是核心供应商,能在市场猪源缺乏时,提供稳定的、可预期的原料来源。
从保证供应链安全的角度看,Smithfield的作用不言而喻。

来源:问询回函
调价的过程,就是2021年初前后,以低价格订货。
但因为生产周期和船期,会花1~3月的时间才能收到货。
而在此期间(年初),美国CPI上涨导致美国猪价上涨。
基于此,Smithfield希望上调尚未履约订单的结算价格,并通过其母公司罗特克斯向双汇提出建议。
注意,只是建议而非拒绝出售,并未违背契约精神。
所以管理层响应建议,主动提高六分体价格。
表面上的理由,是考虑现货和期货价格维持高位,以及2021年初非洲猪瘟疫情点状爆发等预期因素。
那么猪价就可能保持较高水平。
从生猪价格可以佐证,2021年初有一波快速反弹,直到5月才跌破平台,下行趋势才明朗。

背后的理由呢?
Smithfield是双汇的核心供应商不假,但双汇却算不上Smithfield合格的客户。
从双汇的视角看,Smithfield是个“备胎”。
道理很简单,国内猪价高,屠宰减少,进口增多;
猪价低,屠宰增加,进口就回落。
如果用电网来比喻,Smithfield就像是个调峰的电站,需要你才上,不需要就休息。
但养殖和电站一样,是个重资产的生意,需求的大幅波动,导致相应的启停成本、固定费用就高。
调峰,理应享有调峰服务的额外收益。
从这一明一暗来看,调高价格站得住脚。
况且就算调高了价格,也并不违背“以不高于本公司当期同类同品质产品平均采购价为基础”的原则。
所以还扣不上*国卖**的帽子,充其量不过是平衡地方山头的利益问题。
所以我们才说万大公子没有进入核心决策层,他所谓的“国内双汇管理人员反对”,也是后见之明。
我猜,这一定不是在捍卫契约精神,也谈不上秉笔直书,仗义执言。
是在野的*子党太**妄议朝纲?
还是不顾全局的地方主义?
谁知道呢?
4
10月26日,双汇发布三季报。
前三季度实现营收509.58亿,同比下降8.56%;净利润34.53亿,同比下降30.08%。
去年猪价高,营收基数大,下滑在情理之中,幅度也比预期好得多。
利润大幅下滑,主要是存货的账面亏损。
前三季度,双汇资产减值损失16.16亿,光是三季度就是近10亿。
至于深交所问“上半年末鲜冻猪肉存货跌价准备的测算”,这是个技术问题,不做深究。
真正应关心的问题,是如此大的亏损是如何发生的?
简单来说,就是管理层对年初那波猪价快速反弹,有点听得风就是雨。
回函中,管理层认为年初有非洲猪瘟点状爆发,国内仔猪价格快速上涨,预计5、6月份将出现生猪供应下降,猪价、肉价将会继续上升,三季度将达到较高水平。
基于这个判断,管理层在一季度增加了进口猪肉的采购,在二季度增加了国产猪肉的入库。
就是想未来利用生猪价格上涨,狠赚一笔。

2019~2020的囤货操作,大幅增厚了2020年的业绩,但出来混总是要还的 来源:choice
事实证明,肉业老司机也会翻车。
更遑论普通人。
说明了啥?
依然是市场的难预测性,择时的不靠谱性。
不过话说回来,君临有个疑问,管理层在做如此重大决策时,没有考虑能繁母猪的存栏吗?

可以这么说,是“中央”把中美协同用歪了。
本来中美协同,是肉制品对冲国内猪肉价格上涨带来的成本压力,生鲜肉维持销售渠道供应稳定。
但管理层却赚差价赚上头,做成了择时赌博。
本是平滑周期的协同,反而放大了周期。
这是“中央”的锅,没什么好说的。
但我们注意到,万洲管理团队在三季报发布后做了业绩说明。
其中一个关键问题是“生鲜肉大亏,风险敞口太大如何解决”。
问题由万隆亲自回答。
首先,这位老硬汉公开承认了经营失误,是对行情产生了误判。
白天出气,晚上看戏,两干一稀,大家满意。
作为双汇的传奇人物,魅力型领袖,在大会上做检讨,本身就不容易。
他提出解决办法主要是两点:
1、冻品尽量少做或者不做,尽量快进快出。
2、利用生猪期货进行套期保值。
第二点解释一下,例如一二季度的高库存,可以开相应量的期货空单,锁定价格。
就算生猪价格暴跌,库存的减值损失,可以通过期货空单产生的盈利来弥补。
所以万隆的两点还是对症下药,对未来平滑周期会有关键作用,后续要观察执行情况。
值得一提的是,三季度肉制品吨均利润创历史单季新高。
要知道,过去两年双汇对主要肉制品进行了提价,如果猪肉价格保持在低位。
那么肉制品贡献的利润将十分可观。
历史上看,猪周期的底部时间持续较长。
在国内生猪养殖寡头化尚未实现前,我们认为这次的底部可能依然较长。
远的不敢说,至少双汇明年业绩应该差不了。
总的来看,双汇依然是家十分优秀的公司。
当然,有人说他是“工具人”,年年高分红替母公司还债。
但实际上,这反而说明双汇的赚钱能力十分稳定,而这种稳健的能力是多年积累的。
拔剑四顾,已无对手。
关键是这种赚钱,创造的大量自由现金流,并不需要过多的资本开支。
就像白酒,商业模式本身就不依赖高资本投入,所以ROE能长期保持高位。
也有人说他不思进取,甚至保守到产品包装多年不变。
但要知道,中国人的肉食消费习惯不会一夜改变,找到新的肉制品消费场景,并非易事。
这么多年,猪肉制品领域,除了火腿肠,还有爆款吗?
甚至美国,肉制品的爆款也依然是高温产品——Smithfield的肉罐头。
反过来说,盲目投入也换不来高增长,因为需求不会一夜冒出来。
而保守也不是坏事。
有所不为,守住自己的能力圈。
很少人知道,曾经雨润才是肉业的老大,要不是祝义才跨界房地产翻车,双汇这老大,还很难说。
万大公子说他爹太*制专**,少了点民主的空气。
但消费行业并非科技互联网,他不是卖基站,今天客户要加个功能,明天要调个参数。
这是卖肉啊,卖个火腿肠,需要让“听得见炮声的人呼叫炮火”吗?
这个行业需要的就是集权*制专**,总部定下销售目标,销售团队就猛扑上去,千方百计的把货卖出去。
国内成功的消费品企业,哪个老板的手腕又不硬呢?
至于双汇为什么长期难以享受高估值,那又是另一个问题,这与管理层、万某人的品性有关。
不是人人都是曹德旺。
当然,这说起来又是另一个故事。
但有一说一,万某人确实有种种问题,不然父子也不至于公开闹僵。
要注意一点,老头是相当会利用资本市场的人(例如去年的高位增发)。
我们认为双汇未来可能存在一个潜在大预期。
即将Smithfield整体注入双汇发展,相当于万洲整体上市。
这种情况下,关联交易、同业竞争才会消除,“中美协同”才是完整的,届时双汇就是真正意义上的猪肉全产业链巨无霸。
这不是不可能。
不过按照老头的行事风格,起码要等到双汇下一次享受高估值的时候。