阅读向导
阅读前请点击“ 关注”每天更新司法拍卖文章,让您不错过任何一次捡漏的机会。

处置单位:浙江省临海市人民法院
成交时间 :2020/07/10 12:04:31 101次延时
参与人数:24 人报名 325 人设置提醒 18626 次围观

标的物介绍
拍卖标的:临海市大洋街道湖景国际6幢2单元1602室房屋(含固定装修)、地下6-033号车位及相应的土地使用权。房产证号为临房权证大洋街道字第186382号和186381号,登记时间为2012年12月7日,证载房屋建筑面积为141.6㎡,地下车位建筑面积为32.96㎡。土地证号为临城国用2013第7228号和7235号,证载房屋土地使用权面积为7.84㎡,地下车位土地使用权面积为32.96㎡,用途为城镇住宅用地,类型为出让,使用权终止日期至2077年11月19日。
房屋有抵押,拍卖成交后一个月内腾空交付,固定装修以交付时现状为准。(该房产未经评估,通过定向询价确定其处置参考价为2214261元。)房屋尚未腾空,拍卖成交后一个月内腾空交付。被执行人负担本次拍卖产生的增值税、城市维护建设税、教育费附加、地方教育费附加、土地增值税、印花税、个人所得税等,买受人负担印花税、契税。
起拍价:2214261元,保证金:440000元,增价幅度:5000元。

特别提示
标的物以实物现状为准,本院不承担本标的瑕疵保证。有意者请亲自实地看样,未看样的竞买人视为对本标的实物现状的确认,责任自负。
标的物过户登记手续由买受人自行办理。因拍卖本身形成的税费,依照相关法律、行政法规的规定,由相应主体承担;非由买受人承担部分,从拍卖款中优先支付(依法应由出卖方缴纳的相关税费须由买受人先行垫付,垫付后买受人凭税务部门出具的出卖方已纳税费票据,向法院申请退还已垫付税费)。买受人应自行办理水、电、煤等户名变更手续,相关费用自理。水、电、物业管理等欠费由买受人承担,未明确缴费义务人的费用也由买受人承担。

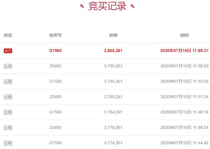
竞买记录
发稿截止已经有24人次报名参加竞拍,本次拍卖经过159次竞价,最终以:3,804,261 元被竞买号O7500用户竞拍成功。

竞价成功确认书
处置单位:临海市人民法院
标的物名称:临海市湖景国际6幢2单元1602室房屋(含固定装修)、地下6-033号车位
网拍公告时间:2020/06/08 15:18:09
网拍开始时间:2020/07/09 10:00:00
网拍结束时间:2020/07/10 12:04:31

【网络拍卖竞价结果】
用户姓名蔡某某通过竞买号O7500于2020年07月10日在临海市人民法院于阿里拍卖平台开展的“临海市湖景国际6幢2单元1602室房屋(含固定装修)、地下6-033号车位”项目公开竞价中,以最高应价胜出。
该标的网络拍卖成交价格:¥3804261(叁佰捌拾万零肆仟贰佰陆拾壹元)

在网络拍卖中竞买成功的用户,必须依照标的物《竞买须知》、《竞买公告》要求,按时交付标的物网拍成交余款、办理相关手续。
标的物最终成交以临海市人民法院出具拍卖成交裁定为准。
小编寄语
最初起拍价:2,214,261元,本次拍卖最终成交价:3,804,261 元,这个价格成交大家觉得捡漏吗?如果你有不同的看法,欢迎评论留言,你的观点对我很重要。如果喜欢我,就关注我吧!