近日,由知产鹿团队成员王磊和吴晓波律师代理的对江苏安惠医疗器械有限公司的实用新型专利201720437050.5“康健装置”无效宣告案,相应无效证据和理由获得国家知识产权局支持并下发决定,宣告所提专利权无效成立。

涉案专利无效宣告决定书
案情简介
本次被无效的涉案专利是名称为“康健装置”的实用新型专利,申请号为201720437050.5,申请日为2017年4月20日,优先权日为2016年11月2日,授权公告日为2018年9月11日,授权公告号为CN207837706U,专利权人为江苏安惠医疗器械有限公司。
涉案专利是用于颈椎、腰椎按摩的按摩装置,通过按摩装置整体的往复升降对颈椎、腰椎进行牵引按摩,帮助颈椎、腰椎恢复正常形态。涉案专利包括两个主要的技术方案,技术方案一为:康健装置,包括一第一壳体、一调节装置、一控制模块,调节装置包括充气模块(即气泵)和膨胀模块(即气囊),调节装置驱动第一壳体整体地节奏地进行往复升降,控制模块控制调节装置,控制模块包括一充气控制模块,充气控制模块包括电磁阀和微电脑芯片,微电脑芯片控制气泵、电磁阀以控制气泵向气囊节奏的充放气,从而控制第一壳体的往复升降节奏。


涉案专利技术方案一
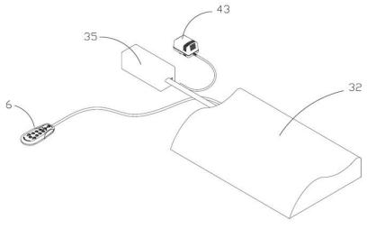
技术方案二为:康健装置,在上述第一壳体整体地节奏地进行往复升降的基础上,第一壳体包括壳主体和中心壳体,中心壳体凹设在壳主体的中部,第二调节装置驱动中心壳体整体地节奏地进行往复升降。

涉案专利技术方案二
本次无效是对涉案专利的第二次无效。第一次无效只无效掉涉案专利的权利要求14、22-24,无效的原因是得不到说明书的支持,两个主要的技术方案并没有无效掉。第一次无效中涉案专利的最接近现有技术是对比文件1,专利名称为“气压止鼾按摩枕”,申请号为201120093178.7号中国实用新型专利,授权公告日为2011年11月16日,对比文件1的枕头主要用于止鼾,其按摩方式为揉压按摩。


对比文件1:气压止鼾按摩枕
在第一次无效时,合议组认为:对比文件1中枕头套32、枕头面1、上盖2、底板10的组合相当于涉案专利的第一壳体,对比文件1中气泵19和下气囊23的组合相当于涉案专利的调节装置,气泵19相当于充气模块,下气囊23相当于膨胀模块,公开了调节装置被设置于第一壳体,对比文件1的控制器6相当于涉案专利的控制模块,对比文件1中IC板13和电磁阀15、16的组合相当于涉案专利的充气控制模块,公开了所述充气控制模块控制所述充气模块对所述膨胀模块的充放气,以使得所述第一壳体被整体地升降。但是对比文件1没有公开调节装置驱动第一壳体整体地节奏地进行往复升降。对比文件1中调节装置的作用是将按摩枕调节到适合个人的高度,其并没有涉及枕头整体地节奏地往复升降的问题,其也根本不需要枕头整体地节奏地往复升降,也没有提供枕头整体地节奏地往复升降的技术启示。因此,对比文件1没有公开涉案专利的全部技术特征。
在对涉案专利的第二次无效时,知产鹿团队花了很大的时间精力去检索具有整体地节奏地往复升降的枕头,终于检索到了,就是对比文件2 ,专利名称为“一种按摩枕头”,申请号为201420629170.1号的中国实用新型专利,授权公告日为2015年1月21日。



对比文件2:一种按摩枕头
在第二次无效时,对于涉案专利的技术方案一,合议组认为:对比文件2的气垫90相当于涉案专利的第一壳体,对比文件2中气泵和充气囊10的组合相当于涉案专利的调节装置,气泵相当于充气模块,充气囊10相当于膨胀模块,充气囊10设置于气垫90底部,对比文件2的控制手柄相当于涉案专利的控制模块,随着充气囊高度的变化不仅可以调整至合适的舒适度,还能够通过持续的升降变化来实现对颈部的牵拉按摩治疗(公开了调节装置驱动所述第一壳体整体地有节奏地往复升降)。对比文件2没有公开控制模块包括充气控制模块,充气控制模块控制所述充气模块对所述膨胀模块的充放气。
对本领域技术人员来说,控制模块包括充气控制模块,所述充气控制模块控制所述充气模块对所述膨胀模块的充放气,为常规技术手段。
对此,对比文件4(201610222881.0号中国发明专利申请,申请公布日为2016年8月10日)公开了一种智能健康睡眠枕,并公开了以下特征:所述控制电路板10由第二单片机MCU、与第二单片机MCU相连的第二蓝牙模块组成,所述第二单片机MCU的输入端分别与充电锂电池19、微型电动气泵8、组合电磁阀9(第二单片机MCU和组合电磁阀9的组合相当于充气控制模块)相连。经第二单片机MCU分析处理后,对应的微型电动气泵8(相当于充气模块)及相关的组合电磁阀9动作,给升降气囊3(相当于膨胀模块)及颈椎托举气囊6(相当于膨胀模块)进行充、放气,实现对枕高的自动调整。由此可见,对比文件4已经公开了“控制模块包括充气控制模块,充气控制模块控制所述充气模块对所述膨胀模的充放气”的技术特征。对比文件4提供了控制模块包括充气控制模块,充气控制模块控制所述充气模块对所述膨胀模的充放气的技术启示。因此,对比文件4提供了将区别特征应用在对比文件2上以提供一种通过充气控制模块控制所述充气模块对所述膨胀模的充放气的康健装置的技术启示。



对比文件4:一种智能健康睡眠枕
对于涉案专利的技术方案二,合议组认为:对比文件8(201520745888.1号中国实用新型专利,授权公告日为2016年1月27日)公开了一种多功能颈腰治疗仪,并公开了以下内容:本实用新型的多功能颈腰治疗仪,包括底座1、智能控制器和颈椎气压牵引枕2,并在底座上设置有工作架3(颈椎气压牵引枕2和工作架3相当于第一壳体),工作架内部设置有信号接收器、主控板、电池和气泵;颈椎气压牵引枕包覆在底座和工作架的顶部,并且颈椎气压牵引枕上设置有空槽,空槽内设置有理疗垫(相当于中心壳体)。气囊和颈椎气压牵引枕均与气泵连通(颈椎气压牵引枕的气囊和气泵的组合相当于第一调节装置,气囊和气泵的组合相当于第二调节装置)。即对比文件8给出了将理疗装置按照所对应的人体理疗部位对壳体进行功能区划分,并通过两个调节装置分别对其进行驱动的技术启示,本领域技术人员在此基础上容易想到将对比文件2的气垫分为气垫主体和中心气垫,并采用两套气囊装置分别对其进行驱动,这不需要付出创造性劳动。


对比文件8:一种多功能颈腰治疗仪
由于请求人的证据充分,理由合理,具有很强的说服力,复审和无效审理部支持请求人的无效理由,认为本专利权利要求1-20均不具备专利法第22条第3款规定的创造性,宣告涉案专利全部无效。
案件典型意义
《专利法》第22条规定, 创造性,是指与现有技术相比,该发明具有突出的实质性特点和显著的进步,该实用新型具有实质性特点和进步。
具体到本案,承办律师通过大量的检索,提交了多份对比文件,证明了涉案专利不具有实质性特点,从而证明该专利不具备创造性。
本人通过关注微信公众号\微博知产鹿联系到办案律师,了解到本案案情复杂,工作量大,知产鹿团队在本案无效程序处理过程中,通过对涉案专利,特别是对权利要求书和说明书内容的仔细且详细分析,准确把握涉案专利创造性不足的缺陷和各对比文件的技术特征,对涉案专利的各个权利要求进行一一击破,体现出了知产鹿团队对专利无效案件丰富的检索经验和清晰的论证思维,以及团队内部的高效运转、通力合作。