
据最新一批药品批件,#石药集团# 石药欧意 的 拉考沙胺注射液 获批上市,为该超$20亿#抗癫痫药物#的国产第2家获批生产#仿制药#企业。


截图来源:NMPA官网
拉考沙胺(lacosamide),也叫拉考酰胺,原研来自比利时 优时比 子公司施瓦茨法姆制药公司 ( Schwarz Pharma),最早于 2008 年 9 月率先在欧盟获批上市,商品名为 Vimpat,是具有双重机制作用的 抗惊厥药物 ,用于治疗 #癫痫# 和 神经性疼痛 。据药融云统计,拉考沙胺2021年全球销售额超20亿美元,依旧保持稳定增长。
拉考沙胺全球销售额

截图来源:药融云全球药物研发数据库
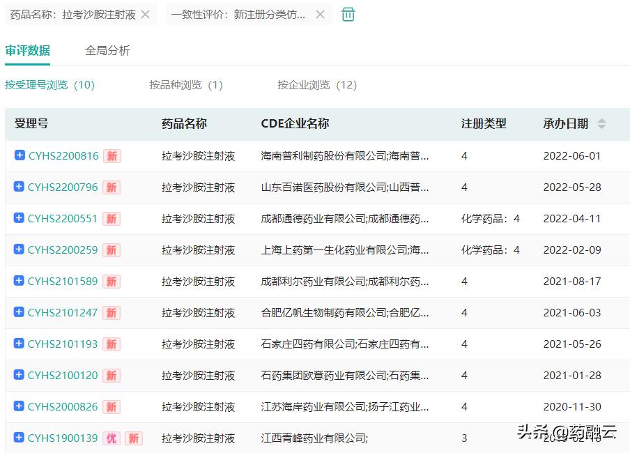
在国内,拉考沙胺已有口服液、片剂和注射液获批生产,其中,拉考沙胺注射液原研最早于2019年12月获批。2020年11月, 江西青峰药业 的拉考沙胺注射液以3类化药获批上市,成为了 国内首个 同时拿下拉考沙胺片剂和注射液首仿的企业。此次石药欧意获批,为国产第二家获批生产拉考沙胺注射液的企业。
此外,还有 江苏海岸药业/扬子江 、 石家庄四药 、 合肥亿帆生物 、 成都利尔药业 、上 海上药/海南合瑞制药 、 成都通德药业 、 山东百诺医药/山西普德药业 和 海南普利制药 等企业递交了拉考沙胺注射液的4类化药上市申请,尚在审评审批中。

截图来源:药融云中国药品审评数据库
参考来源:
[1] NMPA官网
[2] 药融云数据库
—END—