随着手机和电脑不断占据了我们的日常生活,低头族们的腰,颈,肩普遍存在或轻微,或严重的各种问题。综合下来,以我国大陆地区共13亿4000万人口来说,按40%的总发病率,各类不同程度的风湿骨病患者高达5亿人以上。风湿骨病市场,毫不夸张的说,实在是无比庞大。
而以“诚信为本,质量为天,用心服务,品类齐全”为经营特色的南京同仁堂号称可以解决国民风湿骨痛等问题,并为此研发了南京同仁堂植物修护精油来治疗该种病症。那么,南京同仁堂是一家怎样的企业?该公司为何遭到两次行政处罚?该公司的宣传广告为何构成严重欺诈行为?该公司的植物修护精油(后称修护精油)是否存在虚假宣传?有关奖金制度如何解读?

股权纠纷,企业吊销
据查,南京同仁堂药业有限责任公司(后称南京同仁堂)是一家以现代科技生产古方传统品种和综合新剂型,集科、工、贸为一体的中药企业。根据企查查资料显示,该公司创立于1998年11月9日,总部位于江苏南京西麓。该公司的注册资本为5000万元,实际出缴资额为5000万元,法定代表人为浩健。
关于南京同仁堂的股权变更问题,由启信宝资料得知,南京同仁堂在2020年9月22日存在股权变更。其中,关彦明的股权占比由原来的35%变为0%、红石国际健康产业有限公司的股权占比由原来的20%变为55%。在当时,南京同仁堂的股东分别为:关玉白、红石国际健康产业有限公司。

(图片来源: 启信宝)
但最新变更记录显示,2021年5月20日,关玉白退出,青岛宝昊科技有限公司与红石国际健康有限公司成为南京同仁堂的最终投资人。青岛宝昊科技有限公司与红石国际健康有限公司(后称红石公司)的持股比例分别为45%和55%。


在此之后,我们调查了南京同仁堂的股东之一——红石公司。经查发现,红石公司与成都蓉药实业集团有限公司(后称蓉药公司)于2017年11月22日存在股权转让的纠纷,最终红石公司败诉并赔偿蓉药公司人民币共91,041.41元。

(图片来源:启信宝)
说完了南京同仁堂的股权问题,接下来,我们来看看南京同仁堂的公司成员。南京同仁堂公司的主要成员有:孙怀东(董事长)、浩健(董事兼总经理)、关玉白(董事)等。

作为南京同仁堂的董事长,孙怀东名下共有25家企业,其中一家企业处于吊销状态,另外5家企业处于注销状态。


(图片来源:企查查)
南京同仁堂的法定代表人——浩健名下共有七家企业,其中三家企业处于吊销状态,一家企业处于注销状态。

(图片来源:企查查)
对外投资,行政处罚
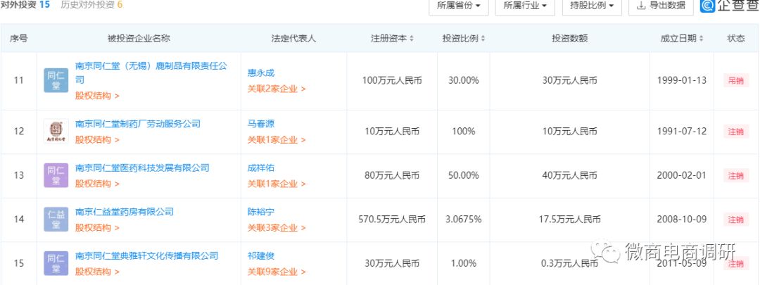
了解了南京同仁堂内部架构后,接下来我们看同仁堂对外的投资情况。根据企查查资料显示,南京同仁堂对外投资共15家企业,其中一家企业处于吊销状态,四家企业处于注销状态。

(图片来源:企查查)
而同仁堂投资的南京同仁堂绿金家园保健品有限公司(后称绿金家园公司)曾遭到五次行政处罚。

(图片来源:企查查)
绿金家园公司分别于2020年12月7日、2021年1月22日、2021年3月2日因标签、标示、说明书不符合规定的行为及从属受到罚款共38000元、没收违法所得共1617元、责令停止违法行为。于2020年6月18日因作虚假或者引人误解的商业宣传行为及其从属受到罚款100000元,于2021年1月22日因生产经营国家禁止的食品、食品添加剂、食品相关产品的行为及其从属受到罚款80000元、没收违法所得127.8元。

(图片来源:企查查)
且绿金家园公司在2020年6月4日因自身失信被限制高消费。

(图片来源:企查查)
该公司还欠城市维护建设税共99610.44元。

(图片来源:企查查)
说到行政处罚,南京同仁堂曾先后遭到两次行政处罚。据企查查显示,南京同仁堂于2021年4月28日因固体废物污染被处罚款人民币10.9万元并责令改正;于2019年7月2日遭到行政处罚,处罚原因为该公司使用了未经定期检验的压力容器,违反了我国《特种设备安全法》,因此,处罚机关——南京市雨花台区市场监督管理局对南京同仁堂实施罚款人民币10000元、停止违法行为的处罚内容。

(图片来源:启信宝)
投诉不断,构成欺诈
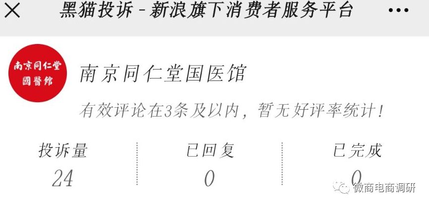
说完了南京同仁堂的发展历程,接下来我们看看南京同仁堂的对外宣传。通过黑猫投诉,我们看到南京同仁堂国医馆的投诉量多达24条。投诉内容多为南京同仁堂国医馆售卖假货,欺骗消费者,造成消费者身体以及精神上的创伤。

(图片来源:黑猫投诉)
且投诉南同仁堂国医馆虚假宣传的投诉量达到了20条。国医馆的产品出现多种问题,南京同仁堂国医馆对此却不做处理,不仅辱骂客户,还下架商品,或是更改商品宣传,更甚至是注销店铺。

(图片来源:黑猫投诉)
而国医馆的冬瓜荷叶茶、南京同仁堂清新美白小牙膏等产品存在虚假宣传、欺骗消费者的行为。


(图片来源:黑猫投诉)
根据我国《广告法》第四条规定:广 告不得含有虚假的内容,不得欺骗和误导消费者。第十九条规定:食品、 酒类、化妆品广告内容必须符合卫生许可的事项,并不得使用医疗用语或者与药品混淆的用语。《食品广 告法》第七条规定:食品广告不得出现与药品相混淆的用语,不得直接或者间接地宣传治疗作用,也不得宣传某些成份的作用明示或者暗示该食品的治疗作用。第十三条规定:普通食品、新资源食品、特殊营养品广告不得宣传保健功能,也不得借助宣传某些成份的作用明示或者暗示其保健作用。以普通食品宣称疗效,对广大患者构成误导和欺诈。根据我国《消费者权益保护法》第五十五条规定:经营者提供商品或者服务有欺诈行为的,应当按照消费者的要求增加赔偿其受到的损失,增加赔偿的金额为消费者购买商品的价款或者接受服务的费用的三倍,增加赔偿的金额不足无百元的为无百元。
且据搜狐网显示,2013年7月25日,南京同仁堂药业有限责任公司生产的“痔疮止血颗粒”被曝光存在严重欺骗、误导消费者的情节,被重庆市食品药品监督管理局要求暂停销售。

(图片来源:搜狐滚动)
记者从重庆市食品药品监管局网站曝光了一批违法发布药品广告的行为,其中,标示为“南京同仁堂药业有限责任公司”生产的“痔疮止血颗粒”被曝于2012年10月至2013年6月期间多次在重庆市媒体上发布严重违法药品广告,构成严重欺骗、误导消费者的情节。在该局2013年第2期违法药品医疗器械保健食品广告公告中显示,南京同仁堂药业有限责任公司生产的药品“痔疮止血颗粒”,其功能主治为“清解湿热,凉血止血。用于痔疮少量出血”。广告宣称“无论多么严重的痔疮,吃同仁堂痔疮止血颗粒,只需用水冲一杯下肚,立刻不痛,不痒,舒舒服服就能把豆大的痔疮治干净,效果和手术一样好”。该药品未取得药品广告批准文号长期多次发布虚假药品广告,以患者名义或形象为产品功效作证明,含有不科学地表示功效的断言或保证和促销药品等内容,严重欺骗和误导消费者。

标示该药品的药店为重庆市南坪华博健康药房、沙坪坝全发大药房、江北万鑫药房黄金海岸店和杨家坪天吉药房,违法广告发布次数为6次。根据《药品广告审查办法》和《药品广告审查发布标准》等相关规定,重庆市局研究决定对这些药品在重庆辖区内采取暂停销售措施。
然而,这并不是南京同仁堂痔疮止血颗粒首次在渝被查广告违法。今年4月份,该款药品广告以同样的原因上榜该局违法药品广告“黑名单”。事实上,在渝欺骗和误导消费者,仅是南京同仁堂痔疮止血颗粒多次广告违法的一例。中国网财经记者查阅资料发现,大江南北都可觅其违法广告踪迹,近年来屡遭地方监管部门查处。2013年以来,该药品不仅在重庆两次被查广告违法,而且还在福建、海南两省三次上榜违法药品广告名单。福建药监局指出,其广告违法内容为“表示功效的断言和保证”。2012年,南京同仁堂该款药品先后在广东、山东、安徽、天津、云南等省市被公开通报广告违法。在2012年济南市的定期违法药品广告通报中,南京同仁堂痔疮止血颗粒更是连续五次榜上有名。同样,其违法内容为“利用患者名义作证明的内容,不科学地表示功效的断言或者保证”。据记者不完全统计,近五年来,南京同仁堂该款产品的违法广告22次遭到地方监管部门查处,其中3次被暂停销售。
值得注意的是,由于在全国多地发布“篡改经审批的内容、绝对化夸大药品疗效、任意扩大药品适应症范围”的广告,南京同仁堂该款产品的广告批准文号已于2012年5月被撤销。
联手会野,吸引微商
据公开资料显示,修护精油与会野俱乐部有合作。会野俱乐部是一个带领商界精英探索未知、自我修养的IP,它所赋能的是一个内求战略中心、外求商业资源整合的“内外兼修”型深度社交场景,以“互联网+户外+社群+行为”为模式,打造中国企业家,新中产阶段、商界精英圈层的户外商业资源社交道场。

而会野俱乐部的很多会员都患有风湿骨痛等病痛,部分会员称,修护精油对他们的病痛有很好的调理作用。
2020年10月12日,南京同仁堂与会野俱乐部携手加入中国大健康联盟战营,共同发起【中国大健康联盟】会野国际T627|隔壁徒步挑战赛。南京同仁堂将赞助植物修护精油,在比赛过程中和赛事结束后,会野国际赛事组委会将精油免费发放至每个战队或者放在赛事补给点,满足徒友挑战戈壁时的健康需求。

据调查显示,修护精油的运营模式是社交新零售的商业模式,也 就 是新微商的模式,该模式不用代理囤货,由公司统一发货。 关于修护精油现行的具体制度,通过公司公开资料我们得知, 购买一瓶修护精油的价格为 168元; 升级为会员后购买两瓶以上的精油,每瓶精油将便宜30元; 升级为VIP会员后,每次需购买11瓶以上的精油,每瓶单价为108元。

且根据资料显示,同仁堂修护精油的代理主要有代理和公司两个大级别。每个大级别下各设有三个小分支。具体商业模式如下图所示:

纵然该商业模式看起来对代理商十分友好,但这里也有几项事项需要注意:
1.平推折让,由上级支付。
2.若代理商想要升级,需要在满架构的情况下,一次性拿够上级的数量,方可升级。
3.市公司的保底业绩是每年1000箱,省公司的保底业绩是每年3000箱。
4.运营中心、服务中心装修后验收达标的精油,支持每瓶1元。

团购折让中,购买300、1000、3000、5000、10000箱精油的折让分别为1元每瓶、2元每瓶、3元每瓶、4元每瓶、5元每瓶。

根据公司资料显示,成为该公司的代理商,还有豪车奖励与分红激励:

据悉,2020年七月成为代理商,有很大的扶持力度:成为金牌代理送32支精油;成为运营中心送192支精油;成为市级公司送384支精油;成为省级公司送50%房租。

而2020年8月推出的3+2政策,代理商只需投入5万元,其中三万用于门店房租、装修、人工、物料,2万用于精油的进货,整个项目即可启动。开店后公司还会安排对应部门同事,进行辅导和培训。
8月份前10家新开门店,每家门店支持2000元的房租补贴,后续考核优秀的门店,给予连续3个月的定向支持,3-12个月给予代理商无条件退货的政策支持。

对于上述奖金制度,本平台联系到了行业专家对其进行了解读:
第一,南京同仁堂的品牌肯定是花钱贴牌无疑,而且产品不是南京同仁堂出品,顶多只是南京同仁堂的下属公司(绿金家园、健康科技、乐家老铺等)总经销的产品而已。
二,单独价差一项(不算公司战区部分)的奖金拨比就高达65%。加上其他奖项,就会突破75%,只能靠虚高价格体系来支撑,同时还要靠业绩考核手段做拨比沉淀。
三,团队架构的三三制,就是拉人头概念。
四,高额价格空间诱惑大单投入,有违分享经济的的原则,并且会形成囤货现象,引发退货维权事件。
医用疗效?没有风险?
说完了修护精油的代理模式,接下来我们再来看看这款产品的资质。该修护精油宣称有七大特点:首创经络调理法、精选50+种地道药材、八种顶尖提取工艺、纳米级植物精油、专利技术、品质安全保障、一瓶精油20+疗效。据产品外包装显示,生产企业为广东海通药业有限公司,执行标准为GB/T 29990,生产许可证号为粤妆20170570。

但事实上,正如前文所述,该修护精油的执行标准为GB/T 29990,该标准范围仅适用于滋润、保护皮肤为主要目的的油状产品,并不具备某些特殊功效。对比之下,按摩精油的执行标准为GB/T 26516-2011。据悉,按摩精油的执行标准于2011年10月1日实施,适用于需要通过按摩基础油稀释后用于人体皮肤按摩和护理的按摩精油产品。
修护精油的生产许可证号是粤妆20170570,是妆字号,但该精油的20多种疗效主治风湿骨痛类疾病,《广告法》第十七条明确规定:除医疗、药品、医疗器械广告外,禁止其他任何广告涉及疾病治疗功能,并不得使用医疗用语或者易使推销的商品与药品、医疗器械相混淆的用语;《化妆品卫生监督条例》第十四条规定化妆品的广告宣传不得有下列内容:(一)化妆品名称、制法、效用或者性能有虚假夸大的;(二)使用他人名义保证或以暗示方法使人误解其效用的;(三)宣传医疗作用的。
修护精油宣称可以治疗脊椎病、宫寒、肩周炎、滑膜炎、腱鞘炎、急慢性扭挫伤、腰椎间盘突出、寒湿腰痛、足跟痛、老寒腿、网球肘、腰肌劳损、手脚麻木、坐骨神经痛等疾病。

而国家市场监管总局明确规定:化妆品宣传广告时不能宣称“痛风、头疼、腰肌劳损、缓解疲劳、肌肉拉伤等治疗病的作用。“精油主要是用于皮肤滋润、皮肤保洁的作用,但精油不是药品,也不是中药,在我国一直是化妆品的范畴,没有任何治病的疗效。”
为了吸引更多微商加盟,南京同仁堂公司还在宣传材料中提到了“无风险”这个字眼。

对此,我国《广告法》第二十五条规定:招商等有投资回报预期的商品或者服务广告,应当对可能存在的风险以及风险责任承担有合理提示或者警示,并不得含有下列内容:对未来效果、收益或者与其相关的情况作出保证性承诺,明示或者暗示保本、无风险或者保收益等。
虽然官方在宣传上十分的尽善尽美,不过在南京同仁堂的百度贴吧中,某些用户对其做出如下评价:

说到南京同仁堂的贴牌行为,通过该精油的外包装,我们了解到该精油的总经销商为南京同仁堂乐家老铺(菏泽)医药有限公司(后称菏泽公司)。在企查查通过搜索我们发现,菏泽公司的唯一股东为南京同仁堂乐家老铺健康科技有限公司,健康科技公司的法定代表人为宋萌萌,健康科技公司对之的持股比例为100%,而南京同仁堂药业有限公司的投资对象之一,则为健康科技公司。

而贴牌行为从我国法律关系上说,基本上属于一种加工承揽合同关系,根据我国合同法规定,加工承揽合同是承揽人按照定作人的要求完成工作,交付工作成果,定作人给付报酬的合同。而贴牌作为一种生产经营方式,其基本特征是一个企业委托另一个企业为其生产制造一定的产品,产品的质量和特性须符合委托方的要求,在商品上使用委托方的商标。因此,贴牌行为只要如实告知消费者自己的产品属于贴牌就是合法的。但贴牌后的三种行为是违法行为:一是产品本身质量不合格;二是贴牌后存在虚假宣传,例如声称该品牌在国外历史悠久、荣获国外某某金奖等。或者产品就在国内制作,贴牌后声称纯进口等;三是不使用中文说明,忽悠国内购买者。
在黑猫投诉里,由于南京同仁堂国医馆售卖的产品贴牌了南京同仁堂却并未向消费者说明,且国医馆的产品多因产品质量问题被投诉。

而诸如以下产品不仅在南京同仁堂的微官网里查无此号,且该类产品在销售时未表明为贴牌产品。

(图片来源:百度贴吧)
根据工商总局《欺诈消费者行为处罚办法》规定,经营者在向消费者提供商品中,有以虚假的商品说明、商品标准、实物样品等方式销售商品的,或者不以自己的真实名称和标记销售商品、利用广播电视电影报刊等大众传播媒介对商品作虚假宣传行为的,属于欺诈消费者行为。
通过该用户的反馈,我们在知乎上找到了一些贴牌方的联系方式,并通过其了解到了一部分贴牌南京同仁堂的产品的市场分销价格体系。

由此可知,尽管南京同仁堂的一些官方产品的代理制度完善,但由于南京同仁堂的知名度极高,一些贴牌了南京同仁堂的产品打着南京同仁堂的名号,不仅欺骗代理商,给代理商构画美好蓝图,且这些产品由于材料、工艺、生产许可证号等多方面的不合格,欺骗消费者,对消费者造成身体以及精神上的伤害。
后 记
近年来,随着违法广告数量的增多,国家对违法广告的把控监管力度也更加严格,若在广告宣传中含有无风险的表达,那么这则广告则需要更加警惕。消费者们要保持自身的判断能力,避免被巨大惊喜冲昏头脑。至于以“诚信为本,质量为天,用心服务,品类齐全”为经营特色的南京同仁堂今后会如何发展,微商电商调研将继续保持关注。
来源:微商电商调研
