阅读前请点击“ 关注”每天更新司法拍卖文章,让您不错过任何一次捡漏的机会。

处置单位:广东省深圳市中级人民法院
成交时间 :2020/07/07 11:57:00 107次延时
参与人数:6 人报名 380 人设置提醒 15946 次围观

标的物介绍
拍卖标的物详情 深圳市罗湖区凤凰路3号海珑华苑海天阁2620房
起 拍 价 : ¥1,613,018.75,保 证 金 : ¥300,000,评 估 价 : ¥1,613,018.75,加价幅度 : ¥7,000
详见不动产权资料电脑查询结果表;本院调查时发现,该房产暂无人居住。
建筑面积52.67平方米,用途住宅,性质商品房,截止2020年4月20日房产调查时,该房产暂无人居住,亦未有相关租约;可能产生的其他法律后果由竞买人承担,院负责清场。

特别提示
拍卖物建筑面积、性质、用途、是否拖欠地价及土地使用费等,以相关主管部门最后核实为准。拍卖物建筑面积如实际面积与登记面积不符,其风险由买受人自行承担。
标的物以实物现状为准,具体情况参见评估报告,法院不承担标的物的瑕疵保证。有意者请亲自实地看样,未看样的竞买人视为对本标的实物现状的确认,责任自负。

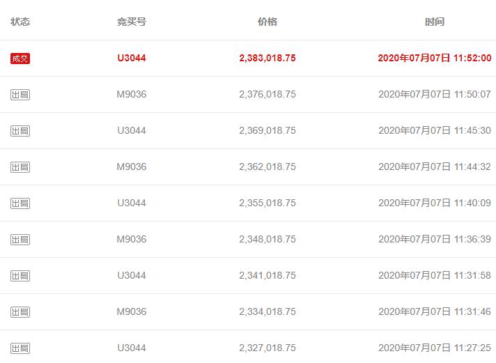
竞买记录
发稿截止已经有6人次报名参加竞拍,本次拍卖经过111次竞价,最终以2,383,018.75元被竞买号U3044用户竞拍成功。

竞价成功确认书
处置单位:广东省深圳市中级人民法院
标的物名称:深圳市罗湖区凤凰路3号海珑华苑海天阁2620房
网拍公告时间:2020/05/28 09:15:35
网拍开始时间:2020/07/06 10:00:00
网拍结束时间:2020/07/07 11:57:00

【网络拍卖竞价结果】
用户姓名刘某某通过竞买号U3044于2020年07月07日在广东省深圳市中级人民法院于阿里拍卖平台开展的“深圳市罗湖区凤凰路3号海珑华苑海天阁2620房”项目公开竞价中,以最高应价胜出。
该标的网络拍卖成交价格:¥2383018.75(贰佰叁拾捌万叁仟零壹拾捌元柒角伍分)

在网络拍卖中竞买成功的用户,必须依照标的物《竞买须知》、《竞买公告》要求,按时交付标的物网拍成交余款、办理相关手续。
标的物最终成交以广东省深圳市中级人民法院出具拍卖成交裁定为准。
小编寄语
最初起拍价:1,613,018.75元,本次拍卖最终成交价:2,383,018.75元,这个价格成交大家觉得捡漏吗?如果你有不同的看法,欢迎评论留言,你的观点对我很重要。如果喜欢我,就关注我吧!