
“年轻人,宇宙中有无穷无尽的问题等待你去发现。”
在南宁的老城区游荡,永远会有意外发现。
一次,我穿过一排崭新的楼宇来到一个老街区。两排挨着的自建房,人迹寥寥,好些房子近乎荒废,不远处的水泥路面被切开,裸着一片黄泥地——一切都在显示,这里正在*迁拆**。

所谓“街区”只有一条街,和后面的崭新的高楼形成对比。
但我面前的一栋楼却尤为独特:它的门窗均被拆除,大喇喇地敞着,二楼阳台上极高调地挂着一排白底黑字:“先进的地球人与外星人同乐部”。大厅横梁上则是:“拓荒地球神人好”。
墙上还有一块醒目的招贴,写着“(宇宙)谜题研博会”。

废楼门口摆着几张椅子,二楼的地板已被凿空,墙壁有火烧过的痕迹。
屋内陈设同样抓人眼球:1米高的碎石堆上供奉着几尊神像,有人往上方挂了霓虹灯条,意义不明。
往里走时,入口被堵住,我在原地等了2个小时,也没等到它的主人。

碎石堆上的神像。
两个月后再来,神像还在,但有关“外星人”的标语不见了。
屋里有个老伯,穿着白背心短裤,正打扫着地上的碎石,面无表情。我上前说明来意,问老伯房子是不是他的,他说是。
我又问他墙上的字是什么意思。他的眼睛明显闪过一丝喜悦,说整整两个月,总共就俩人对这里感兴趣,“你是其中一个”。
接着,他放下扫把,跟我聊了起来。

这回,废楼里亮起了灯。
一
南宁机械厂里的发明家
老伯姓朱,今年70岁,看起来依旧硬朗,讲话时中气十足,口齿清晰,透着一股近乎自负的自信,但不令人反感,让我想到《国产凌凌漆》里的达文西。
他自称“发明家”,写出了宇宙真理,却不被世人认可。他给我讲自己的发明,从“外太空”侃到“悬臂式三轮车”,从“哪吒风火轮”聊到“新冠病毒”,从下午讲到傍晚,似乎很久没人这么听他说话了。

聊到自己的发明创造时,朱伯的眼睛在发光。
谈话过程中,我渐渐了解到朱伯的生平。
他的父母是广西贵港人,有两儿两女,他排行老大。
上世纪50年代,一家六口为了谋生,搬来南宁。父母进了南宁缝纫机机架厂,和大多数工人家庭一样,日子过得紧巴,柴米油盐得省着用。
对于一个精打细算过日子的家庭来说,玩具是奢侈品。朱伯的父亲当时在车间小组上班,偶尔会带些零件回家,都是工厂淘汰下来的,他没想好怎么处理,只觉得弃之可惜。

朱伯的父母和兄弟姐妹的旧照。
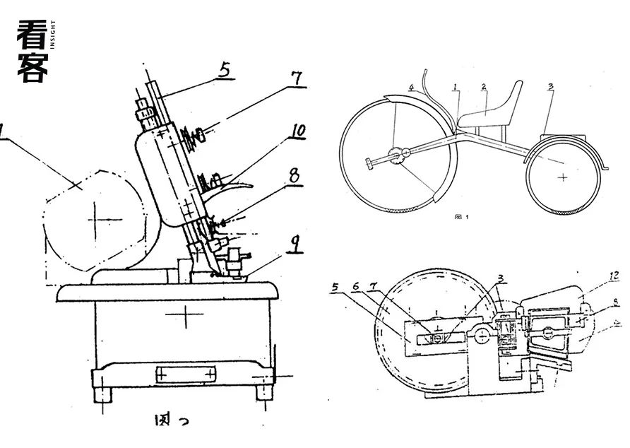
少年朱伯将那些零件视为珍宝,在父亲的耳濡目染下,他对这些叮叮当当的金属起了兴趣,不时拆个收音机捣鼓一番。后来到了80年代,朱伯用工资买下一辆轻便型摩托车,和5个好友骑行去隆安县,跑了130公里,他的摩托车油耗是所有人里最低的——这是改良后的产物。出发前,他发现车速和油耗的关系——车速越高,空气阻力越大,耗油量随之增加。通过电磁阀的操纵,约束气缸行程,他成功把车速限制在45km/h以内,达到了节油的目的。

说起这个,朱伯颇为得意。但话锋一转,又感叹起婚后很少有机会骑行。如今车子已经发不动了,放在家里积灰,妻子坚持让他卖掉,他舍不得,把摩托车搬到了隔壁的废楼里。
1965年,朱伯初中毕业,顺着当时的主流进厂当工人,在若干工厂中,选了最感兴趣的龙江机械厂。
那是一家军品工厂,筹建于“三线建设”时期。正式进厂前,先要在南宁冶矿厂的全钢车间当学徒,每月工资18块,朱伯说“已经很满足了”。后来工厂取消了学徒培训,直接去学校招工,他成了最后一批当学徒还能拿工资的人。
在工友的印象里,年轻时的朱伯爱动脑筋,学习能力也强,培训期间很快就掌握了机械零件的操作和使用,4个月后,他被分配到龙江机械厂的零件小组。
机械厂位于河池大石山一个名叫“牛峒”的山旮旯,交通不便,也没什么娱乐设施,领导要求“七进七出”,一天工作12小时,有时还要上夜班,伙食也不好。
聊到在厂里的日子,工友们都是吐槽和抱怨。只有朱伯觉得自在,他吃得饱,睡得好,闲时打打球弹弹琴,还在厂里认识了现在的妻子——她1970年进厂,和朱伯是老乡。
更重要的是,进了机械厂,他有更多的机械和零件可以倒腾了。

机械厂的产品系列。
零件小组负责加工枪支弹仓、弹簧等零件,朱伯适应了车间的工作,很快就接到了一个艰巨的任务。当时厂里要生产销钉(枪械零件),但作为生产工具的倒角机只能手动倒角,速度慢,效率低,上级希望车间小组可以“改进改进”。朱伯有热情,也勤奋,车间师傅赏识他,便默认交给他来做。
头一回独立设计大型机械,朱伯心里没底,最初几个月,他一门心思研究机械构造理论,摸透了,才敢起草设计规划方案。
但到了实践中,“完美的方案”却出了不少问题:要保证倒角机加工物件和刀盘的中心线准确不变,夹模和刀盘需要精巧的设计和严格的尺寸计算,稍有差错,又要重新查资料,反复修改方案,试验可行性。
一边是车间的生产,一边是倒角机的研发,朱伯每天被任务占满,但他自称“全能选手”,整个过程,除了电工师傅帮忙焊接零件,其余部分,都是他独自完成的。


画图稿、设计倒角机的朱伯。
一年多后,自动倒角机正式完工,自动进料、自动夹持、自动进退刀,加工速度和精确度大大提升,第一次实现了销钉倒角的全自动化。
厂里的领导很满意,写了表扬信寄到当时的“五机部”(第五机械工业部,1982年5月改名为兵器工业部),朱伯拿到50元奖金,是他两个月的工资。颁奖那天,车间的20多个工友都为他高兴,组长还过来和他握手:“我就知道你能做成功,你真是为我们组争光了。”工厂宣传部闻讯赶来,表彰的报道很快就出现在宣传栏上。
随后,朱伯被提拔为技术革新工人,他有点惊喜,有点意外——在工厂干了10年,这样的升迁一共有2次,他的工资从28块涨到42块。
可就在他磨拳霍霍,想着继续大展拳脚之际,工厂办不下去了。
二
“龙缘世界发明创新点项目”
70年代初,机械厂的效益日益低下,工友们各奔东西。1976年,朱伯和妻子也回到南宁,次年领了结婚证,在西乡塘区盖了一栋房子安顿下来。
为了维持生计,妻子在交易市场租了个摊位,卖自己做的衣服,但老式缝纫机一天只能做6件,远远跟不上需求。

朱伯成家后建起了自己的房子,一共四层。
朱伯决定为妻子做一台更方便实用的缝纫机。父亲当时还在缝纫机厂工作,能提供技术、零件、模具方面的支持。
在父亲的帮衬下,他只用了3个月,就完成了新发明——“三线包缝机”。这台机器优化了送布、针杆、穿线点等机构,能同时进行包缝机裁和缝纫,适配多种面料之余,还能防止缝头起毛。
有了这台机器,妻子一天可以缝制10来件衣服,效率大大提高。而后,朱伯的父亲将新机器引进到缝纫机厂,厂里决定投产100台用于出售。
不久后,国家专利局成立,1985年专利法正式实行,朱伯觉得自己的发明应该受到保护,带着三线包缝机的设计图纸去申请了专利,成了最早一批去专利局申请专利的人。

朱伯说,机械设计的关键在于重心的把握。他从地上捡起一件废品,给我演示了起来。
这事传开以后,家人朋友都一致认可他的发明天赋。仰仗着自己在发明创造上的才华,朱伯不打算找工作了——既然在科学之路上大有作为,就不应困在琐碎的工作岗位上。
成了“无业游民”的朱伯,偶尔和妻子一起摆摊卖衣服,还揽下了家务。1980到1986年间,他陆续起稿,设计了“悬臂式三轮自行车”和“切肉片机”,灵感都来自日常生活。
当时朱伯出行主要靠一辆老式“二八”自行车,车身笨重,速度又慢,提速全靠蛮蹬。“悬臂三轮车”就不同了,内置的车轮变速机构,能在提速之余,节省力气。
“切肉片机”则是他做饭时想到的。手工切肉,费时不说,切完后,手上还会留下肉腥味,有了切肉片机,就解放双手了——把肉放在机器案板上,按下开关,刀体横向往返,进行杠杆式运动,继而完成切肉工作,省时卫生。
我惊叹于朱伯的巧思,提出看看设计手稿,他摆摆手,说草图早就压箱底了,要花很多时间才能找出来,“你去专利局查,能查到”。
一搜,果然看到了他在1987年提交的专利申请记录。

朱伯提交的专利申请记录及设计图纸。
然而,这两项发明并不顺利,朱伯总结道:“搞发明不是一个人的事,需要多方的配合和支持。”
当时,老父亲已从缝纫机厂退休,没了拉关系、跑许可的人,朱伯自己又没正式工作,而各项程序,又都需要审批、核实之后才能开展。最终,切肉片机和悬臂式自行车,都停在了理论阶段。
说起这个,朱伯有点丧气:“很多东西不是你想做就能做出来的,需要天时地利人和,我有什么办法呢?”
那一年,他37岁,接近不惑。在日益无聊的日子里,每天到妻子的缝纫店搬货,打下手,余下时间,画画设计图,算是找点事干。

朱伯的生活很简单,面条里配几片肉、几根青菜,就是一顿。
80年代,科幻热潮席卷全国,《飞碟探索》一经推出便风行一时,神异故事、江湖传说满天飞。到所有人都练上气功时,传闻就更多了,民间大师如雨后春笋,冒出一片。整个神州大地光怪陆离。这些朱伯虽然从来不看,但也还是有所耳闻的。后来,他终于也灵光乍现了一回。
一次起草设计图时,他留意到一个此前并未关注的细节:所有的笔触都起源于一个点,有了点之后,才有线和面。
他受到启发,由此联想到头上那片宇宙:“太阳是圆、星星是点、流星是线,也就是说,圆+点+线,构成了整个宇宙。”
一种难于名状的震动在胸中炸开,接下来一段时间,他的思考层层递进,最终彻底引向了形而上——“宇宙出现后就有了点,从点开始,渐渐有了生物,有了生物就有人群,有了人群就出现社会管理,再来就有了理念、法念、真理、焦点……”
照他的说法:“我现在等于是写了天书的目录!”
写出了“宇宙真理”的朱伯很高兴。为了向世人阐释自己的理论,他自创了一套符号:O代表太阳,“O内有无穷无尽的点,代表着宇宙无穷无尽的问题”;点延伸出来的线构成了△,“三角形是最稳固的,宇宙和真理必须用

来表示”。
他将之视作自己最了不起的发明:“

是一种世界文字,是几何、数学、物理、化学、生物、时间、空间的共存体。它是唯一的,任何文字都代替不了——不是我夸张,你以后必然会用到这个符号,你们不承认都不行。”
说完,他顿了几秒,问:“说了这么多,你听明白没有?”
研究多了,朱伯的小宇宙也爆发了,80年代末,他的研究转向外星人。他相信,外星人——或者按他的说法,“拓荒地球的祖先”——是完全有可能存在的。“它们是从木星迁到火星,再到地球的,我们就是外星人的后代”。
为了证明这并非天马行空,他展示了推理的过程:宇宙从热变冷,南极曾被森林覆盖,之后又提到后羿射日、红孩儿风火轮,意在说明远古时期的地球,生存环境恶劣,而后羿等人,就是从外星迁来地球的祖先,“把地球开垦得适宜居住”。接着又说,“神话故事不完全是虚构的,而是人依据事实改编的,故事里的神仙就是人类的祖先,只不过是人类把祖先神化了而已”。
朱伯语气笃定,号称全世界都没人像他这样论证,“直接*翻推**了达尔文进化论”,而能有此成果,其实是“神”在背后指引他思考。

朱伯在2020年2月的最新研究。
进入90年代,在“神”的指引下,他开始了“数字理论”的研究。他要创立一种世界语言,不用英文字母,而是用数字代替文字,供人交流。朱伯说:“数字是真理的一部分,用数字作为世界语,这是我最早提出的。”
他试图用数字代替《新华字典》里的11200个汉字,至今尚未完工。
1996年的一天,一则电视新闻让他备受鼓舞。新闻里说,国家要大力发展“数字经济政策”,他觉得这不是巧合,“领导人也许看过我的数字理论”。

如今朱伯仍保持着每天看新闻的习惯。
朱伯说,这并非他的凭空猜测,他曾经将自己的理论写到信上,请社区书记寄给国家领导,但没有音讯;后来,他又找隔壁教书的老师交流,“老师没有反驳也没有认可”。
初到街区时,邻居张婶觉得朱伯动手能力挺强的,“儿子出生的时候,他还亲手做了一辆童车”。后来,她就越发不能理解朱伯了——他逢人就讲创新发明、宇宙真理,也不干活。邻居陈叔听够了,开始不耐烦,直接说他“神经病”,朱伯渐渐和他断了来往。
朱伯更喜欢找以前的工友。退休后,他固定在每周一早晨,骑电单车去4公里外的工友家喝茶叙旧。每回听他讲宇宙真理,工友们都很沉默,他也不在意,觉得工友嘴上不表态,心里肯定是认同自己的。

朱伯和工友们聊天叙旧。

话题说到发明创造时,朱伯总会滔滔不绝。我不明白的地方,他会不厌其烦地解释。临走时,他递给我一张宣传单,说上面是他从60年代以来的创新发明项目。
“宇宙真理写一万年也写不完,时间和空间是无限的,整个宇宙有太多要解的迷题。”他和我互留了手机号码,叫我回去好好想想他说过的话,有什么不明白的,可以再来问他。

清单里有一句总结:世界像时钟。朱伯说“人的出生是从零开始,零是原点,也是周期。从出生到死亡是一个循环,就像时钟。”
宣传单的标题叫“龙缘世界发明创新点项目”,朱伯说自己和“龙”有缘,所以叫“龙缘世界”。
一长串的清单里,远到宇宙真理、外星人拓荒,近到水土流失、机械抓鼠,涉及环境、生活、物理、哲学等方面,甚至还紧跟时事,研究起“高/低海拔地区冠状病毒的发展趋势”。
“蟋蟀饲养与格斗”是他在1999年开展的项目。那时,朱伯沉迷蟋蟀格斗,从野外捕了好多回家饲养。“我把捉回来的蟋蟀当太公来照顾,湿度、干度、气体都有讲究,要保证蟋蟀身体健康、情绪稳定”。
提到蟋蟀,他又开始长篇大论,认为蟋蟀格斗赛有益长寿,不仅“增强人体应变力”,还“锻炼头脑、肢体,激发情绪活力”。他说自己专门设计了一款格斗器皿,底部为太极图形,“让人在观赛时,不被输赢左右情绪,从而利于身心健康”。
朱伯认为,蟋蟀格斗大有文章,“格斗赛要挑处于兴奋期的蟋蟀,我带它们参加过很多格斗赛,几乎没输过,赢了不少钱”。接着,他压低声音,神秘兮兮地问我:“你知道吗,战斗蟋蟀经过核辐射后,会有‘阉了’的效果,战斗力很强,你知道谁才有核辐射吗,都是高等人。”

朱伯说,全世界没人像他这样论证真理。
自从迷上了蟋蟀格斗后,朱伯彻底惹恼了妻子。以往,他还会到帮着料理服装摊,如今就只知道赌蟋蟀。妻子痛斥他不务正业、玩物丧志,见朱伯屡劝不听,就每天提心吊胆,怕他会把钱输光。最后实在没办法,她联合起一家人,把朱伯训斥了一顿。
那天,蟋蟀都被抢走放了生,笼子也被摔了个稀烂。朱伯万般委屈,但也没再说什么。
提起妻子,朱伯话不多。他觉得两个人没有共同话题,尤其是婚后,妻子说话越来越阴阳怪气,觉得自己是“阴差阳错娶了她”。
直至话题回到工厂,他才重新振奋,说那时最感谢两个人,一个是传授他知识的老师傅,另一个是他频频提起的女班长。女班长和他年纪相仿,工作中愿意信任朱伯,给了他足够的空间去发挥,每回厂里举办集体活动,她都默许朱伯不参加。创新遇到障碍时,还写信鼓励他。朱伯也十分欣赏班长,她既能和自己讨论机械制造,又能歌善舞,业余时间,他常常和班长一起弹吉他唱歌。当年没有追求班长,他有点后悔。

见面时朱伯给我弹唱了一首《在那遥远的地方》,这是在机械厂跟工友学的。
三
等待同道中人的
“发明创新主题展览馆”,塌了
朱伯不再玩蟋蟀后,在创新发明上也收敛了许多。
2010年,他满60岁,办了退休手续,妻子的服装摊也转让了。儿女都成了家,往后的日子,他全心在家带孙子。每天起得很早,打扫卫生,买菜,吃午饭,饭后眯一觉,看看电视,准备晚饭,饭毕,再带孙子去散步,如此日复日。
近年,他重拾了研究的兴趣,但大都是过往思考的延伸和总结,步入70岁后,他思考得更多的是和自己相关的问题,诸如养老模式、卫生健康、农业问题等等。但也仅仅是猜想和假设。

退休后的朱伯。
一年前,交通局来*地征**修路,邻里街坊陆续搬走,只留下几户人家。隔壁一栋3层小楼早年是个粽子作坊,朱伯也不晓得主人是谁,只知道人搬走后,房子就废了,有人来这烤火,把墙熏黑了,街坊邻居纷纷往这倾倒垃圾。
今年上半年,朱伯的皮肤开始瘙痒,他觉得是隔壁的“晦气”造成的,便决心要好好拾掇这房子,先是把垃圾搬走,把碎石扫到角落,又从附近废墟捡来一些山水画做装饰。此后,再也没有人往这扔垃圾了。

捡来的山水画
为了“物尽其用,不浪费土地资源”,朱伯根据废楼里的“布局和空气流动”,在楼顶种了一片青菜,在房间里养了几只鸡。神像是他陆续捡来的。虽是无神论者,但他坚信“神仙都是人类的祖先,要敬畏他们”,于是捡来花瓶和彩灯,以示敬意。
见我掏出手机要拍照,他转身从外面摘来两束三角梅,插在神像旁的花瓶里,“这样更好看,像艺术品”,接着打开了霓虹灯的开关,紫色、蓝色、红色,彩灯忽闪,在昏暗里交替闪烁,仿佛置身电影。

入夜,神像上方闪着五彩的光。
朱伯喜欢到废楼独处。每天吃完早饭,就来给芥菜浇水,喂鸡饲料;下午4点,过来打扫房间;晚饭后,把彩灯全部打开,坐在门口,独自欣赏。
他还有一个想法:要把这里改造成“发明创新主题展览馆”,招待志同道合的朋友。
因为敬重“有开拓精神的先辈”,他在门口贴上“拓荒地球神人好”、“先进的外星人与地球人同乐部”,希望能吸引同道中人。
一个40多岁的中年男人曾经驻足,他自称是“中华精武国术协会的会长”,路过看到神像和文字,心生好奇,和朱伯交流了一番,虽然只认同他的部分观点,但二人还是互留了电话。
然而,没等到第3个同道中人出现,“发明创新主题展览馆”就遭遇了挫折。
那是9月的一天,朱伯一早来打扫,发现墙上的标语都被撕了,问了邻居,才知道是社区的工作人员干的。没了标语,废楼失色了许多,朱伯急了眼:“我们搞发明的应该发达到让人眼红,为何被当成神经病?”
后来我再去拜访时,他仍愤愤不平,说现在的人都太缺乏钻研和探究精神了,没有人和他交流天文地理,世人只知道眼前的蝇头小利,希望我可以去社区里帮他宣传,让他得到该有的尊重。

朱伯养的鸡。
今年下半年,*迁拆**队来得越来越频繁,很快,推土机来到了“发明创新主题展览馆”跟前,楼体轰然塌进地面,留下一地碎石瓦砾。
赶在楼房碎成粉尘之前,朱伯把楼顶的菜摘了,鸡也杀了吃了,又将神像和彩灯逐一抢救出去,堆在自家角落里——家人不许他再摆出来。
废楼拆除后,我和朱伯碰了面。他穿了一身洗得很旧的蓝色工装,袖口有些褪色和脱线,但仍然板正。没了菜地和鸡笼,他也就没了去处,只好邀请我去家里坐坐。

朱伯家后面的土地也开始了施工,这片街区也许就要不存在了。
儿子成家后,朱伯家的4层楼住不下了,他用砖头在顶楼加盖了一层8平方的小屋,独自住了进去。另一半空间被改建成厨房,厨具陈旧简陋,但也井井有条。

朱伯在楼顶加盖的小屋。

厨房由铁皮和木板改造而成。
我在灶台下看到一只白色小桶,两边各开了一洞,原来是朱伯的最新发明——“机械抓鼠装置”。
家里老鼠猖狂,他很是头疼,但又不想用老鼠药,觉得“自己动手才有成就感”。于是买来10个老鼠夹,装在塑料桶里,原理跟捕鼠夹相似:“把吃不完的剩饭倒进桶里,引诱老鼠上钩就行。”他说这个发明更实用,免去了老鼠药死在角落里直到发臭也找不到尸体的烦恼。

朱伯的抓鼠装置。

用塑料瓶做的筷子筒。
我随朱伯参观了他的客厅、房间,最后来到了库房。里面堆了些麻袋,是早年妻子做服装生意时剩的存货。朱伯打开其中一个,选了几件衣服,说要送给我。
我谢过朱伯,搞不懂他为何愿意如此信任我这样一个陌生人。朱伯只是笑笑,说从来没有人相信他说的话,“凭这一点,即使你是间谍,我也不会防备的”。
我离开的时候,他语重心长地对我说:“年轻人,宇宙中有无穷无尽的问题等待你去发现,我们的前辈只是开了个头,等着你们这一代去续写和开拓。”
我点点头。
不知道如今,他找到了同道者没有。
作者 雷宝珠(朱宝蕾)