本田的发动机有多可靠,一句“买发动机送车”的调侃便可见一二。可近年来,汽车圈内翻车的品牌还少吗?
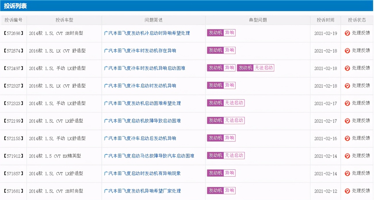
《汽车专业网》编辑注意到,最近,广汽本田旗下明星车型——飞度便出现了大量关于发动机问题的投诉。有车主表示:发动机冷启动时,有百分之五十的概率,会出现哒哒哒的异响。据本网以及第三方汽车投诉平台中的反馈来看,车辆冷启动发动机异响、困难几乎是2014款飞度车型的通病。值得一提的是,2014款本田飞度车型的发动机异响等问题由来已久,截至目前,第三方汽车投诉平台对该问题的投诉已经超过1500例。

2020年8月,*四代第**飞度上市,之后销量一路走高且风评尚好。但老款车型的车主却还生活在“水深火热”当中,同样都顶着“神车”的光环,老车主显然不太舒服。
即是通病,为何还不召回?
2014款飞度车型车辆冷启动发动机异响的问题由来已久,早在2018年就有媒体对此进行过报道。而最近,飞度更因该款车型的冷启动发动机异响问题而遭到大量投诉。

有车主投诉中表示:“每天冷车第一次启动车辆,或者当天停车三四小时以上,再次启动汽车会发出类似的齿轮打齿声,持续几秒左右。和其他飞度车友交流,很多有类似情况。
另有车主表示:“发动机在启动过程中会发生卡拉卡拉的异响。此异响为vtc执行器内部有破裂。严重会导致发动机行驶道路中熄火。此异响发生频率较高。每天早上启动着车都有”。

据网络上该款车型车主反馈,一些车主认为,此问题是本田VTC配件设计缺陷,VTC盘存在问题,严重打齿会导致执行器破碎开裂,导致车辆发动机损坏,异响声音频繁。
多年来,飞度一直顶着“神车”的帽子,销量在小型汽车当中也位居前列,2014款飞度的使用者不在少数,发现发动机问题的车主群体也比较庞大。那么,本田对此置之不理真的是明智的吗?
身处召回漩涡,本田如何立口碑
2014款飞度车型的问题尚无回应,但本田近年来却深陷召回漩涡。2017年全新CR-V出现“刹车门”召回3万多台。2018年由于1.5T“机油门”召回包含13万辆CR-V、30万辆思域、10万辆冠道在内的几乎所有该系列发动机。2019年雅阁突发“失速门”,悉数召回22万余台。
而2020年,本田更成为了召回大户。据统计,2020年,国家缺陷产品管理中心共发布了146条汽车召回公告,涉及65个汽车品牌,召回车辆超过678万台。其中,本田以194.6万辆位居所有汽车品牌第一。

当然,困扰日系绝大部分车企的电装燃油泵是本田成为召回大户的关键原因。但不可否认的是,近年来的本田确实并不令人省心。
不过,车企对产品的召回总归是一种亲近消费者的做法,相比置之不理或者冷处理的做法要好得多,也更容易让人认同品牌的责任感。2014款飞度的发动机问题已搁置已久,本田是否该有所动作了呢?还是说,*四代第**飞度上市后销量不错,本田已经放弃对老车主的维护?