本文由口腔器械知识站提供
产业数据
1.【境外消息】到2030年,牙科感染控制产品市场将达到23亿美元
标签:#牙科
数据显示,2022年全球牙科感染控制产品市场估计为13 亿美元,预计到2030年将达到23 亿美元,复合年增长率为6.9 %(分析期为2022-2030年)。美国市场预计达到4.676亿美元。中国预计达到2.779 亿美元,复合年增长率为9.5%。日本、加拿大、德国预计分别增长5.8% 、6.5%和6.3%。
Data shows that the global dental infection control product market is estimated to be $1.3 billion in 2022, and is expected to reach $2.3 billion by 2030, with a compound annual growth rate of 6.9% (analysis period 2022-2030). The US market is expected to reach $467.6 million. China is expected to reach 277.9 million US dollars, with a compound annual growth rate of 9.5%. Japan, Canada, and Germany are expected to grow by 5.8%, 6.5%, and 6.3% respectively.
2.2022年安徽省医疗器械产业发展数据
标签:#医疗器械

2018-2022年安徽省医疗器械产业规模情况(单位:亿元)
据众成数科(JOINCHAIN)统计,安徽省2022年医疗器械产业规模达到329.7亿元,在全国排名第12名,占全国总产业规模的2.54%,2018-2022年复合增长率为24.53%。2022年出口额为99.19亿元,同比下降32.96%,2018-2022年出口额复合增长率为27.23%。进口额为42.91亿元,同比增长8.86%,复合增长率为17.88%。
产品资讯
3.【境外消息】Maridia推出了用于镶嵌牙齿的“Mark CC”金刚石棒
标签:#牙科

日本牙科金刚石车针制造商Maridia推出了用于牙齿镶嵌的“Mark CC”金刚石棒,可以通过直接在棒的膜片上进行激光打标来检查垂直方向的腔体深度。“CC”标记为圆锥形状,条形端部边缘呈圆形,在距钻石尖端2.0mm处标记有0.5mm宽的黑色刻度。
일본 치과용 금강석 바늘 제조업체인 마리디아는 봉의 필름에 직접 레이저 레이저를 찍어 수직 방향의 챔버 깊이를 검사할 수 있는 치아 상감용'마크 CC'금강석 봉을 선보였다."CC" 는 원추형으로 표시되며 막대 끝부분의 가장자리는 원형이고 다이아몬드의 첨단으로부터 2.0mm 떨어진 곳에는 0.5mm 너비의 검은색 눈금이 표시되어 있다.
4.【境外消息】透明对准器系统Spark Clear Aligners Release 14重要功能更新
标签:#牙科

创新正畸产品领导者Ormco推出Spark Clear Aligners Release 14。Spark Aligner系统作为一个开放平台,无缝适应所有领先口腔内扫描仪的扫描,现在使用新版本Spark Approver Web可以随时随地访问和修改案例,通过Spark Approver与DEXIS IOS无缝集成优化的开放平台,可以简化工作流程。
Innovative orthodontic product leader Ormco launches Spark Clear Aligners Release 14. The Spark Aligner system, as an open platform, seamlessly adapts to the scanning of all leading oral scanners. With the new version of Spark Approver Web, cases can be accessed and modified anytime, anywhere. Through the seamless integration and optimization of Spark Approver and DEXIS IOS, the open platform can simplify workflow.
新型材料
5.德国Dental Direkt双系列多层渐变色氧化锆新材料获批上市!
标签:#口腔

德国Dental Direkt的两大系列多层渐变色氧化锆DDCubeONE ML、DDCubeX2 ML及全系列染色剂喜获中国NMPA二类医疗器械注册证 (国械注进20232170340)。
前沿技术
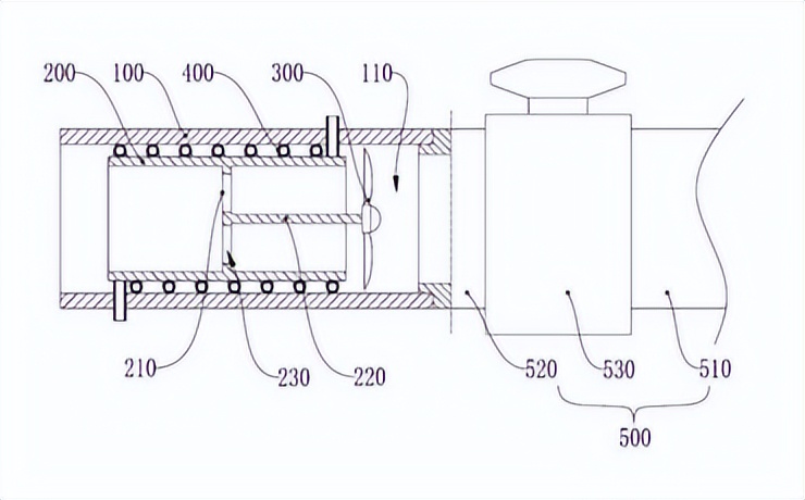
6.一种根管预备机的电机与弯机头连接组件
标签:#根管

佛山市知行医疗科技有限公司公开了一种根管预备机的电机与弯机头连接组件。弯机头连接件旋转的过程中,由于弹簧的张力,弹簧上端的弯机头连接件与下端的电机连接件都与弹簧有稳定的接触;并且金属弹簧的外层镀了一层镍,使得弹簧自身的导电性能得到提高,同时也提高了弯机头连接件与电机连接件之间的导电性;从而确保了电信号可以稳定有效地从弯机头上端传到电机连接件上。
7.一种使用无菌水源的阻生齿拔牙手机
标签:#牙椅

深圳市康钛医疗科技有限公司公开了一种使用无菌水源的阻生齿拔牙手机。该手机操作简单,性能稳定,可以和牙椅配备的高速手机互换使用,能与脚踏开关控制完全契合;该手机与口腔治疗无菌水源的可调装置配套使用,作用是拔牙时避免因水源不洁净而造成的感染。
8.一种牙科综合治疗仪的供热装置
标签:#牙科综合治疗仪

佛山市双辉科技有限公司公开了一种牙科综合治疗仪的供热装置。在该供热装置中,气流流动时带动风轮转动,风轮的转动带动摩擦筒在风道内转动,使摩擦筒的外壁与摩擦发热水管摩擦,实现摩擦筒与摩擦发热水管摩擦发热,进而使摩擦发热水管内流经的水吸收热量后升温。该装置合理利用风能产热,可一定程度上提高水的温度,减少风能浪费。
行业动态
9.【境外消息】Angel Aligner通过与3Shape的全球合作伙伴关系加速扩张
标签:#orthodontic
Angel Aligner和3Shape宣布建立全球战略合作伙伴关系,旨在提高他们在全球范围内为数字化正畸患者提供服务的能力。这项合作旨在通过使用3Shape扫描仪,让全球与Angel Aligner相关的临床医生只需点击一个按钮就能够轻松地将患者图像上传到Angel Align基于云的数字正畸平台。与此同时,3Shape在世界各地的正畸客户将体验到Angel Aligner广泛的清晰矫正器解决方案的无缝访问,从而优化和简化他们的操作流程。
Angel Aligner and 3Shape have jointly announced a global strategic partnership with the aim of enhancing their capacity to serve digitalorthodonticspatients on a worldwide scale. This collaboration aims to empower clinicians associated with Angel Aligner across the globe by allowing them to effortlessly upload patient images to Angel Aligner’s cloud-based digital orthodontic platform through the utilization of 3Shape scanners, all with a simple click of a button. Concurrently, orthodontic clients of 3Shape across the world will experience seamless access to Angel Aligner’s extensive clear aligner solutions, thus optimizing and streamlining their operational processes.
10.【境外消息】Vatech宣布通过Henry Schein分销其产品
标签:#牙科
牙科成像公司Vatech最近宣布与 Henry Schein 合作分销其先进产品线,旨在提高创新牙科解决方案在北美诊所的可及性。Vatech为Henry Schein客户提供的产品包括Green CT,这是一种最先进的低剂量锥形束解决方案,以其快速扫描能力和高分辨率图像质量而闻名。还包括EzRay Air,这是一种利用CNT X射线技术的尖端口腔内X射线解决方案和成像中心。
Vatech, a prominent player in the global dental imaging market, has recently revealed its collaboration with Henry Schein for the distribution of its advanced product line, aimed at enhancing the accessibility of innovative dental solutions across North American clinics.Vatech’s comprehensive range of offerings to Henry Schein’s clientele encompasses Green CT, a state-of-the-art low-dose cone beam solution renowned for its swift scanning capabilities and high-resolution image quality. Additionally, their portfolio includes EzRay Air, a cutting-edge intraoral X-ray solution and imaging center leveraging CNT X-ray technology.
11.【境外消息】Henry Schein报告第二季度牙科销售增长,医疗收入下降
标签:#Dental Instruments
牙科器械公司Henry Schein本季度全球牙科销售额总计20亿美元,同比增长5.6%。Henry Schein将这一增长归因于其北美牙科业务和患者流量的增加。
Dental equipment company Henry Schein's global dental sales totaled $2 billion this quarter, a year-on-year increase of 5.6%. Henry Schein attributed this growth to an increase in his North American dental business and patient traffic.
12.【境外消息】Vatech Msys 2023年第二季度财报公告
标签:#牙科
牙科诊断设备公司Vatech8月8日公布了第二季度业绩。Vatech 2023年第二季度销售额为1019亿韩元, 营业利润为197亿韩元。 销售额和营业利润同比增长-4.4%和-14.2% ,但环比增长12.1%和40.6% ,同期营业利润率为19.4%。
치과 진단 장비 회사 인 Vatech는 8 월 8 일 2 분기 실적을 발표했습니다.바텍은 2023년 2분기 매출 1천19억원, 영업이익 197억원을 기록했다.매출액과 영업이익은 전년 동기 대비 -4.4%와 -14.2% 증가했으나 전월 대비 12.1%와 40.6% 증가해 같은 기간 영업이익률은 19.4%를 기록했다.
13.【境外消息】SmileDirectClub报告2023年第二季度财务业绩
标签:#口腔
口腔护理公司SmileDirectClub 8月8日公布了第二季度财务业绩,总收入为1.02亿美元,比2023年第一季度下降15.0%,比去年同期下降19.1%。尽管 2023 年第一季度的表现超出预期,但与去年相比,季节性环比下降有所改善。第二季度独特矫正器出货量为46,774 台,比2023年第一季度的 59,645 台出货量环比下降 21.6%,与第一季度至第二季度的历史季节性趋势一致。
Oral care company SmileDirectClub announced its second quarter financial results on August 8th, with a total revenue of $102 million, a decrease of 15.0% from the first quarter of 2023 and a decrease of 19.1% from the same period last year. Although the performance in the first quarter of 2023 exceeded expectations, the seasonal month on month decline has improved compared to last year. The shipment volume of unique braces in the second quarter was 46774 units, a decrease of 21.6% compared to the 59645 units shipped in the first quarter of 2023, consistent with the historical seasonal trend from the first quarter to the second quarter.
14.medentisx六和口腔联合共建德国口腔标准
标签:#升级 #数字化 #方案

近日,在六和口腔医院开业盛典暨品牌升级发布仪式上,六和口腔医院宣布与德国门登特斯集团达成战略合作,并重磅发布:德国一站式原厂种植修复闭环,践行全德系全原厂标准。德国一站式原厂种植修复闭环是涵盖种植体、基台、牙冠、护理与质保的种植修复一体化解决方案。这项闭环标准的推出和应用,是双方联合打造德标种植牙服务的切实行动。
展会资讯
15.【境外消息】中国将于10月举办为期四天的世界牙科技术博览会
标签:#dental

第26届中国国际牙科设备、技术与产品展览会将于2023年10月14日至17日在上海世博会展中心举行。本次展览的主要亮点之一将是推出开创性的研究和开创性的产品。Invisalign的创始人Align Technology和以牙科粘合剂和复合材料闻名的3M口腔护理公司等知名公司将展示其最新产品。
The 26th China International Dental Equipment, Technology and Products Exhibition will be held from October 14th to 17th, 2023 at the Shanghai World Expo Exhibition Center. One of the main highlights of this exhibition will be the launch of groundbreaking research and innovative products. Invialign's founder, Align Technology, and well-known companies such as 3M Dental Care, known for its dental adhesives and composite materials, will showcase their latest products.
市场商机
16.四川大学华西口腔医院牙科显微镜、光固化灯竞争性磋商采购公告
标签:#牙科
四川大学华西口腔医院采购1台牙科显微镜和40台光固化灯,供应商应在8月21日前递交报名相关资料到华西口腔医院设备部,磋商日期另行通知。
17.河北医科大学第四医院口腔科牙科用弯手机采购项目询比公告
标签:#牙科
河北医科大学第四医院口腔科采购牙科用弯手机,供应商应在8月11日前将相关报名资料发送至邮箱hbzj86063928816@163.com获取采购文件,并于8月16日前在石家庄市跃进路 3 号天元商务大厦 12 楼会议室递交响应文件。
18.通化市东昌区卫生健康局通化市东昌区提升医疗卫生服务能力项目公开招标公告
标签:#口腔
通化市东昌区卫生健康局采购1批口腔设备,供应商应在8月14日前在通化市公共资源交易中心网站获取招标文件,并于8月28日前在通化市公共资源交易中心(通化市政府采购中心)4号开标室提交投标文件。
本文内容来源于网络资料,由【口腔器械知识站】整理