
金融虎讯 11月6日消息,近日,阳光保险集团旗下惠金所运营的P2P平台惠优贷宣布,基于贵州省地方金融监管部门的部署和要求,贵州阳光信息科技有限公司已于2020年10月15日完成对全部存量出借人持有项目的提前兑付,顺利实现网贷业务的良性清退,即日起全面终止网贷业务。惠优贷表示,在清退过程中,公司对存量出借人持有的项目,按本金及对应的持有期收益的100%进行了兑付。

据官网介绍,贵州阳光信息科技有限公司为北京中关村融汇金融信息服务有限公司全资子公司,是专注于提供网络借贷中介信息服务的平台,平台名称为“惠优贷”。2017年注册成立,注册资本金1亿元。
运营数据显示,截至2020年10月31日,惠优贷借贷余额为5386.4万余元,利息余额393.3万余元,借贷余额笔数5,464笔,涉及当前借款人5,463人。需要指出的是,该平台当前出借人数量仅剩下1名。

在惠金所官网LOGO上,阳光保险集团旗下成员企业的 标属 十分醒目。公开资料显示,惠金所重点业务领域包括资产管理、财富管理、普惠金融等。
天眼查APP显示,惠金所运营方北京中关村融汇金融信息服务有限公司成立于2015年4月2日,注册资本2.5亿人民币,法人代表为阎桉。股东方面,华融国际信托旗下北京长盛安盈投资中心(有限合伙)持股57.28%、阳光保险集团旗下阳光资产管理股份有限公司持股26%,华鑫国际信托旗下北京普惠博信股权投资管理中心(有限合伙)持股16.72%。
当前,北京中关村融汇金融信息服务有限公司对外控股有16家公司,业务包括普惠金融、阳光家庭综合保险、中关惠资产、不良资产处置、融资担保等。此外,其还在广州惠金小额*款贷**有限公司中持股11%。
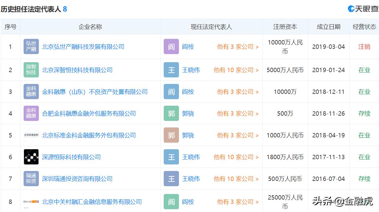
值得一提的是,去年底,业内曝出网贷平台小油菜已于11月5号宣布暂停兑付,该平台实控人张宇锋曾在惠金所母公司任职,且在其旗下多家子公司担任法人。张宇锋通过北京网聚空间股权投资中心(有限合伙)控股聚融天下。金融虎注意到,当前在工商纪录上,张宇锋已退出惠金所母公司关联职务。其中,去年12月25日,张宇锋卸任北京弘世产融科技发展有限公司法人,随后该公司注销。今年1月3日,张宇锋卸任金科融惠(山东)不良资产处置有限公司法人。这两家公司法人均由阎桉接任。

据了解,小油菜当前正在推进兑付退出进程,平台披露的工作动态显示,截止2020年11月6日,其确权方案数据表明,确权金额为3.34亿元,占比为89%。