
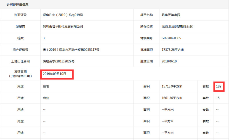
9月10日取得预售资格,9月13日火速开盘,君华天第成为了龙岗为数不多9月入市的住宅新盘。从预售证上的信息可以获知,住宅套数总共为182套,有两种户型,分别是79平米和89平米,备案价约在3.8万/平米-4.1万/平米。看到此核心关键信息概括为:量少、户型只有两种,建面均不大,偏向实用,完全是面向刚需用户,那么这种主流刚需能不能买,跟着小编一睹为快。

(图片来源深圳房地产信息系统)

项目位置
龙岗中心城新生公园旁
项目产品
推79平米和89平米的3房,毛坯交付,2梯4户,70年产权年限
项目布局
项目计划分两期开发,一期君华天第,位于龙凤路与富仙路交汇处,主推建面约79-89㎡住宅,社区全两梯四户,共两栋,2.5低容积率。二期君华时代,主推建面约71-118㎡住宅。

其实小编真正知晓该项目是被其最美深圳建筑刷屏了,依靠其艺术性的外观,合理的空间布局,在500多个参评项目中脱颖而出。去看过该盘后,发现除了外在的美以外,其实还有很多隐藏的内在的“美”。


与学府为邻:仙田外国语学校-高规模学校配置
项目1公里内有仙田外国语学校,这是一所怎样的学校呢,仙田外国语学校作为2019年龙岗区新创建的九年一贯制公办学校,也是《龙岗区义务教育学校建设标准提升指引》正式印发后全区第一个按照文件要求高标准、严要求设计与建设的学校。而这高标准则体现在硬件的设施的关怀上,例如有恒温泳池,无论冬天和夏天均可游泳;有学校自己的饭堂,学生的午餐终于可以免加热;有化学等科学实验室,从小就培养学生的主观能动性;还有额外的小语种特色教学,作为孩子课外的兴趣班。近期深圳特区报(*党**报)报道的5所高品质公办名校,仙田外国语学校名列其中。目前9月已经开学。

(图为仙田外国语学校实景图)
舒逸纯居,低密华宅
该项目的容积率为2.5,在一些城市允许横向扩张时,深圳无牌可打,只有羡慕的份儿,能做的就是纵向扩容,把电梯越修越高,而这也会趋向容积率的提高,深圳未来90%的住宅的容积率会大于3,所以2.5是一个比较舒适居住的值,再加上项目向上空间楼层并不高(只有25层),加上比较低的梯户比(2梯4户),会提高整体的舒适度。除此之外家门口约4万㎡新生公园相伴,龙园公园、香沙公园、八仙岭公园及清林径公园环绕,随时感受鲜氧与绿意,品味生活的点滴。整体的项目的架构体系组合都告诉我们,居住舒适度比较高。

超1000万平米的城市更新,区域规划可期
从整个区域来看,龙岗中心城是东部轴心的占位。区域内汇集超1000万平米的城市更新项目,碧桂园、颐安、天安等多个品牌房地产开发商进驻,其实多开发商的进驻就已经说明了一个问题:区域被看好,毕竟开发商前期是做了充足的调研,若无潜力可寻,是不会入驻的。区域发展潜力巨大,周边还有众多的住宅小区、40多万平米集中商业规划在建。建成后,片区将新增容纳超过3万高素质人才,未来居住环境也将焕然一新。

配套完善,满足日常生活所需
多维交通 通达全城
双地铁:3号线东延段(建设中)、21号线(规划中)“新生站”地铁口(距离项目直线距离900米)

(3号线延线示意图)
三高速 :
东部过境高速(建设中):通车后将缩短到到达宝安中心区机场的时间
外环高速(建设中):全场约32.4公里,2020年竣工,缩短到达罗湖中心区的时间
水官高速:项目通过盐龙大道经过水官高速无红绿灯可抵达市区。
商圈璀璨:
附近有规划中10万㎡龙园多元商业mall、10万㎡今日中心商业,更有醇熟商圈万科广场10万㎡购物中心、大运中心8万㎡cocopark ,能够完全的满足日常的生活所需。

(区域分布图)

户户朝南,空间使用紧凑
整个户型给人的感觉就是比较充实,功能间的空间的使用比较紧凑,阳台有足够的空间,卧室不显小,看完一圈会感叹应该不止这么大吧。除此之外户户朝南,会比较通透,站在阳台上就会显得很释然,其次79平的户型是一个可改造户型,可以拆成3房,神奇的是拆成3房后房间也不会显小,该可改造房间位于厨房后方。而89平相对79平大在于主卧的卫生间,住在主卧拥有这间卫生间,才会有感知到这的确是主人房。户型是小编比较喜欢的,空间明亮通透,主要还不显小。
79平的2+1室2厅1卫1厨
户型特点
户型方正,户户朝南,餐客一体,整体的空间利用很紧凑
户型

样板间



89平的3室2厅2卫1厨
户型特点
南北通透,3米7的长的大阳台,能看到独特的景色,主卧的卧室相对比较大,居住舒适度比较高
户型

样板间



该区域还是有其它一些类似的新盘,像桑泰·龙樾,像朗泓龙园大观,可以做一个简单的对比,可能从价格上来说桑泰会有价格上的优势,朗泓龙园大观则有其体量大,商业配套更完善等优势。但是反观君华天第,低梯户比下的低容积率,使得整体的居住舒适度高,户户朝南的紧凑户型设计也让人陶醉于其中(反正小编是很喜欢),有规划红利,配套也完善,1公里内还有第一个按照文件要求高标准、严要求设计与建设的学校,日后孩子上学也放心。所以该项目不仅外在“美”,内在也实属兼修。货量如此少,有意愿的用户可以先到现场实地了解。
免责声明:文中距离数据来源于百度地图。文中地铁信息均来源于深圳地铁官网。文中房源信息采集于2019年9月20日,实际信息可能有变动,请以销售现场为主。因时间、市场、政策等会发生变化,以上信息仅供参考,不作交易依据使用
内容编辑:智东