在接受了新型个体化免疫疗法后, 3名 患者肿瘤显著缩小,其中2名患者在 6 个月和 10 个月内获得了部分缓解。1名已经出现肝脏、淋巴结和纵隔转移的非常幸运的晚期患者肿瘤 持续完全消退长达10年 ,重新回到正常生活!
从生命仅剩3个月到10年无癌!个性化免疫疗法创下生存“奇迹
当朱迪·珀金斯 (Judy Perkins)被告知将死于无法治愈的癌症时,一种革命性的治疗方法挽救了她,如今她无比振奋的宣布自己无癌10年,可以看着儿子们长大,幸福的在一起旅行和滑雪。

2003 年,家住佛罗里达州的结构工程师朱迪·珀金斯(Judy Perkins),确诊为早期乳腺导管原位癌,她切除了整个乳房及腋下所有的淋巴结。手术后朱迪几乎痊愈了,她以为自己早已远离了死神。
没想到十年后,2013年,她的癌症复发了,而这一次,是转移性的,也就是第 4 期。发现的时候已经转移到胸骨,胸壁,心包附近以及肝脏。最终,医生告诉她,这是IV期激素受体阳性,HER2阴性乳腺癌,预期寿命只有3年。

在无数次化疗和激素疗法失败后,Judy长出了“一堆”肿瘤,癌细胞经扩散至各个部位,甚至连肝脏都长了网球那么大的肿瘤。医生告诉她最多还有 3个月 可活。这是第一次,她感觉自己和死神的距离这么近。
2015年7月,Judy看到美国国家癌症研究所(NCI)正在测试一种全新的过继细胞免疫疗法,这是一种使用肿瘤浸润淋巴细胞(TIL)来靶向实体瘤患者中的特定肿瘤细胞突变,包括结肠直肠癌,卵巢癌/子宫内膜癌,胶质母细胞瘤,胰腺癌和乳腺癌等的新型细胞免疫疗法。
她抱着最后的一线希望找到了的外科主任和免疫治疗领域的先驱 Steven Rosenberg 博士。在和Rosenberg博士交流后,了解到这种实验性治疗在治疗癌症方面的成功率很低 - 仅约14% - 而且在乳腺癌之前甚至没有尝试过。她决定放手尝试,与死神做最后一博!
Steven Rosenberg 博士说,“ Judy 是第一批新疗法的实验者,我们通过仔细观察(她)身体的免疫细胞,可以识别出精准*伤杀**她的肿瘤细胞的特异性免疫细胞,通过在实验室中培养出数量巨大的免疫军团,可能使癌症完全消退。 ”
Rosenberg博士先对肿瘤进行了测序,并在Judy的乳腺癌细胞里找到了 62种 不同的突变。
2015年8月,研究人员从她的肿瘤里寻找肿瘤浸润性免疫细胞,这类免疫细胞能够精准识别*伤杀**肿瘤细胞,这些珍贵的细胞在实验室进行大量扩增。
2015年12月,当800亿个免疫细胞被输入Judy体内后,奇迹出现了。
几天内,她已经感觉自己的身体起了明显的变化。
比如长在胸部的肿瘤,感觉逐渐缩小。
又过了一两周,胸腔内的肿瘤完全消失了!
2016年5月,也就是她接受治疗 5个月 后,扫描结果显示肿瘤全部消失,她 没有癌症 了!Rosenberg教授看着影像兴奋的说,这简直是个 “奇迹” 。

她的经典案例也登上了顶级期刊 《Nature》 上。
如今她已经成功抗癌10年,并且成为全国乳腺癌联盟的倡导者,鼓励更多病友战胜癌症!
50%患者病灶显著缩小!乳腺癌迎来个体化免疫疗法!
故事远远没有结束。Judy参加的这项由美国国家癌症研究所(NCI)Rosenberg教授团队牵头的临床实验,受益者不止她一个!
2022 年 2 月 1 日,美国癌症癌症研究所的这项利用患者自身肿瘤浸润淋巴细胞(TIL)靶向乳腺癌的免疫疗法2 期研究数据发表在国际重磅肿瘤学期刊 《临床肿瘤学杂志》 上,引起轰动。

在这项对 42 名患有转移性乳腺癌的女性进行的临床试验中,28 名(或 67%)的癌症产生了免疫反应。在适合该疗法的8名患者中,最终有 6名 患者接受了TILs疗法联合 pembrolizumab(≤ 4 剂)治疗,其中一半患者的肿瘤缩小达到客观缓解,包括1名完全缓解,原文链接:5个月肿瘤全部消失!新型免疫疗法创造10年无癌"奇迹",还有2名女性在 6 个月和 10 个月后肿瘤缩小分别为 52% 和 69% 。

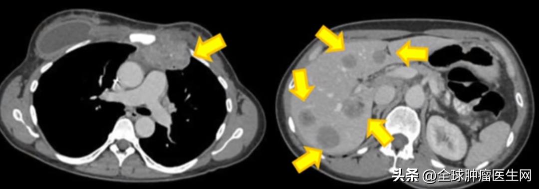
患者 4355 TIL 治疗后转移沉积物的消退,左乳房广泛的皮肤损伤已消退。左锁骨上病变(红色圆圈)的消退。患者 4343 原发右乳病变的消退。患者 4331 转移性乳腺癌完全持久消退,评效:CR,完全响应。
NCI 中心外科主任Steven A. Rosenberg 教授说:“ 激素受体阳性的乳腺癌不能引起免疫反应,也不易接受免疫治疗,这是目前的困境。新的研究结果表明,这种形式的免疫疗法可用于治疗一些已经用尽所有其他治疗方案的转移性乳腺癌患者。 ”
试验中使用的免疫治疗方法是 1980 年代后期由Rosenberg博士的团队开创的。它依赖于 TIL,即在肿瘤内部和周围发现的 T 细胞。
全球首款实体瘤TIL疗法上市在即!
除了乳腺癌领域的卓越数据,更好的消息是,这款让病友们苦苦等待多年的免疫疗法“新宠”即将上市!有望成为攻克实体瘤的一把利剑,给无数晚期癌症患者带来新的曙光。
2023年5月30日,美国Iovance生物公司重磅官宣,美国食品和药物管理局(FDA) 接受了大名鼎鼎的 TIL疗法-- lifileucel(LN-144) 的生物制品许可申请(BLA),并授予 lifileucel 优先审评 权,用于 免疫检查点*制剂抑**和靶向治疗期间或之后进展的晚期黑色素瘤患者 ,将 2023 年 11 月 25 日 作为最终决定的目标行动日期。这意味着一旦2023年底顺利获批,这将是 全球首款上市的TIL疗法,将为实体瘤治疗开启新纪元,具有里程碑式意义 !

好消息!实体瘤“克星”TIL疗法已登陆中国,国内患者可申请!
TIL疗法除了在黑色素瘤治疗中取得了卓越的数据,这款新型的免疫疗法在国际各大肿瘤学会议上公布的 肺癌、乳腺癌、结直肠癌、宫颈癌、胆管癌、头颈部肿瘤 等多种实体肿瘤临床试验数据也璀璨夺目,振奋人心!
需要告诉国内病友的好消息是,近两年,中国的研究人员也研发出多种新型TIL疗法,救命新疗法不再遥不可及!
据全球肿瘤医生网医学部了解,国内的TILs疗法是在美国的肿瘤浸润淋巴细胞(TIL)疗法基础上经过改良,提升其克服肿瘤微环境和增加自我扩增的能力,在前期的概念验证临床研究中已取得了非常积极的疗效和安全性验证, 目前已获得批准正式开展人体临床试验 ,包括以下实体肿瘤类型 :肺癌,,宫颈癌,头颈部肿瘤、黑色素瘤、胆道肿瘤等实体肿瘤 。想寻求TILs及其他国内外新抗癌治疗帮助,且经济条件允许的情况下,患者可以先将病历提交至全球肿瘤医生网医学部进行初步评估。
随着更多治疗方案的发展,晚期肿瘤患者将迎来更多治疗选择和希望,我们期待人类攻克癌症的那一天早日到来。
参考资料:
Nikolaos Zacharakis , Lutfi M. Huq ,et al:Breast Cancers Are Immunogenic: Immunologic Analyses and a Phase II Pilot Clinical Trial Using Mutation-Reactive Autologous Lymphocytes.DOI: 10.1200/JCO.21.02170 Journal of Clinical Oncology 40, no. 16 (June 01, 2022) 1741-1754.
本文为全球肿瘤医生网原创,未经授权严禁转载