
编辑/阿芷

前言
在增压柴油机的主要噪声源中,除柴油机的机械噪声、燃烧噪声外,涡轮增压器引起的噪声也不容忽视。

涡轮增压器是利用柴油机排出的废气驱动增压器转轴一端的涡轮叶轮,带动转轴另一端的压气叶轮高速旋转,使进入缸内的空气压力提高,密度增加,喷入气缸内的柴油充分燃烧,从而提高功率、降低油耗,同时减少排气污染。

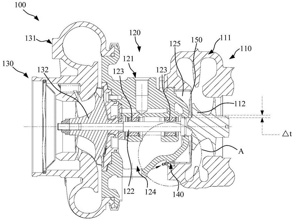
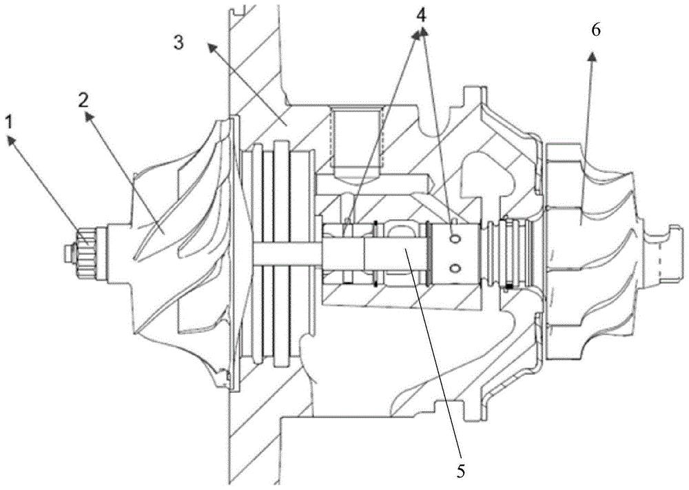
涡轮增压器是增压发动机的关键部件, 由涡轮机、中间体、压气机3大部件组成。
涡轮增压器工作过程中产生的噪声主要是空气动力噪声和壳体因结构振动而向外辐射的噪声。

由于涡轮增压器内部气体流动的复杂性和非定常性,很难获得流场的具体信息,这导致 涡轮增压器在空气动力学和气动声学方面的研究进展得较缓慢。

本文开展了 某船用大功率增压器噪声机理及性能的试验研究 ,为控制增压器噪声的研究提供了基础。

研究表明, 离心式增压器噪声主要由内部产生的气动噪声和涡壳结构辐射噪声组成,气动噪声主要包括电锯噪声、叶片通过频率发生的谐次噪声和叶尖间隙噪声。

增压器噪声机理
在叶片超音速的情况下,增压器转子引起的压力场由若干在叶片上游扩散的冲击波和膨胀波构成,冲击波的位置位于或接近叶片的进口,在垂直于冲击波的方向压力波呈锯齿形,称为电锯噪声。

电锯噪声为均匀稳定的离散噪声而且锯齿波形状规则,则相对于进气流场,所有的冲击都会以不受干扰的声速向叶轮的上游传播。
压气机叶片会引起压气机内部气流产生周期性变化的速度场,其压力脉动及由此引起的气动噪声也是周期性的。

这种周期性信号产生的噪声为均匀稳定的离散噪声,也称为 叶片通过频率及其谐次噪声 。
转子的转速越高时,BPF及其谐次成分在频谱上越明显。

旋转叶片叶尖部位的不稳定流动会造成压气机壳与叶尖间隙中的不稳定流动,其流动受到叶片压力面和吸力面之间压差的影响,在每个叶片的叶尖部位形成湍流或涡流。

这种发生在叶尖的噪声称为叶尖间隙噪声(TCN),其频率特性与非稳态的压气机叶尖间隙流场密切相关,呈四极源辐射特性,通常在转子速度较低时出现。
TCN为窄带噪声,峰值频率约为BPF的一半,强度可能会高于BPF噪声,从而成为最主要的噪声成分。

只有当叶尖间隙比相对较大,并且叶片压力面和吸力面之间的压差足够大,即实际流量小于等于设计流量时,叶尖间隙噪声成分才表现得比较明显。

同时,叶片旋转的不稳定性也是产生叶尖间隙噪声的必要条件。叶尖间隙越小,TCN也会越小。 达到一定的转速时,TCN逐步消失 。

增压器噪声性能试验方法
某型带有分流叶片压气叶轮的增压器,其标定转速为32000r/min,压气机主叶片及分流叶片各10片,涡轮机叶片45片。
在增压器试车台进行满足自由场工程法噪声测试条件的试验。增压器底部为刚性安装,涡轮机、压气机进排气管道均为不锈钢波纹管弹性安装。

由柴油燃烧器产生一定温度和压力(参数可调节)的废气,通过管道传输后驱动增压器涡轮机,模拟增压器实际工作状态。
压气机不安装消声器时,进气管道入口设置在试车台隔离墙面外,以便分别研究压气机入口气动噪声和增压器涡壳噪声特性。

振动噪声分析系统采用具有160dB信号动态分析范围的丹麦B&K3160数据采集器、B&K4189智能型传声器、B&K4231传声器校准器、B&K4513声强探头、B&K4513加速度传感器和B&KPULSE14.1信号分析软件。

该振动噪声测试分析系统满足GB3785—2010中Ⅲ型的规定,具有以下分析功能模块:基本振动噪声FFT分析模块、声学测试与噪声源识别模块、阶次跟踪测试分析模块、声学材料性能测试分析模块及模态分析模块。

其频谱主要由窄带叶尖间隙噪声TCN和离散的叶频BPF及其谐次成分组成,能量分布在1~8kHz较宽频率范围内。

在压气机低转速时,TCN分布在0.7~3.5kHz较宽的频率范围内,峰值与BPF噪声峰值接近,峰值频率接近BPF的一半,但是由于其带宽比BPF噪声宽得多,因而包含了较多的噪声能量。

随着转速的上升,在32000r/min时,TCN分布频率变窄,主要在2.5kHz附近,峰值超过BPF噪声峰值。
总体上, BPF及其谐次噪声随着阶数的增加而衰减 ,转速越高,衰减越快,在32000r/min时的衰减量达到10dB左右。此时高阶谐波分量对总噪声的影响可以忽略不计。

由于压气机设计流场速度小于声速,压气机入口气动噪声频谱图中没有出现由叶片上的冲击波和膨胀波引起的电锯噪声成分。
由于不同转速下气动噪声的频谱特性不完全相同,消声器的消声量略有差异,总体上达到近20dB的声衰减量。

因此,在目前对气动噪声源头难以进行有效控制的情况下,在气动噪声的传播途径上,利用消声器对压气机进气口噪声进行吸收和衰减是对压气机进气口噪声进行控制的有效手段。

不安装消声器时,增压器转速从16000r/min增加到32000r/min,压气机进气口管道端面处的声压级从119dB(A)增加到128dB(A),增加了9dB。增压器转速提高1倍,压气机入口气动噪声增加约9dB。
安装消声器时压气机进气口增压器涡壳辐射噪声性能不同转速下距离增压器涡壳1m处的辐射噪声频谱。

噪声峰值集中在3kHz以内,主要由TCN和转子轴频及其谐次引起的增压器涡壳的结构振动辐射噪声组成,噪声频谱特征由TCN引起的窄带辐射噪声成分和转子振动引起的离散辐射噪声成分叠加而成,离散噪声比窄带噪声高5~15dB。
在增压器低速运行时,由转子轴频与倍频振动引起的噪声幅值高于窄带噪声幅值。

随着增压器转速的提高,所有频率下的噪声均增大。在增压器高速运行时,由转子轴频及其谐次振动引起的噪声幅值低于窄带噪声幅值。
由于TCN窄带噪声的频率范围比离散成分宽,峰值频率接近BPF的一半,其合成能量对总噪声会有较大的贡献。

在增压器转子所在水平面距离涡壳表面1m处均布6个测点,测得不同转速下距离增压器涡壳表面1m处不同频率的平均声压级。
增压器涡壳辐射噪声的能量分布在1~8kHz较宽频率范围内,随着运行转速的增加,辐射噪声显著提高。

依据距离增压器涡壳表面1m处的平均声压级,得到不同转速下增压器辐射声功率级。
转速从16000r/min增加到32000r/min时,增压器噪声的声功率与转速近似呈线性增加,从105.6dB(A)增加到124.2dB(A),转速提高1倍,增压器噪声的声功率增加近20dB。

增压器总噪声指涡壳辐射噪声与安装消声器时的进气气动噪声之和,比涡壳辐射噪声高出1dB左右,说明安装消声器衰减后的进气气动噪声略低于涡壳辐射噪声,两者大小相当。

由此可见,增压器噪声的控制应同时关注涡壳辐射噪声和压气机入口气动噪声,通过优化气动元器件的结构设计,控制转速提高引起的压气机内部流场速度的增加及压力的波动,减少内部气动噪声源并加强振动噪声传递途径的衰减。

增压器噪声声强识别
声强云图试验主要用于近场噪声源识别和定位,可提供声能量在声场上的幅值与方向等信息,在进行增压器声强测量时,可减小测试环境对测试结果的影响,提高测量结果的准确性,准确识别压气机、涡轮机涡壳辐射噪声和消声器入口气动噪声特性。

取增压器涡壳表面0.2m处的近场作为测量表面,在垂直面内选取10行10列共100个测点进行声强云图试验。
增压器近场测试平面的噪声在转子2倍轴频(γ=2)处最强,其次在转子轴频(γ=1)处,然后在转子3倍轴频(γ=3)处,随着转子轴频谐波次数的增加,声功率逐渐下降。

在增压器转子轴频处,压气机涡壳及消声器表面辐射的声强较高,噪声主要来源于压气机涡壳表面声辐射及消声器进气噪声。
在转子2倍轴频处,噪声主要来源于压气机涡壳表面辐射噪声。在转子3倍轴频处,噪声主要来源于涡轮机涡壳表面辐射噪声。在转子4倍轴频处,噪声主要来源于压气机、涡轮机涡壳表面辐射噪声。

在压气机转子叶频处,噪声同时来源于压气机涡壳表面辐射和消声器辐射噪声。

结论
(1)压气机入口气动噪声频谱主要由窄带的叶尖间隙噪声TCN和离散的叶频BPF及其谐次成分组成,能量主要集中在1~8kHz的较宽频率范围内,增压器转速提高1倍,压气机入口气动噪声增加约9dB。

增压器消声量总体上达到近20dB的声衰减量,因此利用消声器对压气机进气口噪声进行吸收和衰减是对压气机气动噪声在传播途径上进行控制的有效手段。

(2)增压器涡壳辐射噪声峰值集中在3kHz以内,噪声频谱特征主要由TCN引起的窄带辐射噪声成分和转子振动引起的离散辐射噪声成分叠加而成,TCN窄带噪声的频率范围比离散成分宽,峰值频率接近BPF的一半,合成能量对总噪声有较大的贡献。

(3)增压器辐射噪声的声功率与转速近似成正比,增压器转速提高1倍,涡壳辐射噪声增加近20dB。
(4)声强云图试验可用于对增压器近场噪声源的识别和定位,可较准确地识别压气机、涡轮机涡壳辐射噪声和消声器入口气动噪声特性。

参考文献:
[1]袁小勇.电子海图无缝拼接显示技术研究[D].西安:西安电子科技大学,2007.
[2]李宏利.电子海图数据国际标准研究[M].大连:海潮出版社,2005.
[3]李兴锋.基于S-57国际标准的电子海图显示与导航系统[D].西安:西安电子科技大学,2007.
[4]周维民.电子海图数据集成技术研究及应用[D].哈尔滨:哈尔滨工程大学,2009.
[5]周龙保,高宗英.内燃机学[M].北京:机械工业出版社,2005.