奇瑞的油门踏板振动和蜂鸣声到底怎么回事,应该怎么解决?
虽然奇瑞已经在积极地解决这两个问题了,但是市场上仍然200多个车主抱怨,按照瑞虎8目前的销量,这个pph值其实不到1%,这在行业内是很小的比例了,一般超过了1%,但是问题它总归就是问题,就算一个人抱怨,也需要解决。所以我去请教了资深的NVH工程师凯哥,把问题的原因分析和解决方案总结了一下分上下两个视频分享给大家。先说下油门踏板振动,现象是行驶中1400转到1700转会出现油门踏板振动麻脚,刹车踏板加了400g配重块之后,大部分车辆已经得到解决,但仍有些车转移到了1500转继续振动。

为什么会出现这种情况呢,主要是因为油门踏板与刹车踏板被发动机点火频率激振。油门踏板在不同开度时固有频率不同,所以表现为1400-1700转振动,大概46.6hz-56.7hz(注释:46.6=1400/60*2 56.7=1700/60*2。2表示发动机的二阶振动)均表现出振动。不同人踩油门力度不同,油门踏板在不同的开度位置,表现的固有频率不同,所以不是固定转速才共振,而是一个范围。在制动踏板后侧加质量块,可以减弱振动。因制动踏板是悬臂结构,

加在踏板中心可有效利用质量效应,质量大的物体不容易振动,质量变大的物体固有频率会降低,可最大程度减小振动。但是单纯在制动踏板后加质量块无法全部解决共振,说明了制动踏板和油门踏板的支架振动是根本原因。需要加强双踏支架与前围防火墙接触处的刚度才能彻底解决问题。这里给出两个增加刚度的方案,第一个是增加双踏支架与防火墙的连接点数量。双踏板支架与防火墙连接处非平面,连接点数量少可能造成非完全约束,振动容易传递,或者加强安装面强度。第二个呢就是双踏板支架与防火墙的连接螺母加粗。一方面可以防止螺母焊歪导致一致性问题,另一方面螺母加粗有助于提高刚度,降低振动传递。某厂商曾经使用以上两个方案迅速解决了踏板共振的市场问题。


再接着说第二个问题蜂鸣声,其实这个线控制动onebox蜂鸣声不是奇瑞特有的,基本上市场上采用了线控制动的车辆都有,比如宝马,路虎等等,你们可以仔细去听一下,因为他们隔音做的更好,只有仔细听才能听见。所以奇瑞目前给车主的方案同样是加强隔音层,如果你做了效果不好那说明操作方面有问题,建议4S店再次施工。

那为什么会发出这种声音呢,主要还是因为里面的电磁阀造成的。这个电磁阀是调节制动压力的。这个阀虽小,但是内部结构很复杂
一.现象:原地踩制动踏板会有高频蜂鸣声
二.原因:电磁阀发出高频蜂鸣音
三.原因分析:驾驶员踩下制动踏板01后,踏板传感器022将信号传送到电子控制单元中,电子控制单元驱动电机06和液压泵05工作,制动液经常闭电磁阀10流入制动主缸02的Ⅲ腔内,推动踏板活塞杆021实现助力;与此同时,制动液压经常开电磁阀08和制动主缸02的Ⅰ腔和Ⅱ腔流入到ABS/ESC单元C中的MC口,进入制动器内;通过控制调压阀07的阀口开度来精确调压,获得所需的理想制动压力。 (油压助力制动系统及其控制方法-芜湖伯特利专利)

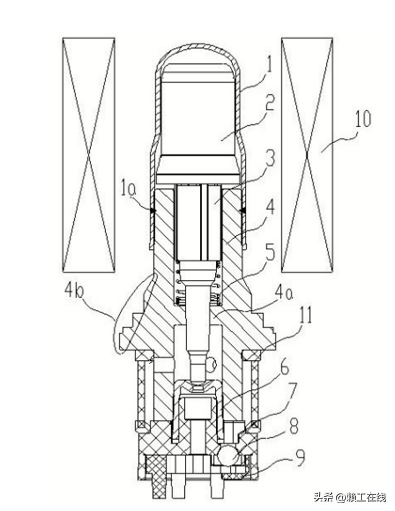
电磁阀的工作原理:
电磁阀包括有阀套1,所述阀套1内设置有动芯2,动芯2底部连接有阀杆3,阀杆3设置有带有内孔的阀基体4,阀杆3位于阀基体4的内孔内;阀杆3底部设置有镶嵌座6,镶嵌座6底部设置有阀座7,阀座7内设置有阀球8,阀座7底部设置有阀底座9;所述阀套1外套有线圈10;所述阀基体4下部从上到下分布有台阶法兰外圆4b,台阶法兰外圆4b与线圈10底端配合;阀基体4内孔中设置有一个内台阶部4a,阀基体4内孔位于内台阶部4a上方设置有弹簧5,弹簧5套在阀杆3外;所述动芯2在被线圈10磁化后产生运动,从而压动阀杆3与镶嵌座6形成密封副,实现两位两通电磁阀的功能。所述阀底座9设有滤网,用于过滤通道油液带来的不清洁颗粒,防止堵塞密封副。所述阀球8与阀座7之间有密封副关系,二者在一起形成一个单向阀。 (一种增压电磁阀-芜湖伯特利专利)

高频蜂鸣声的可能来源有两个:
,你们看一下。那这个蜂鸣声是怎么产生的呢?两种原因,电磁阀以一定占空比的通电频率打开,需要在0点几毫秒做出反应,电磁阀的开启和关闭会带来高频声,第二上图中阀杆3和镶嵌座6,阀球7和阀座8都是密封副关系,因为整个onebox里,高压油液流动很快,如果密封处出现小缝隙,当高压油液流经小缝隙时会产生高频的声音。目前奇瑞的蜂鸣声频率在1万hz,所以很多人是无法听见的,特别是年龄超过40的人群。这个问题该怎么解决呢:第一个前面说过了,增强隔音,方案有两种,第一种就是奇瑞采用的,前围隔音垫上的开口密封处增加阻尼板,进行密封隔声,

第二种呢,就是onebox外围包裹隔音罩,一层eva(橡胶材料)加一层pu发泡,和压缩机这种方案类似,如果考虑散热,可以增加支架让隔音罩不要贴着onebox。

还有第三种,可能难度和成本都会比较高,但是能够彻底解决掉,那就是提高电磁阀的发声频率,从10000hz提高20000hz,这样做的目的就是让声音超越人的听觉,做到人耳无法听到。具体怎么做呢?方法1:改变通电频率的占空比,不一定能实现,方法2:使用多柱塞油泵。制动过程中,通过马达旋转将制动液被压入泵里后,油压会发生相应的改变,并产生波动,从而形成噪声源。油压主要通过泵进行液流控制,控制源头主要受泵的大小和多少决定。

减小噪声源的方式是尽量减少油压波动,当回路中泵的活塞越多时,其压力波动的频率越大,各波动频段的幅度值反而变小,噪声也越小,所以通过增加更多的活塞是可以减小压力波动的从而解决蜂鸣声问题。

以上的方案供奇瑞参考,当然我对奇瑞的NVH工程师还是比较有信心的,虽然他们的动作一直很慢,但是一定会彻底解决这些问题的,最近应该会有结果出来了。但是还是那句话,错了就得认,前期开发包括车辆下线动态检测过程中为什么没有发现并且解决掉这两个问题呢?希望奇瑞能深刻反省并总结经验教训。
谢谢大家。